TOP
|
特許
|
意匠
|
商標
特許ウォッチ
Twitter
他の特許を見る
公開番号
2025096867
公報種別
公開特許公報(A)
公開日
2025-06-30
出願番号
2023212830
出願日
2023-12-18
発明の名称
微生物、植物成長補助剤、及び植物の生育方法
出願人
国立大学法人 筑波大学
,
独立行政法人エネルギー・金属鉱物資源機構
代理人
個人
,
個人
,
個人
,
個人
,
個人
主分類
C12N
1/14 20060101AFI20250623BHJP(生化学;ビール;酒精;ぶどう酒;酢;微生物学;酵素学;突然変異または遺伝子工学)
要約
【課題】金属含有土壌に生育する植物に資する微生物、植物成長補助剤、及び植物の生育方法を提供することができる。
【解決手段】[1]金属含有土壌における植物の根に定着し、その生育を助ける微生物であって、Pezicula sp.に分類される、微生物。[1]に記載の微生物が担体に担持されてなる、植物成長補助剤。[3][1]に記載の微生物或いは[2]に記載の植物成長補助剤を、植物のストレス原因となる金属を含有する土壌に生育する植物の根部又は根部周辺に投与する、植物の生育方法。
【選択図】なし
特許請求の範囲
【請求項1】
金属含有土壌における植物の根に定着し、その生育を助ける微生物であって、
Pezicula sp.に分類される、微生物。
続きを表示(約 320 文字)
【請求項2】
前記Pezicula sp.は、JN89株(受託番号:NITE P-03951)である、請求項1に記載の微生物。
【請求項3】
請求項2に記載の微生物が担体に担持されてなる、植物成長補助剤。
【請求項4】
前記担体がアルギン酸ゲルカプセルである、請求項3に記載の植物成長補助剤。
【請求項5】
請求項1又は2に記載の微生物或いは請求項3又は4に記載の植物成長補助剤を、植物のストレス原因となる金属を含有する土壌に生育する植物の根部又は根部周辺に投与する、植物の生育方法。
【請求項6】
前記植物が、ヤナギ科の植物である、請求項5に記載の植物の生育方法。
発明の詳細な説明
【技術分野】
【0001】
本発明は、植物のストレス原因となる金属を含有する土壌(以下、金属含有土壌)に生育する植物に資する微生物、植物成長補助剤、及び植物の生育方法に関する。
続きを表示(約 2,200 文字)
【背景技術】
【0002】
鉱山開発、トンネル掘削、自然の火山活動等によって、高濃度の金属が土壌に含まれることがある。土壌中の金属濃度が高いと植物の生長を阻害し、植生回復が阻害される問題がある。例えば、特許文献1では、一般的な圃場から単離した細菌を植物根部に投与することで、ナス科、イネ科、マメ科等の食用植物体中の重金属含量の低減を図り、重金属の経口摂取量を低減することが提案されている。
【先行技術文献】
【特許文献】
【0003】
再公表WO2009/145074号公報
【発明の概要】
【発明が解決しようとする課題】
【0004】
しかしながら、鉱山跡地のような森林が荒廃した土地に、微生物を用いて植物の定着を促進するような技術は確立されていない。圃場のような一般的な土壌に比べて、金属含有土壌には過剰な金属に対して耐性を持ち、さらに自生植物と共生関係にある多様な微生物が存在する。そこで、特許文献1に開示される蔬菜類の重金属吸収に関与した細菌ではなく、樹木や草本等の自生植物の金属耐性を高める微生物の提供が望まれている。
本発明は、金属含有土壌に生育する植物に資する微生物、植物成長補助剤、及び植物の生育方法を提供する。
【課題を解決するための手段】
【0005】
[1] 金属含有土壌における植物の根に定着し、その生育を助ける微生物であって、Pezicula sp.に分類される、微生物。
[2] 前記Pezicula sp.は、JN89株(受託番号:NITE P-03951)である、[1]に記載の微生物。
[3] [1]又は[2]に記載の微生物が担体に担持されてなる、植物成長補助剤。
[4] 前記担体がアルギン酸ゲルカプセルである、[3]に記載の植物成長補助剤。
[5] [1]若しくは[2]に記載の微生物又は[3]若しくは[4]に記載の植物成長補助剤を、植物のストレス原因となる金属を含有する土壌に生育する植物の根部又は根部周辺に投与する、植物の生育方法。
[6] 前記植物が、ヤナギ科の植物である、[5]に記載の植物の生育方法。
【発明の効果】
【0006】
本発明によれば、金属含有土壌に生育する植物に資する微生物、植物成長補助剤、及び植物の生育方法を提供することができる。
【図面の簡単な説明】
【0007】
ミヤマヤナギの移植実験を行った移植サイトの概要を示す図である。
移植したミヤマヤナギの生長後の根の様子を示す図である。(a)はコントロールカプセル接種区の根であり、(b)はJN89内包アルギン酸ゲルカプセル接種区の根である。
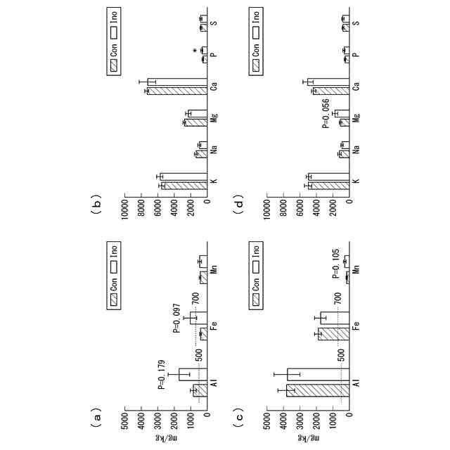
移植したミヤマヤナギに含まれる元素分析の結果である。(a)は葉の含有Al、Fe、Mn濃度であり、(b)は葉の栄養元素濃度であり、(c)は根の含有Al、Fe、Mn濃度であり、(d)は根の栄養元素濃度である。平均値±SE(Con:n=9、Ino:n=8)で示した。処理間のデータをStudent t-test(*;P<0.05)で検定した。図中の500、700で示した数値バーは、一般的な植物に含有される各元素の最大値(Larcher, 2004、植物生態生理学. 佐伯敏郎, 舘野正樹 監訳, シュプリンガー・フェアラーク,東京.)を示す。
移植したミヤマヤナギから再分離されたPezicula sp.の評価結果である。(a)Conはコントロールカプセル接種区の分離率であり、InoはJN89内包アルギン酸ゲルカプセル接種区の分離率である。Con、Inoともに1個体につき50切片を分離に使用し、50切片から出現したPezicula sp.の分離率を平均±SEで示した。アークサイン変換後、Student t-test(***;P<0.001)で検定した。(b)Inoの根の顕微鏡写真の一例である。矢印はPezicula sp.の感染構造であるmicrosclerotiaを指す。
【発明を実施するための形態】
【0008】
≪微生物≫
本発明の第一態様は、金属含有土壌における植物の根に定着し、その生育を助ける微生物であって、Pezicula sp.に分類される微生物である。
【0009】
本態様の微生物は、植物体内に感染する糸状菌及び細菌(内生菌)であることが望ましい。本態様の微生物は、金属イオンをキレートする作用を有する化合物、いわゆるシデロフォア(Siderophore)を産生しうるものであることが望ましい。微生物が産生したシデロフォアは、植物体に有害な金属をキレートするので、当該微生物が感染した植物の根に対する金属ストレスは軽減されると考えられる。
【0010】
Pezicula sp.は種々の植物に内生可能であり、ヤナギ科の植物の根の内生に適しており、特にミヤマヤナギの根の内生に適している。Pezicula sp.はシデロフォアを産生することが知られている。
(【0011】以降は省略されています)
この特許をJ-PlatPat(特許庁公式サイト)で参照する
関連特許
国立大学法人 筑波大学
制振機構
1か月前
国立大学法人 筑波大学
制振機構
1か月前
国立大学法人 筑波大学
制振機構
1か月前
国立大学法人 筑波大学
超音波検査装置
2か月前
国立大学法人 東京大学
せん妄判定方法
3か月前
国立大学法人 筑波大学
火災検出システム
1か月前
国立大学法人 筑波大学
火災検出システム
1か月前
国立大学法人 筑波大学
火災検出システム
1か月前
国立大学法人 筑波大学
火災検出システム
1か月前
国立大学法人 筑波大学
レオロジー測定装置
1か月前
国立大学法人 筑波大学
麹菌組織物の製造方法
2か月前
国立大学法人 筑波大学
がん抑制剤およびがん抑制用医薬
1か月前
国立大学法人 筑波大学
測定方法、測定装置、及び観察システム
3か月前
国立大学法人 筑波大学
測定装置、観察システム、及び測定方法
3か月前
NTT株式会社
復号装置及び復号方法
1か月前
国立大学法人 筑波大学
フィラグリン遺伝子型決定法およびキット
4か月前
国立大学法人 筑波大学
微生物、植物成長補助剤、及び植物の生育方法
4か月前
国立大学法人 筑波大学
オンサイト参加システム及びオンサイト参加方法
3か月前
国立大学法人 筑波大学
殺虫剤、殺虫活性を有する新規化合物及びその用途
12日前
国立大学法人 筑波大学
補正装置、撮影装置、補正方法および撮影システム
3か月前
NTT株式会社
映像処理装置、方法及びプログラム
1か月前
NTT株式会社
情報処理装置、方法およびプログラム
2か月前
NTT株式会社
推論装置、推論方法、及びプログラム
3か月前
国立大学法人 筑波大学
慣性力設定装置、慣性力設定システム及び慣性力設定方法
3か月前
NTT株式会社
データ解析装置、方法およびプログラム
2か月前
国立大学法人 筑波大学
放射線遮蔽材用焼結体粒子、その製造方法及びその使用方法
27日前
国立大学法人 筑波大学
表面検査装置
4か月前
国立大学法人 筑波大学
光学素子、光線制御装置とその製造方法、およびディスプレイ
29日前
NTT株式会社
情報処理装置、情報処理方法及びプログラム
2か月前
国立大学法人 筑波大学
反応性スパッタリング方法及び反応性スパッタリングシステム
2か月前
三菱重工業株式会社
移動体、自己位置推定方法及びプログラム
1か月前
東京エレクトロン株式会社
成膜方法、成膜装置及び半導体装置
1か月前
国立大学法人 筑波大学
会計情報解析方法、会計情報解析装置及び会計情報解析プログラム
2か月前
三菱重工業株式会社
情報処理装置、情報処理方法及びプログラム
1か月前
東洋紡株式会社
結核菌群検出用オリゴヌクレオチド及びその用途
1か月前
東洋紡株式会社
ノロウイルス検出用オリゴヌクレオチド及びその用途
1か月前
続きを見る
他の特許を見る