TOP
|
特許
|
意匠
|
商標
特許ウォッチ
Twitter
他の特許を見る
公開番号
2025164424
公報種別
公開特許公報(A)
公開日
2025-10-30
出願番号
2024068400
出願日
2024-04-19
発明の名称
スクリーニング方法
出願人
Green Carbon株式会社
代理人
弁理士法人創光国際特許事務所
主分類
C12Q
1/06 20060101AFI20251023BHJP(生化学;ビール;酒精;ぶどう酒;酢;微生物学;酵素学;突然変異または遺伝子工学)
要約
【課題】メタンの発生量を低減可能な微生物を特定する。
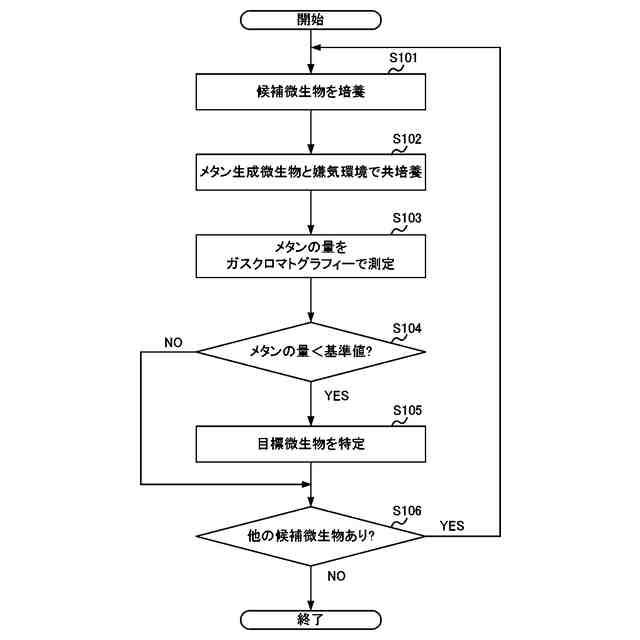
【解決手段】メタン生成微生物が生成するメタンの量を低減可能な目標微生物を特定するスクリーニング方法であって、目標微生物の候補である候補微生物を培養する第1培養ステップと、メタン生成微生物と、目標微生物の候補である候補微生物とを嫌気環境において共培養する第2培養ステップと、嫌気環境においてメタン生成微生物が生成したメタンの量を測定する測定ステップと、候補微生物との共培養中にメタン生成微生物が生成したメタンの量が基準値より小さくなる候補微生物を目標微生物として特定する特定ステップと、を有する。
【選択図】図1
特許請求の範囲
【請求項1】
メタン生成微生物が生成するメタンの量を低減可能な目標微生物を特定するスクリーニング方法であって、
前記目標微生物の候補である候補微生物を培養する第1培養ステップと、
前記メタン生成微生物と、培養した前記候補微生物とを共培養する第2培養ステップと、
前記メタン生成微生物が生成したメタンの量を測定する測定ステップと、
前記候補微生物との共培養中に前記メタン生成微生物が生成した前記メタンの量が基準値より小さくなる当該候補微生物を前記目標微生物として特定する特定ステップと、
を有するスクリーニング方法。
続きを表示(約 410 文字)
【請求項2】
前記特定ステップでは、前記候補微生物との共培養中に前記メタン生成微生物が生成した前記メタンの量が、前記候補微生物を加えない状態で前記メタン生成微生物が生成した前記メタンの量である前記基準値より小さくなる前記候補微生物を前記目標微生物として特定する、
請求項1に記載のスクリーニング方法。
【請求項3】
前記第2培養ステップでは、有機物から水素、酢酸、ギ酸又はメチル化合物を含む中間産物を生成する中間産物生成微生物と、当該中間産物から前記メタンを生成する前記メタン生成微生物と、前記候補微生物とを共培養する、
請求項1又は2に記載のスクリーニング方法。
【請求項4】
前記測定ステップでは、前記メタン生成微生物が生成したメタンガスの分圧をガスクロマトグラフィーにより前記メタンの量として測定する、
請求項1又は2に記載のスクリーニング方法。
発明の詳細な説明
【技術分野】
【0001】
本発明は、温室効果ガスに関連する微生物を特定するスクリーニング方法に関する。
続きを表示(約 1,500 文字)
【背景技術】
【0002】
微生物を用いてメタンの発生量を低減する技術が提案されている(例えば、非特許文献1)。非特許文献1には、池の堆積物から採取した複数の微生物から、培養物中のメタンの90%以上を消費した微生物を特定することが記載されている。
【先行技術文献】
【非特許文献】
【0003】
Isolation and genomic characterization of a proteobacterial methanotroph requiring lanthanides S Kato, M Takashino, K Igarashi, W KitagawaMicrobes and environments, 2020(URL: https://www.jstage.jst.go.jp/article/jsme2/35/1/35_ME19128/_pdf/)
【発明の概要】
【発明が解決しようとする課題】
【0004】
非特許文献1に記載された微生物は、メタン生成微生物が生成したメタンを消費することによりメタンの発生量を低減することが可能である。一方、メタン生成微生物がメタンを生成するために利用する有機物又は中間産物を枯渇させることによりメタンの発生量を低減するというメカニズムも考えられる。非特許文献1に記載された方法では、このようなメカニズムでメタンの発生量を低減させることが可能な微生物を特定することができないという問題があった。
【0005】
そこで、本発明はこれらの点に鑑みてなされたものであり、メタンの発生量を低減可能な微生物を特定することができるスクリーニング方法を提供することを目的とする。
【課題を解決するための手段】
【0006】
本発明の第1の態様のスクリーニング方法は、メタン生成微生物が生成するメタンの量を低減可能な目標微生物を特定するスクリーニング方法であって、前記目標微生物の候補である候補微生物を培養する第1培養ステップと、前記メタン生成微生物と、培養した前記候補微生物とを共培養する第2培養ステップと、前記メタン生成微生物が生成したメタンの量を測定する測定ステップと、前記候補微生物との共培養中に前記メタン生成微生物が生成した前記メタンの量が基準値より小さくなる当該候補微生物を前記目標微生物として特定する特定ステップと、を有する。
【0007】
前記特定ステップでは、前記候補微生物との共培養中に前記メタン生成微生物が生成した前記メタンの量が、前記候補微生物を加えない状態で前記メタン生成微生物が生成した前記メタンの量である前記基準値より小さくなる前記候補微生物を前記目標微生物として特定してもよい。
【0008】
前記第2培養ステップでは、有機物から水素、酢酸、ギ酸又はメチル化合物を含む中間産物を生成する中間産物生成微生物と、当該中間産物から前記メタンを生成する前記メタン生成微生物と、前記候補微生物とを共培養してもよい。
【0009】
前記測定ステップでは、前記メタン生成微生物が生成したメタンガスの分圧をガスクロマトグラフィーにより前記メタンの量として測定してもよい。
【発明の効果】
【0010】
本発明によれば、メタンの発生量を低減可能な微生物を特定するという効果を奏する。
【図面の簡単な説明】
(【0011】以降は省略されています)
この特許をJ-PlatPat(特許庁公式サイト)で参照する
関連特許
個人
抗遺伝子劣化装置
2か月前
個人
細胞内探査とその利用
3か月前
雪国アグリ株式会社
単糖類の製造方法
1か月前
テルモ株式会社
吐出デバイス
2か月前
日油株式会社
蛋白質安定化剤
4か月前
株式会社タクマ
バイオマス処理装置
3か月前
株式会社タクマ
バイオマス処理装置
3か月前
株式会社東洋新薬
経口組成物
3か月前
島根県
油吸着材とその製造方法
1か月前
東ソー株式会社
pH応答性マイクロキャリア
2か月前
宝酒造株式会社
アルコール飲料
1か月前
テルモ株式会社
容器蓋デバイス
2か月前
大陽日酸株式会社
培養装置
2か月前
大陽日酸株式会社
培養装置
2か月前
株式会社ファンケル
SEC12タンパク発現促進剤
4か月前
トヨタ自動車株式会社
バイオ燃料製造方法
2か月前
個人
有機フッ素化合物を分解する廃液処理法
1か月前
株式会社豊田中央研究所
細胞励起装置
1か月前
月桂冠株式会社
低プリン体清酒
23日前
株式会社カクサスバイオ
新規免疫抑制方法
8日前
株式会社シャローム
スフィンゴミエリン製造方法
2か月前
テルモ株式会社
採取組織細切補助デバイス
2か月前
株式会社今宮
瓶詰ビールの加熱殺菌方法および装置
2か月前
新東工業株式会社
培養システム
1か月前
横河電機株式会社
藻類培養装置
2か月前
株式会社村田製作所
濾過装置および濾過方法
1か月前
公立大学法人北九州市立大学
微生物の検知方法
3か月前
東ソー株式会社
免疫学的測定法
1か月前
東ソー株式会社
免疫グロブリン結合性タンパク質の製造方法
13日前
株式会社ショウワ
キトサンオリゴマー分画方法
1か月前
住友金属鉱山株式会社
連続発酵方法及び連続発酵装置
2か月前
個人
酒粕パウダーの製造方法
今日
フジッコ株式会社
エリナシンAの産生方法
1か月前
株式会社日本触媒
スフェロイドの輸送方法
1か月前
住友ベークライト株式会社
培養キット
2か月前
株式会社カネカ
予測方法及び製造方法
1か月前
続きを見る
他の特許を見る