TOP
|
特許
|
意匠
|
商標
特許ウォッチ
Twitter
他の特許を見る
10個以上の画像は省略されています。
公開番号
2025165561
公報種別
公開特許公報(A)
公開日
2025-11-05
出願番号
2024069683
出願日
2024-04-23
発明の名称
細胞培養デバイス
出願人
ウシオ電機株式会社
代理人
弁理士法人ユニアス国際特許事務所
主分類
C12M
3/00 20060101AFI20251028BHJP(生化学;ビール;酒精;ぶどう酒;酢;微生物学;酵素学;突然変異または遺伝子工学)
要約
【課題】簡単な操作で、セルカルチャーインサートの周囲からウェル内への液体の漏出を抑制でき、ウェルに対して液体を通流できる細胞培養デバイスを提供する。
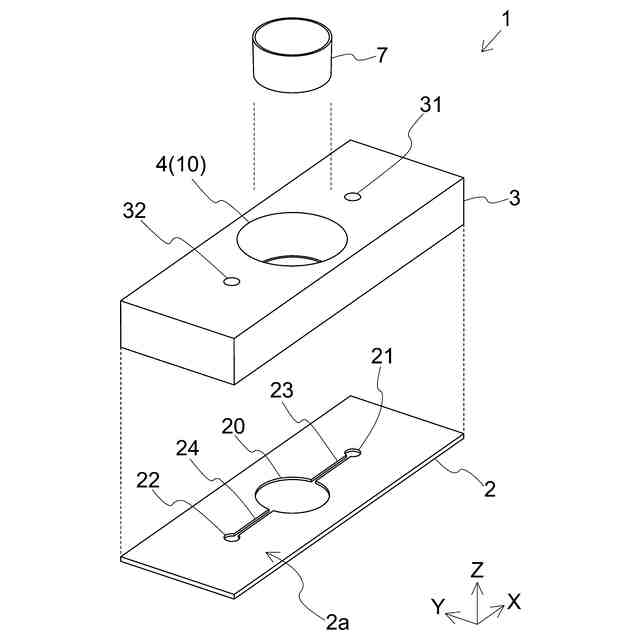
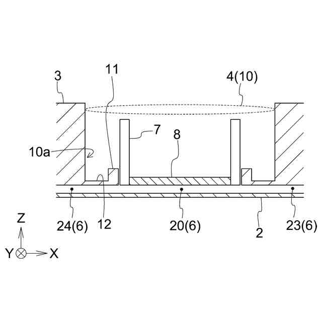
【解決手段】細胞培養デバイスは、底部と前記底部に接合された本体部とを含み、前記本体部を貫通する貫通孔からなるウェルと、前記ウェル内に開口を形成する筒状部と、前記筒状部の前記底部とは反対側の端面よりも前記底部側の位置で、前記ウェルの内壁面と前記筒状部とを連絡する連絡部と、前記ウェルに対して生理活性物質を含む液体を通流する流路と、前記生理活性物質を透過可能な膜を底面に有し、前記本体部側から前記ウェルを介して前記筒状部に挿入されるセルカルチャーインサートと、を備え、前記筒状部の内壁面と、前記セルカルチャーインサートの外壁面との間隙は微小に形成されたことを特徴とする。
【選択図】 図1
特許請求の範囲
【請求項1】
底部と前記底部に接合された本体部とを含む細胞培養デバイスであって、
前記本体部を貫通する貫通孔からなるウェルと、
前記本体部側から前記ウェルを見たときに前記貫通孔よりも内側であって、前記ウェル内に開口を形成する筒状部と、
前記筒状部の前記底部とは反対側の端面よりも前記底部側の位置で、前記ウェルの内壁面と前記筒状部とを連絡する連絡部と、
前記底部と前記本体部との接合面の一部に形成され、前記ウェルに対して生理活性物質を含む液体を通流する流路と、
前記生理活性物質を透過可能な膜を底面に有し、前記本体部側から前記ウェルを介して前記筒状部に挿入されるセルカルチャーインサートと、を備え、
前記筒状部の内壁面と、前記セルカルチャーインサートの外壁面との間隙は微小に形成されたことを特徴とする、細胞培養デバイス。
続きを表示(約 820 文字)
【請求項2】
前記筒状部と前記セルカルチャーインサートとの前記間隙は、50μm以上500μm以下であることを特徴とする、請求項1に記載の細胞培養デバイス。
【請求項3】
前記筒状部は、前記連絡部の端部から前記底部とは反対側に伸びることを特徴とする、請求項1又は2に記載の細胞培養デバイス。
【請求項4】
前記ウェルの中心から外側に向かう方向に関する前記筒状部の厚みは500μm以下であることを特徴とする、請求項1又は2に記載の細胞培養デバイス。
【請求項5】
前記筒状部の前記底部とは反対側の端面は、前記ウェルの外側に向かうときに、前記底部との距離が一定であるか、又は前記底部との距離が小さくなる部分を有することを特徴とする、請求項1又は2に記載の細胞培養デバイス。
【請求項6】
前記本体部に形成された複数の前記ウェルと、
それぞれの前記ウェルに形成された複数の前記筒状部及び前記連絡部と、
それぞれの前記筒状部に設置された複数の前記セルカルチャーインサートと、を備えることを特徴とする、請求項1又は2に記載の細胞培養デバイス。
【請求項7】
複数の前記ウェルは、前記流路で互いに連絡されたことを特徴とする、請求項6に記載の細胞培養デバイス。
【請求項8】
前記本体部及び前記底部を構成する主材料は、COP、PS、PMMA、COC、PC、PEEK、フッ素樹脂、ガラス材料、及びポリメチルシロキサンからなる群から選択されることを特徴とする、請求項1又は2に記載の細胞培養デバイス。
【請求項9】
前記セルカルチャーインサートの前記膜を構成する主材料は、PET、PC、COP、COC、セルロース混合エステル、PTFE、及びコラーゲンからなる群から選択されることを特徴とする、請求項1又は2に記載の細胞培養デバイス。
発明の詳細な説明
【技術分野】
【0001】
本発明は、細胞培養デバイスに関し、特にセルカルチャーインサートを用いて細胞を培養する細胞培養デバイスに関する。
続きを表示(約 1,400 文字)
【背景技術】
【0002】
従来、生体内の環境を模したin vitro(体外)の評価系を構築するために、細胞の培養に用いられる器具として、セルカルチャーインサートが知られている(例えば、下記特許文献1参照)。特許文献1に記載のセルカルチャーインサートは、筒状の部材であり、底面に生理活性物質等を透過可能な膜を有する。
【先行技術文献】
【特許文献】
【0003】
特許第7265243号公報
【発明の概要】
【発明が解決しようとする課題】
【0004】
例えば、セルカルチャーインサートは、流路を介して培養液が通流されるウェルに挿入される。セルカルチャーインサートの膜上に細胞が播種されることで、膜を介して、培養液に含まれる生理活性物質を細胞に供給できる。一例として、当該細胞が肝臓由来の細胞とされた評価系を構築可能である。この場合、培養液は血液、流路は血管に対応する。
【0005】
しかし、ウェルに対して単にセルカルチャーインサートを挿入しただけでは、ウェルに対して培養液を通流した際に、培養液がセルカルチャーインサートの周囲からウェル内に漏出することで、培養液を通流できない場合があった。
【0006】
これに対し、例えばウェルの上部にウェル内を密閉する蓋を設けることで、セルカルチャーインサートが配置されたウェル内の空間を密閉空間とする細胞培養デバイスが提案されている。この場合、ウェル内の空間が密閉空間となるため、ウェルに対して培養液を通流した際に、セルカルチャーインサートの周囲から培養液がウェル内に漏出することが抑制される。
【0007】
しかし、上記デバイスでは、ウェルにセルカルチャーインサートを挿入した後、当該ウェルに蓋を設置する作業が要求されるために、細胞の評価系を構築する作業が煩雑になってしまう。特に、細胞を培養するに際しては、例えば培養液中の生理活性物質の濃度を異ならせる等、複数の条件で、細胞が培養されることが典型的である。さらに、評価の精度を高める観点から、同一条件で培養された細胞のサンプルは多数準備される。それぞれのウェルに対して蓋を閉める作業が要求されるため、評価系を構築する作業が著しく煩雑になる。
【0008】
また、所定の培養期間が経過する毎に、薬剤投与の効果を評価することも想定される。しかし、上記デバイスでは、薬剤投与を行う度に、蓋を開け閉めする作業が必要となる。多数のサンプルに薬剤投与する際に、各ウェルの蓋を開け閉めする作業に膨大な時間を要する結果、薬剤投与を行うタイミングを正確に設定できないという懸念もある。
【0009】
このように、従来のセルカルチャーインサートを用いた細胞培養デバイスでは、ウェルに対して培養液等の液体を通流するために、煩雑な作業が要求されており、改善の余地が存在する。
【0010】
上記事情に鑑み、本発明は、簡単な操作で、セルカルチャーインサートの周囲からウェル内への液体の漏出を抑制でき、ウェルに対して液体を通流できる細胞培養デバイスを提供することを目的とする。
【課題を解決するための手段】
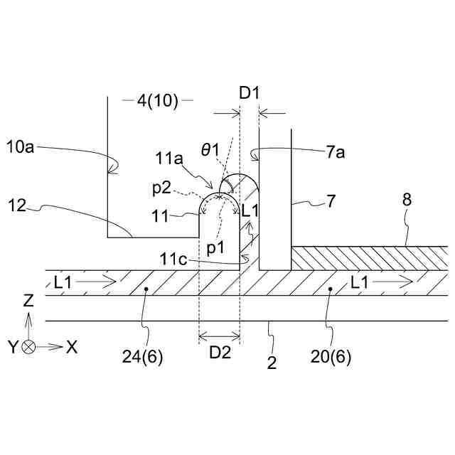
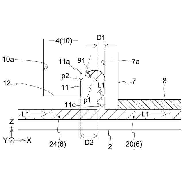
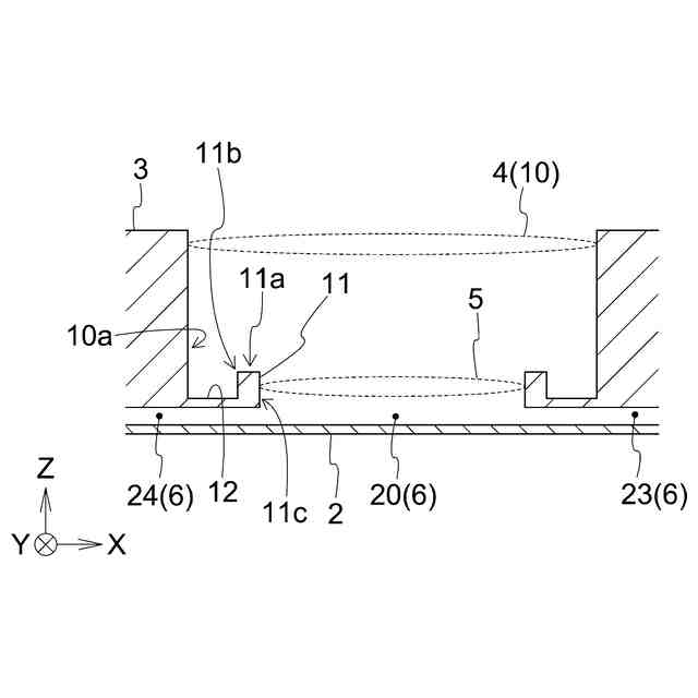
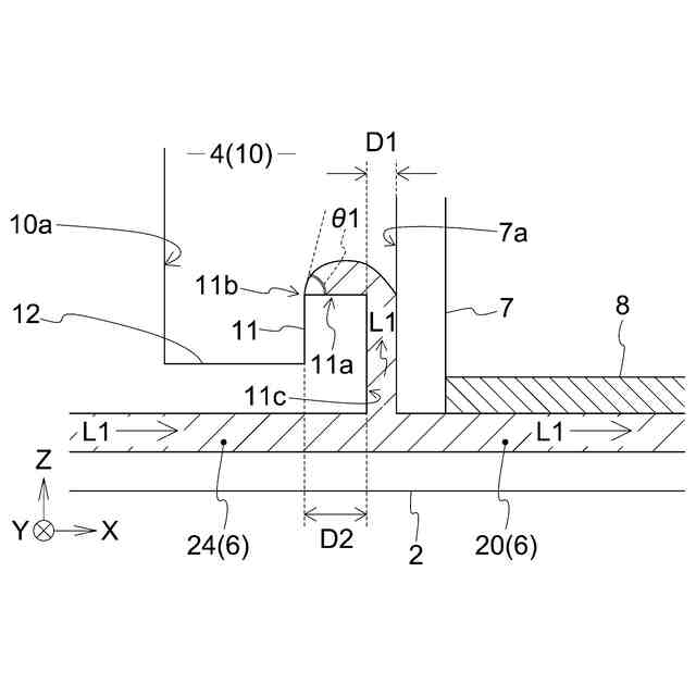
(【0011】以降は省略されています)
この特許をJ-PlatPat(特許庁公式サイト)で参照する
関連特許
ウシオ電機株式会社
放電ランプ
1か月前
ウシオ電機株式会社
細胞培養デバイス
1か月前
ウシオ電機株式会社
半導体レーザ素子
10日前
ウシオ電機株式会社
外用剤及びキット
1か月前
ウシオ電機株式会社
半導体レーザ素子
2か月前
ウシオ電機株式会社
導波路型光デバイスの製造方法
1か月前
ウシオ電機株式会社
処理方法、処理装置及び処理システム
10日前
ウシオ電機株式会社
空気清浄装置および空気清浄システム
1か月前
ウシオ電機株式会社
光源装置及びエネルギービーム導入部材
3日前
ウシオ電機株式会社
マイクロ流体デバイス及びその製造方法
1か月前
ウシオ電機株式会社
二酸化炭素吸収材、及び二酸化炭素の回収方法
10日前
ウシオ電機株式会社
紫外線治療装置および紫外線治療装置の動作方法
10日前
ウシオ電機株式会社
細胞培養デバイス、細胞培養デバイスの使用方法
1か月前
ウシオ電機株式会社
ガス分解方法、ガス分解装置及びガス分解システム
19日前
個人
抗遺伝子劣化装置
3か月前
個人
細胞内探査とその利用
3か月前
三洋化成工業株式会社
細胞培養用担体
10日前
雪国アグリ株式会社
単糖類の製造方法
2か月前
個人
細胞培養容器
5か月前
日本バイリーン株式会社
細胞用支持基材
5か月前
東洋紡株式会社
改変型RNAポリメラーゼ
5か月前
株式会社タクマ
バイオマス処理装置
4か月前
株式会社タクマ
バイオマス処理装置
4か月前
日油株式会社
蛋白質安定化剤
5か月前
テルモ株式会社
吐出デバイス
3か月前
株式会社東洋新薬
経口組成物
3か月前
宝酒造株式会社
アルコール飲料
2か月前
テルモ株式会社
容器蓋デバイス
3か月前
島根県
油吸着材とその製造方法
1か月前
東ソー株式会社
pH応答性マイクロキャリア
3か月前
大陽日酸株式会社
培養装置
3か月前
大陽日酸株式会社
培養装置
3か月前
株式会社ファンケル
SEC12タンパク発現促進剤
4か月前
トヨタ自動車株式会社
バイオ燃料製造方法
2か月前
月桂冠株式会社
低プリン体清酒
1か月前
個人
有機フッ素化合物を分解する廃液処理法
1か月前
続きを見る
他の特許を見る