TOP
|
特許
|
意匠
|
商標
特許ウォッチ
Twitter
他の特許を見る
10個以上の画像は省略されています。
公開番号
2025165717
公報種別
公開特許公報(A)
公開日
2025-11-05
出願番号
2024069975
出願日
2024-04-23
発明の名称
導波路型光デバイスの製造方法
出願人
ウシオ電機株式会社
代理人
個人
,
個人
主分類
G02B
6/132 20060101AFI20251028BHJP(光学)
要約
【課題】導波効率を改善した導波路型光デバイスを提供する。
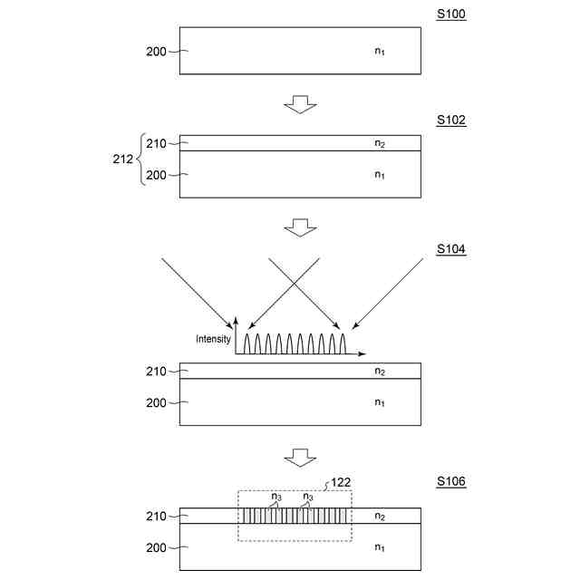
【解決手段】屈折率周期構造を有する導波路型光デバイス100の製造方法が提供される。第1屈折率n
1
を有する基材200の上に、第1屈折率n
1
より高い第2屈折率n
2
を有するホログラフィック材料210を含む導波路層を形成する(S102)。導波路層のうち、屈折率周期構造122を形成すべき領域を、二光束干渉光によって露光する(122)。これにより干渉パターンに応じた屈折率変化を生じさせ、屈折率周期構造122を得る。
【選択図】図2
特許請求の範囲
【請求項1】
屈折率周期構造を有する導波路型光デバイスの製造方法であって、
第1屈折率を有する基材の上に、前記第1屈折率より高い第2屈折率を有するホログラフィック材料を含む導波路層を形成する第1ステップと、
前記導波路層のうち、前記屈折率周期構造を形成すべき領域を、二光束干渉光によって露光する第2ステップと、
を備える製造方法。
続きを表示(約 650 文字)
【請求項2】
前記第2ステップは、干渉パターンを、所定形状と所定の大きさを有する限定された領域に形成することを特徴とする請求項1に記載の製造方法。
【請求項3】
前記導波路型光デバイスの入射端から前記屈折率周期構造に至る入射導波路および前記屈折率周期構造から前記導波路型光デバイスの出射端に至る出射導波路を形成する第3ステップをさらに備えることを特徴とする請求項1または2に記載の製造方法。
【請求項4】
前記ホログラフィック材料は、照射した光強度に応じて屈折率が低下するものであり、
前記第3ステップは、前記ホログラフィック材料の上に、前記入射導波路と前記出射導波路を覆う第2マスクを配置した状態で露光するステップを含
む
ことを特徴とする請求項3に記載の製造方法。
【請求項5】
前記ホログラフィック材料は、照射した光強度に応じて屈折率が増加するものであり、
前記第3ステップは、前記ホログラフィック材料の上に、前記入射導波路と前記出射導波路が開口された第3マスクを配置した状態で露光するステップを含むことを特徴とする請求項3に記載の製造方法。
【請求項6】
前記屈折率の周期的パターンのアスペクト比は3以上であることを特徴とする請求項1または2に記載の製造方法。
【請求項7】
前記導波路型光デバイスは、波長選択フィルタであることを特徴とする請求項1または2に記載の製造方法。
発明の詳細な説明
【技術分野】
【0001】
本開示は、導波路型光デバイスの製造方法に関する。
続きを表示(約 1,100 文字)
【背景技術】
【0002】
導波路型光デバイスは、屈折率の大きな媒質によって形成される導波層(コア)を、それより屈折率の小さな媒質(クラッド)で挟み込んだ積層構造を有する。
【0003】
一般的な光導波路プロセスでは、このような導波路構造の製作には、プラズマCVD(Chemical Vapor Deposition)法や火炎堆積法が用いられる(特許文献1,2)。
【先行技術文献】
【特許文献】
【0004】
国際公開WO2022/157958号
特開2021-124646号公報
【発明の概要】
【発明が解決しようとする課題】
【0005】
本発明者らは、波長選択フィルタや回折格子などの光デバイスの作製について検討し、以下の課題を認識するに至った。
【0006】
これらの光デバイスは、導波層に、光の導波方向に対して屈折率の異なる材料が周期的に並んだ微細構造を有する。従来のプロセスでこのような光デバイスを作製する場合、導波層の表面に微細構造に対応する凹凸を設け、凹部に、低屈折率の材料を埋め込むことになる。
【0007】
しかしながら、プラズマCVD(Chemical Vapor Deposition)法や火炎堆積法では、アスペクト比が3以上の凹部に、低屈折率の導波路材料で埋め込むことが難しく、空洞(ボイド)が生じてしまう。導波路中に空洞が存在すると、散乱損失によって導波効率が低下してしまう。
【0008】
本開示は係る課題に鑑みてなされたものであり、そのある態様の例示的な目的のひとつは、導波効率を改善した導波路型光デバイスの提供にある。
【課題を解決するための手段】
【0009】
本開示のある態様は、屈折率周期構造を有する導波路型光デバイスの製造方法に関する。製造方法は、第1屈折率を有する基材の上に、第1屈折率より高い第2屈折率を有するホログラフィック材料を含む導波路層を形成する第1ステップと、導波路層のうち、屈折率周期構造を形成すべき領域を、二光束干渉光によって露光する第2ステップと、を備える。
【0010】
なお、以上の構成要素を任意に組み合わせたもの、構成要素や表現を、方法、装置、システムなどの間で相互に置換したものもまた、本発明あるいは本開示の態様として有効である。さらに、この項目(課題を解決するための手段)の記載は、本発明の欠くべからざるすべての特徴を説明するものではなく、したがって、記載されるこれらの特徴のサブコンビネーションも、本発明たり得る。
【発明の効果】
(【0011】以降は省略されています)
この特許をJ-PlatPat(特許庁公式サイト)で参照する
関連特許
ウシオ電機株式会社
放電ランプ
16日前
ウシオ電機株式会社
細胞培養デバイス
10日前
ウシオ電機株式会社
外用剤及びキット
19日前
ウシオ電機株式会社
導波路型光デバイスの製造方法
10日前
ウシオ電機株式会社
空気清浄装置および空気清浄システム
8日前
ウシオ電機株式会社
マイクロ流体デバイス及びその製造方法
24日前
ウシオ電機株式会社
細胞培養デバイス、細胞培養デバイスの使用方法
1か月前
個人
立体像表示装置
1か月前
カンタツ株式会社
光学系
24日前
住友化学株式会社
偏光板
29日前
株式会社シグマ
結像光学系
18日前
株式会社シグマ
結像光学系
8日前
東レ株式会社
積層フィルム
1か月前
住友化学株式会社
垂直偏光板
29日前
東レ株式会社
貼合体の製造方法
1か月前
東レ株式会社
赤外線遮蔽構成体
1か月前
日本精機株式会社
ミラーユニット
17日前
古河電気工業株式会社
融着機
24日前
日本電気株式会社
光モジュール
18日前
日東電工株式会社
導光部材
8日前
株式会社コシナ
投射ズームレンズ
1日前
日本電気株式会社
光集積回路素子
1か月前
個人
多方向視差効果のための微細穴加工
19日前
日東電工株式会社
光学積層体
10日前
個人
眼鏡装着位置変更具および眼鏡
1か月前
京セラ株式会社
光学系
16日前
三菱電機株式会社
レンズモジュール
29日前
住友化学株式会社
偏光板
1か月前
住友化学株式会社
積層体
1か月前
日本精機株式会社
ヘッドアップディスプレイ
11日前
AGC株式会社
インフィニティミラー
25日前
日本精機株式会社
ヘッドアップディスプレイ
8日前
日東電工株式会社
調光フィルム
1か月前
住友化学株式会社
偏光板
1か月前
日本精機株式会社
ヘッドアップディスプレイ装置
1か月前
日本精機株式会社
ヘッドアップディスプレイ装置
9日前
続きを見る
他の特許を見る