TOP
|
特許
|
意匠
|
商標
特許ウォッチ
Twitter
他の特許を見る
10個以上の画像は省略されています。
公開番号
2025153405
公報種別
公開特許公報(A)
公開日
2025-10-10
出願番号
2024055880
出願日
2024-03-29
発明の名称
細胞培養デバイス、細胞培養デバイスの使用方法
出願人
ウシオ電機株式会社
,
学校法人東北工業大学
代理人
弁理士法人ユニアス国際特許事務所
主分類
C12M
3/00 20060101AFI20251002BHJP(生化学;ビール;酒精;ぶどう酒;酢;微生物学;酵素学;突然変異または遺伝子工学)
要約
【課題】複数の細胞を接触させる前に、それぞれの細胞に適した培養条件を設定できる細胞培養デバイス、及び細胞培養デバイスの使用方法を提供する。
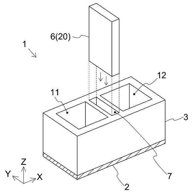
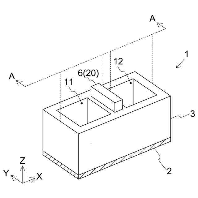
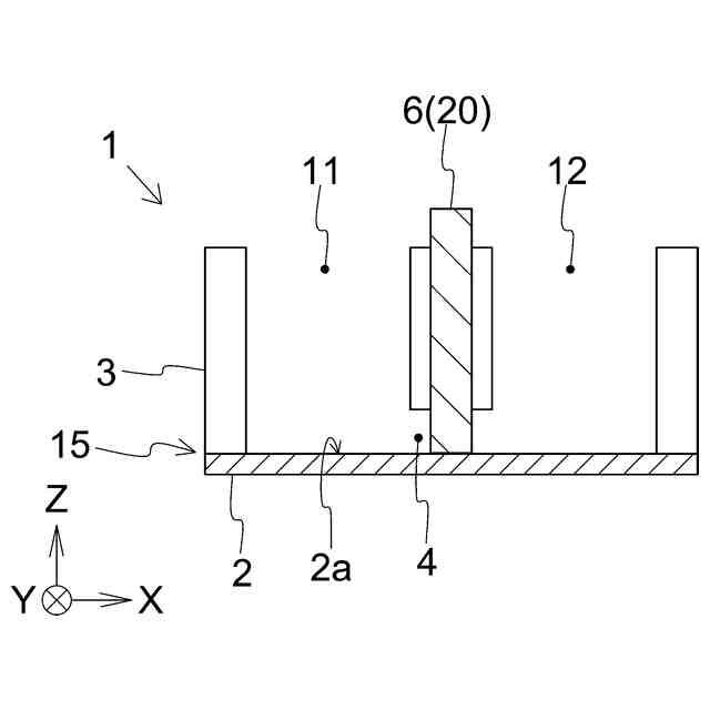
【解決手段】細胞培養デバイスは、底部と前記底部に接合された本体部とを含む細胞培養デバイスであって、前記本体部を貫通する貫通孔からなり、前記底部の主面に平行な方向に関して相互に隣り合う位置に形成された、第一ウェル及び第二ウェルと、前記底部と前記本体部との接合面の一部に形成され、前記第一ウェルと前記第二ウェルとを相互に連絡するマイクロ流路と、前記底部の主面に直交する方向に関する位置を変更可能に構成され、前記マイクロ流路の開度を調整する開閉部と、を備える。
【選択図】 図1
特許請求の範囲
【請求項1】
底部と前記底部に接合された本体部とを含む細胞培養デバイスであって、
前記本体部を貫通する貫通孔からなり、前記底部の主面に平行な方向に関して相互に隣り合う位置に形成された、第一ウェル及び第二ウェルと、
前記底部と前記本体部との接合面の一部に形成され、前記第一ウェルと前記第二ウェルとを相互に連絡するマイクロ流路と、
前記底部の主面に直交する方向に関する位置を変更可能に構成され、前記マイクロ流路の開度を調整する開閉部と、を備える細胞培養デバイス。
続きを表示(約 1,100 文字)
【請求項2】
前記本体部側から見たときに、前記第一ウェルと前記第二ウェルに挟まれた位置に形成され、開度調整機構を導入可能なスリットを有することを特徴とする、請求項1に記載の細胞培養デバイス。
【請求項3】
前記開閉部は、前記スリットに挿入された仕切り板を有することを特徴とする、請求項2に記載の細胞培養デバイス。
【請求項4】
前記スリット内に流体を導入又は排出する流体供給部をさらに備え、
前記開閉部は、前記スリットの前記底部側の開口を覆うフィルムを有することを特徴とする、請求項2に記載の細胞培養デバイス。
【請求項5】
前記マイクロ流路の高さは、神経細胞の径より小さく、神経突起の径よりも大きいことを特徴とする、請求項1~4のいずれか一項に記載の細胞培養デバイス。
【請求項6】
前記マイクロ流路は、前記底部に形成された複数の溝から構成されたことを特徴とする、請求項1~4のいずれか一項に記載の細胞培養デバイス。
【請求項7】
複数の前記第二ウェルを備え、
前記第一ウェルと複数の前記第二ウェルとは、それぞれ異なる前記マイクロ流路で連絡されたことを特徴とする、請求項1~4のいずれか一項に記載の細胞培養デバイス。
【請求項8】
請求項1~4のいずれか一項に記載の細胞培養デバイスの使用方法であって、
前記開閉部を操作して、前記マイクロ流路が閉塞された閉状態にする工程(a)と、
前記工程(a)の後に、前記第一ウェルに培養液と共に第一細胞を配置して培養する工程(b)と、
前記工程(b)と同時、又は前記工程(b)の後に、前記第二ウェルに培養液と共に第二細胞を配置して培養する工程(c)と、
前記開閉部を操作することで前記マイクロ流路を開状態にして、前記第一細胞と前記第二細胞とを接触させる工程(d)と、を有する細胞培養デバイスの使用方法。
【請求項9】
前記第一細胞及び前記第二細胞のうち、少なくとも一方は神経細胞であり、
前記工程(d)は、神経突起によって前記第一細胞と前記第二細胞とを接触させる工程を含むことを特徴とする、請求項8に記載の細胞培養デバイスの使用方法。
【請求項10】
前記細胞培養デバイスの前記マイクロ流路は、前記底部に形成された複数の溝から構成されており、
前記工程(d)は、前記複数の溝のそれぞれに対して、神経突起を侵入させる工程を含むことを特徴とする、請求項8に記載の細胞培養デバイスの使用方法。
発明の詳細な説明
【技術分野】
【0001】
本発明は、細胞培養デバイスに関し、特に複数の細胞を接触させた状態で培養する用途に利用される細胞培養デバイスに関する。また、本発明は、細胞培養デバイスの使用方法に関する。
続きを表示(約 1,500 文字)
【背景技術】
【0002】
生体内では、神経細胞から成長した神経突起が、心筋、骨格筋、又は皮膚細胞等の他の細胞と接触している。これらの細胞の相互作用を観察するために、in vitro(体外)で神経細胞と他の細胞とを接触させた状態で培養する方法が知られている(下記特許文献1参照)。
【先行技術文献】
【特許文献】
【0003】
特許第6430680号公報
【発明の概要】
【発明が解決しようとする課題】
【0004】
従来、特許文献1に代表されるように、神経細胞と他の細胞とを接触させた状態で培養することを目的として、複数のウェルと、複数のウェルを互いに連絡する流路を備えた細胞培養デバイスが提案されている。
【0005】
しかし、本発明者は、従来の細胞培養デバイスでは、細胞同士を接触させる前に、それぞれの細胞に適した培養条件を設定するのが困難であることに気が付いた。それぞれの細胞に適した培養条件を設定できなければ、各細胞を所望の状態に培養することが困難になる。このような細胞同士を接触させて培養しても、細胞間の相互作用が再現できず、観察の精度が低下してしまう。
【0006】
本発明は、上記課題に鑑み、複数の細胞を接触させる前に、それぞれの細胞に適した培養条件を設定できる細胞培養デバイス、及び細胞培養デバイスの使用方法を提供することを目的とする。
【課題を解決するための手段】
【0007】
本発明に係る細胞培養デバイスは、
底部と前記底部に接合された本体部とを含む細胞培養デバイスであって、
前記本体部を貫通する貫通孔からなり、前記底部の主面に平行な方向に関して相互に隣り合う位置に形成された、第一ウェル及び第二ウェルと、
前記底部と前記本体部との接合面の一部に形成され、前記第一ウェルと前記第二ウェルとを相互に連絡するマイクロ流路と、
前記底部の主面に直交する方向に関する位置を変更可能に構成され、前記マイクロ流路の開度を調整する開閉部と、を備えることを特徴とする。
【0008】
本明細書において、「主面」とは、板状の物体を構成する表面のうち、他の面よりもはるかに面積が大きい面を指す。
【0009】
図17は、特許文献1に開示された従来の細胞培養デバイスの構造を示す断面図である。図17に示すように、細胞培養デバイス80は、上板80aと下板80bとが接合されて構成される。細胞培養デバイス80は、上板80aを貫通する貫通孔からなる複数のウェル(81,82)と、ウェル81とウェル82を互いに連絡するマイクロ流路83を有する。一例として、マイクロ流路83の幅及び高さは100μm~200μm程度とされる。
【0010】
細胞を培養する際には、神経細胞91がウェル81の底面に配置されると共に、神経細胞91を覆うように培養液がウェル81に投入される。また、ウェル82では、神経細胞91と接触される対象の細胞92が底面に配置されると共に、細胞92を覆うように培養液がウェル82に投入される。神経細胞91が培養されることで、神経細胞91から神経突起91aが成長する。神経突起91aはマイクロ流路83を介してウェル82に到達し、細胞92と結合する。これにより、神経細胞91と細胞92とを接触させた状態で、これらの細胞の相互作用を観察することができる。
(【0011】以降は省略されています)
この特許をJ-PlatPat(特許庁公式サイト)で参照する
関連特許
ウシオ電機株式会社
放電ランプ
28日前
ウシオ電機株式会社
細胞培養デバイス
22日前
ウシオ電機株式会社
外用剤及びキット
1か月前
ウシオ電機株式会社
導波路型光デバイスの製造方法
22日前
ウシオ電機株式会社
空気清浄装置および空気清浄システム
20日前
ウシオ電機株式会社
マイクロ流体デバイス及びその製造方法
1か月前
ウシオ電機株式会社
細胞培養デバイス、細胞培養デバイスの使用方法
1か月前
ウシオ電機株式会社
ガス分解方法、ガス分解装置及びガス分解システム
8日前
個人
抗遺伝子劣化装置
3か月前
個人
細胞内探査とその利用
3か月前
雪国アグリ株式会社
単糖類の製造方法
1か月前
日本バイリーン株式会社
細胞用支持基材
4か月前
個人
細胞培養容器
4か月前
テルモ株式会社
吐出デバイス
2か月前
東洋紡株式会社
改変型RNAポリメラーゼ
4か月前
日油株式会社
蛋白質安定化剤
4か月前
株式会社タクマ
バイオマス処理装置
3か月前
株式会社タクマ
バイオマス処理装置
3か月前
株式会社東洋新薬
経口組成物
3か月前
島根県
油吸着材とその製造方法
1か月前
テルモ株式会社
容器蓋デバイス
2か月前
東ソー株式会社
pH応答性マイクロキャリア
2か月前
宝酒造株式会社
アルコール飲料
1か月前
大陽日酸株式会社
培養装置
3か月前
大陽日酸株式会社
培養装置
3か月前
トヨタ自動車株式会社
バイオ燃料製造方法
2か月前
株式会社ファンケル
SEC12タンパク発現促進剤
4か月前
個人
有機フッ素化合物を分解する廃液処理法
1か月前
株式会社豊田中央研究所
細胞励起装置
1か月前
月桂冠株式会社
低プリン体清酒
1か月前
株式会社東海ヒット
灌流培養ユニット
5か月前
アサヒビール株式会社
柑橘風味アルコール飲料
4か月前
アサヒビール株式会社
柑橘風味アルコール飲料
4か月前
オンキヨー株式会社
浸漬酒の製造方法、及び、浸漬酒
4か月前
株式会社カクサスバイオ
新規免疫抑制方法
15日前
株式会社シャローム
スフィンゴミエリン製造方法
2か月前
続きを見る
他の特許を見る