TOP
|
特許
|
意匠
|
商標
特許ウォッチ
Twitter
他の特許を見る
10個以上の画像は省略されています。
公開番号
2025159871
公報種別
公開特許公報(A)
公開日
2025-10-22
出願番号
2024062703
出願日
2024-04-09
発明の名称
マイクロ流体デバイス及びその製造方法
出願人
ウシオ電機株式会社
代理人
弁理士法人ユニアス国際特許事務所
主分類
C12M
3/00 20060101AFI20251015BHJP(生化学;ビール;酒精;ぶどう酒;酢;微生物学;酵素学;突然変異または遺伝子工学)
要約
【課題】残留ソルベントが培養細胞に対する影響を抑制できる程度の量に留められた、マイクロ流体デバイスを提供する。
【解決手段】マイクロ流体デバイスは、樹脂製の第一部材と、樹脂製の第二部材と、第一部材と第二部材との界面を接合する接着剤層と、第一部材と第二部材との境界箇所の一部に形成された流路とを備える。接着剤層は、有機溶媒の成分である対象物質を含む。流路及び接着剤層から離間した領域に位置する基準部分と、流路が形成されている領域に位置する流路部分のそれぞれに含まれる成分を、昇温脱離質量分析法で測定した場合に、基準部分から対象物質の放出が開始される第一温度と、流路部分から対象物質の放出が開始される第二温度とが、実質的に同一である。
【選択図】図11
特許請求の範囲
【請求項1】
樹脂製の第一部材と、
樹脂製の第二部材と、
前記第一部材と前記第二部材との界面を接合する接着剤層と、
前記第一部材と前記第二部材との境界箇所の一部に形成された流路とを備え、
前記接着剤層は、有機溶媒の成分である対象物質を含み、
前記流路及び前記接着剤層から離間した領域に位置する基準部分と、前記流路が形成されている領域に位置する流路部分のそれぞれに含まれる成分を、昇温脱離質量分析法で測定した場合に、前記基準部分から前記対象物質の放出が開始される第一温度と、前記流路部分から前記対象物質の放出が開始される第二温度とが、実質的に同一であることを特徴とする、マイクロ流体デバイス。
続きを表示(約 1,800 文字)
【請求項2】
前記第一部材及び前記第二部材の主材料が、COP、COC、PS、PMMA、及びPCからなる群から選択された1種以上の樹脂材料であることを特徴とする、請求項1に記載のマイクロ流体デバイス。
【請求項3】
前記対象物質は、トルエン、シクロヘキサン、ジクロロメタン、テトラヒドロフラン、クロロホルム、酢酸エチル、メチルエチルケトン、アセトン、及びジメチルホルムアミドからなる群から選択された物質であることを特徴とする、請求項1に記載のマイクロ流体デバイス。
【請求項4】
前記第一部材及び前記第二部材の主材料がCOPであり、
前記対象物質がトルエンであり、
前記第一温度及び前記第二温度は、いずれも75℃より高温であることを特徴とする、請求項1に記載のマイクロ流体デバイス。
【請求項5】
マイクロ流体デバイスの製造方法であって、
主材料が樹脂材料であり一部箇所に凹溝が形成されてなる第一部材と、主材料が前記樹脂材料である第二部材とを準備する工程(a)と、
前記第一部材と前記第二部材とを、前記第一部材の前記凹溝が形成されている側を前記第二部材に対面させた状態で有機溶媒を含有する接着剤を介して貼り合わせて、前記凹溝によって形成される流路を含むデバイスを得る工程(b)と、
前記デバイスに対して前記有機溶媒の除去を施す際の除去条件を決定する工程(c)と、
前記除去条件で前記デバイスに対して前記有機溶媒の除去を施す工程(d)とを有し、
前記工程(c)は、
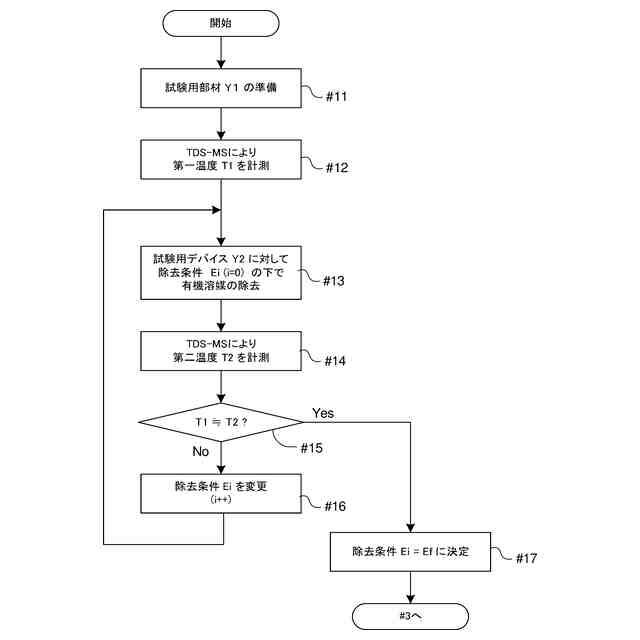
前記樹脂材料からなる試験用部材を準備する工程(c1)と、
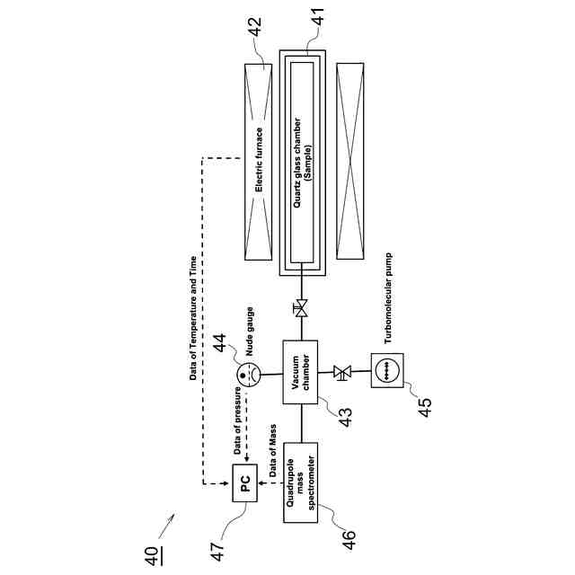
前記試験用部材に対して、昇温脱離質量分析法を用いて前記有機溶媒の成分である対象物質の放出が開始される第一温度を計測する工程(c2)と、
前記工程(b)で得られた少なくとも1つの前記デバイスである試験用デバイスに対して、前記有機溶媒の除去を施す工程(c3)と、
前記工程(c3)の実行後に、前記試験用デバイスに対して、昇温脱離質量分析法を用いて前記対象物質の放出が開始される第二温度を計測する工程(c4)と、
前記工程(c3)の実行時の条件を異ならせて前記工程(c3)及び前記工程(c4)を行うことで、前記第二温度が前記第一温度と実質的に同一になる前記工程(c3)の条件を確定し、前記除去条件に設定する工程(c5)とを有することを特徴とする、マイクロ流体デバイスの製造方法。
【請求項6】
前記工程(c3)及び前記工程(d)は、前記デバイスを所定の空間内に設置した状態で加熱する工程を含み、
前記除去条件は、前記デバイスが設置される前記空間の温度と、前記デバイスを前記空間内に設置する時間とを含む情報で規定されることを特徴とする、請求項5に記載のマイクロ流体デバイスの製造方法。
【請求項7】
前記工程(c)は、前記工程(c2)よりも前に、前記試験用部材に対して昇温脱離質量分析法を用いてガラス転移温度近傍の検証用温度まで昇温加熱したときに、空気由来の物質を除く最も信号強度の高い物質を、前記対象物質に設定する工程(c1a)を更に有することを特徴とする、請求項5に記載のマイクロ流体デバイスの製造方法。
【請求項8】
前記樹脂材料が、COP、COC、PS、PMMA、及びPCからなる群から選択された1種以上であることを特徴とする、請求項5~7のいずれか1項に記載のマイクロ流体デバイスの製造方法。
【請求項9】
前記対象物質は、トルエン、シクロヘキサン、ジクロロメタン、テトラヒドロフラン、クロロホルム、酢酸エチル、メチルエチルケトン、アセトン、及びジメチルホルムアミドからなる群から選択された物質であることを特徴とする、請求項5~7のいずれか1項に記載のマイクロ流体デバイスの製造方法。
【請求項10】
前記樹脂材料がCOPであり、
前記対象物質がトルエンであり、
前記工程(c5)は、前記第一温度及び前記第二温度がいずれも75℃より高温となる前記工程(c3)の条件を前記除去条件に設定することを特徴とする、請求項5~7のいずれか1項に記載のマイクロ流体デバイスの製造方法。
発明の詳細な説明
【技術分野】
【0001】
本発明は、マイクロ流体デバイス及びその製造方法に関する。
続きを表示(約 1,600 文字)
【背景技術】
【0002】
細胞及び組織の培養の用途で用いられるデバイスとして、近年では、3次元(立体)の細胞培養・実験環境を構築できる、マイクロ流体デバイス(「細胞培養チップ」、「バイオチップ」、「マイクロチップ」、又は「マイクロ流路チップ」とも称されることがある。)が提案されている。
【0003】
マイクロ流体デバイスは、2つ以上の部材が組み立てられることで形成される。詳細には、マイクロ流体デバイスの形成に際しては、2つ以上の部材を接合する工程が必要となる。この接合工程として、有機溶媒を用いた接着方法(ソルベントボンディング法)が汎用的に用いられている。
【0004】
しかし、マイクロ流体デバイスは寸法が構造的に微細であるため、製造時に微細部分に微視的な隙間が生じている可能性がある。この場合、接着に用いられた有機溶媒の残部(以下、「残留ソルベント」と称する。)が、前記隙間を通じてマイクロ流路内に侵入し、細胞培養やその他のアッセイに好ましくない影響を及ぼす可能性が考えられる。
【0005】
このような事情に鑑み、従来、残留ソルベントを除去する目的で、部材を接合した後、30分を超える時間にわたって加熱する技術が提案されている(例えば、特許文献1参照)。
【先行技術文献】
【特許文献】
【0006】
特表2023-516548号公報
【発明の概要】
【発明が解決しようとする課題】
【0007】
現時点において、ソルベントボンディング法を用いて製造されたマイクロ流体デバイスに含まれる残留ソルベントの量を評価する手法は確立されていない。このため、上記特許文献1の技術を用いて、培養細胞に対する影響を抑制するためには、加熱時間や加熱温度を高める等により、強いエネルギーをデバイスに与えざるを得ない。しかし、このような方法を採用すると、残留ソルベントが除去される可能性はあるものの、デバイスを形成する部材に対するダメージが加えられてしまい、結果として、培養細胞に対する影響が生じ得る。
【0008】
本発明は上記の課題に鑑み、ソルベントボンディング法を用いて製造されたマイクロ流体デバイスに対して、残留ソルベントが培養細胞に対する影響を抑制できる程度の量であるか否かの判断指標を提供することを目的とする。より詳細には、本発明は、上記の判断指標を利用して、残留ソルベントが培養細胞に対する影響を抑制できる程度の量に留めることのできる、マイクロ流体デバイスの製造方法を提供することを目的とする。また、本発明は、残留ソルベントの量が培養細胞に対する影響を抑制できる程度に抑制された、マイクロ流体デバイスを提供することを目的とする。
【課題を解決するための手段】
【0009】
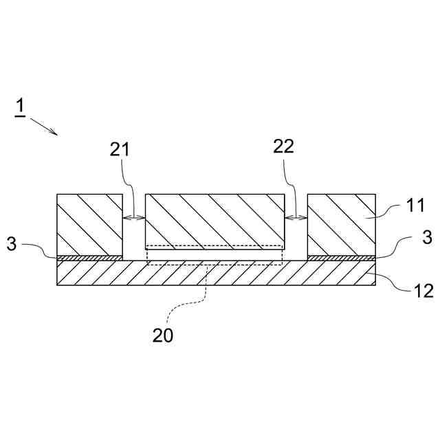
本発明に係るマイクロ流体デバイスは、
樹脂製の第一部材と、
樹脂製の第二部材と、
前記第一部材と前記第二部材との界面を接合する接着剤層と、
前記第一部材と前記第二部材との境界箇所の一部に形成された流路とを備え、
前記接着剤層は、有機溶媒の成分である対象物質を含み、
前記流路及び前記接着剤層から離間した領域に位置する基準部分と、前記流路が形成されている領域に位置する流路部分のそれぞれに含まれる成分を、昇温脱離質量分析法で測定した場合に、前記基準部分から前記対象物質の放出が開始される第一温度と、前記流路部分から前記対象物質の放出が開始される第二温度とが、実質的に同一であることを特徴とする。
【0010】
ソルベントボンディング法で製造されたマイクロ流体デバイスは、第一部材と第二部材とが、有機溶媒の成分を含む接着剤層を介して接合されている。
(【0011】以降は省略されています)
この特許をJ-PlatPat(特許庁公式サイト)で参照する
関連特許
ウシオ電機株式会社
放電ランプ
28日前
ウシオ電機株式会社
細胞培養デバイス
22日前
ウシオ電機株式会社
外用剤及びキット
1か月前
ウシオ電機株式会社
導波路型光デバイスの製造方法
22日前
ウシオ電機株式会社
空気清浄装置および空気清浄システム
20日前
ウシオ電機株式会社
マイクロ流体デバイス及びその製造方法
1か月前
ウシオ電機株式会社
細胞培養デバイス、細胞培養デバイスの使用方法
1か月前
ウシオ電機株式会社
ガス分解方法、ガス分解装置及びガス分解システム
8日前
個人
抗遺伝子劣化装置
3か月前
個人
細胞内探査とその利用
3か月前
雪国アグリ株式会社
単糖類の製造方法
1か月前
日本バイリーン株式会社
細胞用支持基材
4か月前
個人
細胞培養容器
4か月前
日油株式会社
蛋白質安定化剤
4か月前
株式会社タクマ
バイオマス処理装置
3か月前
テルモ株式会社
吐出デバイス
2か月前
株式会社タクマ
バイオマス処理装置
3か月前
株式会社東洋新薬
経口組成物
3か月前
東洋紡株式会社
改変型RNAポリメラーゼ
4か月前
島根県
油吸着材とその製造方法
1か月前
東ソー株式会社
pH応答性マイクロキャリア
2か月前
宝酒造株式会社
アルコール飲料
1か月前
テルモ株式会社
容器蓋デバイス
2か月前
大陽日酸株式会社
培養装置
3か月前
大陽日酸株式会社
培養装置
3か月前
株式会社ファンケル
SEC12タンパク発現促進剤
4か月前
トヨタ自動車株式会社
バイオ燃料製造方法
2か月前
株式会社豊田中央研究所
細胞励起装置
1か月前
個人
有機フッ素化合物を分解する廃液処理法
1か月前
月桂冠株式会社
低プリン体清酒
1か月前
オンキヨー株式会社
浸漬酒の製造方法、及び、浸漬酒
4か月前
アサヒビール株式会社
柑橘風味アルコール飲料
4か月前
アサヒビール株式会社
柑橘風味アルコール飲料
4か月前
株式会社カクサスバイオ
新規免疫抑制方法
15日前
株式会社シャローム
スフィンゴミエリン製造方法
2か月前
テルモ株式会社
採取組織細切補助デバイス
2か月前
続きを見る
他の特許を見る