TOP
|
特許
|
意匠
|
商標
特許ウォッチ
Twitter
他の特許を見る
10個以上の画像は省略されています。
公開番号
2025170524
公報種別
公開特許公報(A)
公開日
2025-11-19
出願番号
2024075171
出願日
2024-05-07
発明の名称
ガス分解方法、ガス分解装置及びガス分解システム
出願人
ウシオ電機株式会社
代理人
弁理士法人ユニアス国際特許事務所
主分類
B01D
53/92 20060101AFI20251112BHJP(物理的または化学的方法または装置一般)
要約
【課題】NOxが排出されることを抑制しつつ一酸化二窒素を分解する、被処理ガスの分解方法を提供する。
【解決手段】被処理ガスの分解方法は、前記被処理ガスは一酸化二窒素と二酸化炭素とを少なくとも含み、前記被処理ガスに含まれる二酸化炭素のガス濃度が、前記被処理ガスに含まれる二酸化炭素を除くいずれの各ガス濃度よりも高く、前記被処理ガスに含まれるガスを励起するためのエネルギーを前記被処理ガスに与えることにより、前記被処理ガス中の一酸化二窒素を分解する。
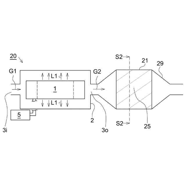
【選択図】図1A
特許請求の範囲
【請求項1】
被処理ガスの分解方法であって、
前記被処理ガスは一酸化二窒素と二酸化炭素とを少なくとも含み、前記被処理ガスに含まれる二酸化炭素のガス濃度が、前記被処理ガスに含まれる二酸化炭素を除くいずれの各ガス濃度よりも高く、
前記被処理ガスに含まれるガスを励起するためのエネルギーを前記被処理ガスに与えることにより、前記被処理ガス中の一酸化二窒素を分解することを特徴とする、分解方法。
続きを表示(約 1,000 文字)
【請求項2】
前記被処理ガスは、水蒸気をさらに含むことを特徴とする、請求項1に記載の分解方法。
【請求項3】
前記エネルギーは、主たる発光波長が160nm以上200nm未満に属する光エネルギーであることを特徴とする、請求項1に記載の分解方法。
【請求項4】
前記エネルギーは、前記被処理ガスをプラズマ化した電子エネルギーであることを特徴とする、請求項1に記載の分解方法。
【請求項5】
前記被処理ガスに触媒を接触させることを特徴とする、請求項1~4のいずれか一項に記載の分解方法。
【請求項6】
前記触媒は、前記一酸化二窒素の分解により生成された一酸化窒素の還元促進に使用される三元触媒であることを特徴とする、請求項5に記載の分解方法。
【請求項7】
前記触媒は、前記一酸化二窒素の分解により生成された一酸化窒素、及び、前記二酸化炭素から生成される一酸化炭素、の少なくともいずれか一つの酸化促進に使用される二元触媒であることを特徴とする、請求項5に記載の分解方法。
【請求項8】
前記エネルギーを与えた後の前記被処理ガスに酸素を含むガスを追加的に供給することを特徴とする、請求項7に記載の分解方法。
【請求項9】
被処理ガスの分解装置であって、
前記分解装置は、
前記被処理ガスを分解装置内に導くガス供給口であって、前記被処理ガスは、一酸化二窒素と二酸化炭素とを少なくとも含み、前記被処理ガスに含まれる二酸化炭素のガス濃度が、前記被処理ガスに含まれる二酸化炭素を除くいずれの各ガス濃度よりも高い、被処理ガスである、ガス供給口と、
前記被処理ガス中の一酸化二窒素を分解するために、前記ガス供給口から前記分解装置内に導いた前記被処理ガスに、前記被処理ガスに含まれるガスを励起するためのエネルギーを与える、エネルギー源と、
を備えることを特徴とする、分解装置。
【請求項10】
前記ガス供給口に接続され、前記被処理ガスに含まれる二酸化炭素のガス濃度が、前記被処理ガスに含まれる二酸化炭素を除くいずれの各ガス濃度よりも高くなるように、前記被処理ガスに含まれるガスの成分量を調整する、ガス濃度調整部を備えることを特徴とする、請求項9に記載の分解装置。
(【請求項11】以降は省略されています)
発明の詳細な説明
【技術分野】
【0001】
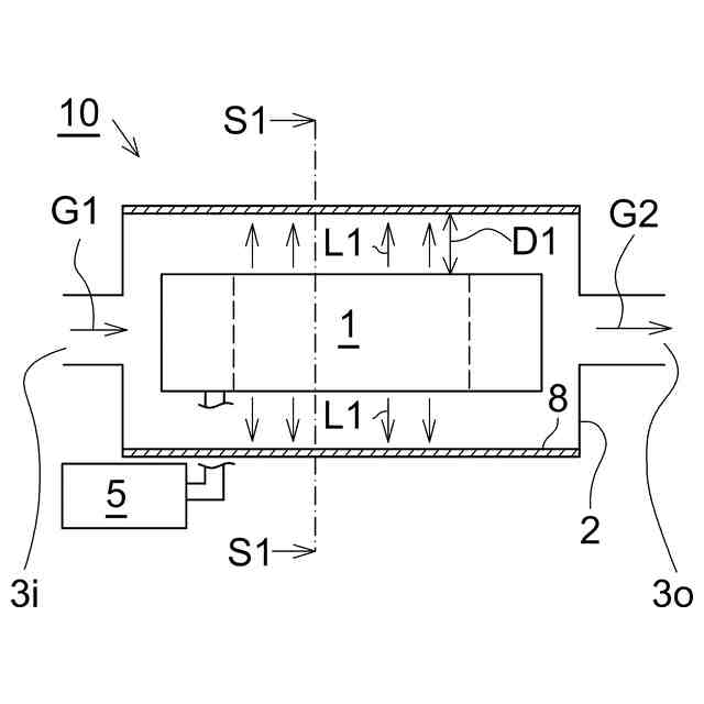
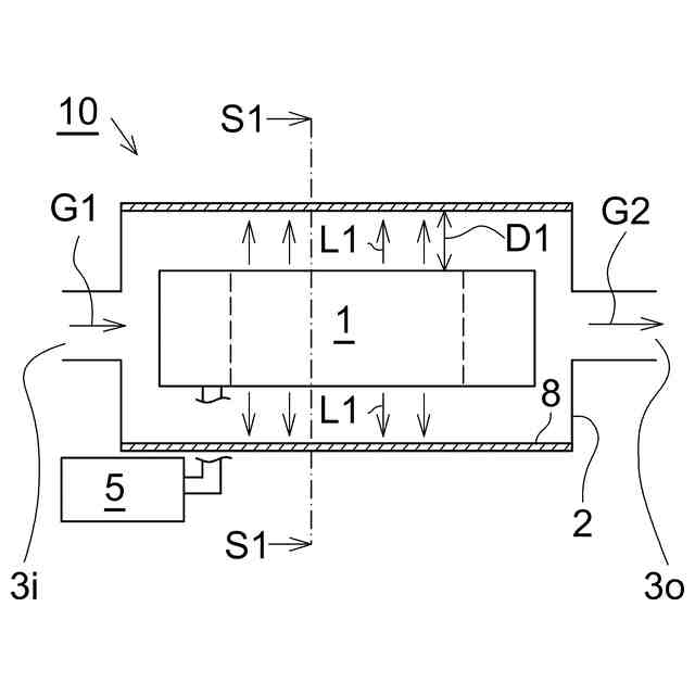
この発明は、被処理ガスのガス分解方法、ガス分解装置及びガス分解システムに関する。
続きを表示(約 1,900 文字)
【背景技術】
【0002】
産業革命以降、地球の平均気温が上昇しているために、地球温暖化対策は喫緊の課題となっている。地球温暖化の原因となる温室効果ガスとして、二酸化炭素、メタン、一酸化二窒素、フロンガス等が知られている。このガスの中で、二酸化炭素の排出量が一番多く、次いでメタンの排出量が多く、その次に、一酸化二窒素の排出量が多い。
【0003】
一方、地球温暖化係数(GWP:Global Warming Potential)に着目すると、メタンのGWPは二酸化炭素のGWPの25倍であり、一酸化二窒素のGWPは二酸化炭素のGWPの298倍であると報告されている。このような事情から、一酸化二窒素の排出による地球温暖化の影響は無視できない。
【0004】
一酸化二窒素は、人及び畜産動物の排泄物の処理過程や農業活動によって排出されるだけでなく、化学製品の製造等の工業活動及び廃棄物の燃焼によっても排出される。地球温暖化を抑えるため、一酸化二窒素を大気中に放出しないことが求められる。
【0005】
一酸化二窒素を大気中に放出しないために、一酸化二窒素を分解する。以前より、一酸化二窒素を分解するための方法として、高温燃焼方式と触媒方式が使われている。しかしながら、高温燃焼方式ではガスを燃焼させるために多量のエネルギーを必要とする。多量のエネルギーの確保に化石燃料を使用すると二酸化炭素の排出が増えるため、地球温暖化対策として好ましいとはいえない。触媒方式においても、ガスを高温に加熱することを必要とする。さらに、触媒や還元剤に使用するアンモニアの調達が必要であり、処理後の排水処理問題もある。よって、触媒方式も地球温暖化対策として好ましいとはいえない。
【0006】
他の一酸化二窒素を分解する方法として、光を使用する方法がある(特許文献1及び特許文献2参照)。
【先行技術文献】
【特許文献】
【0007】
特開2024-022455号公報
特開2024-021127号公報
【発明の概要】
【発明が解決しようとする課題】
【0008】
一酸化二窒素(以下、「N
2
O」と表記することがある。)を含むガスに光を照射すると、N
2
Oを窒素ガスと酸素ガスに分解できるが、この分解過程でN
2
Oの一部からNOxが生成されてしまう。本明細書において、NOxとは、一酸化窒素(以下、「NO」と表記することがある)、二酸化窒素(以下、「NO
2
」と表記することがある)、三酸化窒素(以下、「NO
3
」と表記することがある)、及び五酸化二窒素(以下、「N
2
O
5
」と表記することがある)を含む表現である。
【0009】
NOxは人体及び動物に悪影響を与えるので、N
2
Oの分解過程で生成されてしまったNOxを無害化するべく、硝酸(以下、「HNO
3
」と表記することがある。)に変換することを検討できる。N
2
OからHNO
3
を得ることは、N
2
Oを大気中に放出することなく固定化できるという利点と、N
2
Oから硝酸を作り出して利用するという利点とが得られる。硝酸は化学工業をはじめとする様々な産業分野で有用な物質であるから、N
2
Oから硝酸を得ることはビジネス面においても高い価値を有する。排出されるN
2
Oを分解することにより硝酸を得られる場合、硝酸自体を製造目的として製造していた硝酸の製造量も低減できる。硝酸の製造工程においても多量のN
2
Oを排出することから、今まで硝酸自体を製造目的として製造する際に排出していたN
2
Oの排出量も減らすことができる。
【0010】
N
2
Oを分解しHNO
3
を生成する化学反応について、詳細は後述するが、N
2
Oを分解しHNO
3
を生成するに至る反応経路は複雑である。本発明者らは、N
2
Oの分解が反応経路の途中で停止し、HNO
3
に到達せずNOxの状態で排出されるおそれがあることに気付いた。上述したように、NOxは人体及び動物に悪影響を与えるので、できるだけNOxの排出を抑制する必要がある。
(【0011】以降は省略されています)
この特許をJ-PlatPat(特許庁公式サイト)で参照する
関連特許
ウシオ電機株式会社
放電ランプ
28日前
ウシオ電機株式会社
細胞培養デバイス
22日前
ウシオ電機株式会社
外用剤及びキット
1か月前
ウシオ電機株式会社
導波路型光デバイスの製造方法
22日前
ウシオ電機株式会社
空気清浄装置および空気清浄システム
20日前
ウシオ電機株式会社
マイクロ流体デバイス及びその製造方法
1か月前
ウシオ電機株式会社
細胞培養デバイス、細胞培養デバイスの使用方法
1か月前
ウシオ電機株式会社
ガス分解方法、ガス分解装置及びガス分解システム
8日前
株式会社西部技研
除湿装置
1か月前
株式会社日本触媒
ドロー溶質
1か月前
プライミクス株式会社
攪拌装置
7日前
サンノプコ株式会社
消泡剤
1か月前
日本バイリーン株式会社
フィルタ
21日前
東レ株式会社
遠心ポッティング方法
28日前
トヨタ自動車株式会社
濾過装置
22日前
株式会社切川物産
撹拌装置
8日前
トヨタ紡織株式会社
フィルタ
1日前
松岡紙業 株式会社
油吸着体の製造方法
1か月前
個人
気液混合装置
1か月前
トヨタ紡織株式会社
水流帯電装置
1日前
栗田工業株式会社
ギ酸の回収方法
8日前
富士電機株式会社
ガス処理システム
1か月前
東芝ライテック株式会社
光照射装置
22日前
株式会社フクハラ
圧縮空気圧回路ユニット
1か月前
株式会社明電舎
成膜装置
1か月前
日本化薬株式会社
直鎖ブテン製造用触媒及びその使用
28日前
東芝ライテック株式会社
紫外線処理装置
7日前
ノリタケ株式会社
触媒材料およびその利用
1か月前
本田技研工業株式会社
二酸化炭素回収装置
1か月前
ノリタケ株式会社
触媒材料およびその利用
1か月前
本田技研工業株式会社
二酸化炭素回収装置
1か月前
本田技研工業株式会社
二酸化炭素回収装置
1か月前
ノリタケ株式会社
触媒材料およびその利用
1か月前
本田技研工業株式会社
二酸化炭素回収装置
1か月前
個人
フッ化炭素糸物にフッ素をコーティングした浄水手段
1か月前
いであ株式会社
PFAS除去用バイオ炭の製造方法
23日前
続きを見る
他の特許を見る