TOP
|
特許
|
意匠
|
商標
特許ウォッチ
Twitter
他の特許を見る
10個以上の画像は省略されています。
公開番号
2025167707
公報種別
公開特許公報(A)
公開日
2025-11-07
出願番号
2024072546
出願日
2024-04-26
発明の名称
空気清浄装置および空気清浄システム
出願人
ウシオ電機株式会社
代理人
個人
,
個人
主分類
F24F
8/22 20210101AFI20251030BHJP(加熱;レンジ;換気)
要約
【課題】シロキサンや微粒子など汚染物質を除去可能な空気清浄装置を提供する。
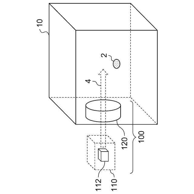
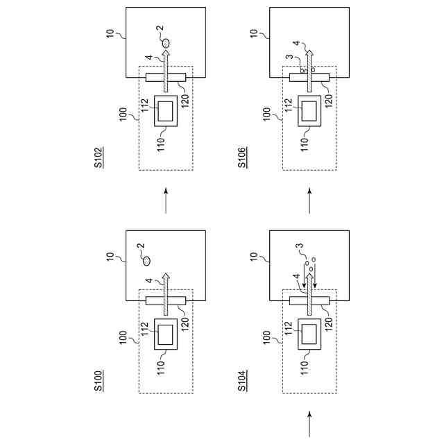
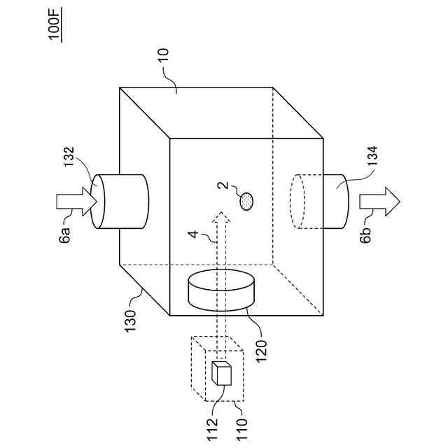
【解決手段】光源部110は、汚染物質2に対して光トラップ力を及ぼしうる強度を有するレーザビーム4を発生する少なくともひとつの紫外レーザ112を含む。付着部120は、レーザビーム4に対して透明であり、レーザビーム4の光路上に、清浄化すべき空気が存在する空間10に面して配置される。
【選択図】図1
特許請求の範囲
【請求項1】
汚染物質に対して光トラップ力を及ぼしうる強度を有するレーザビームを発生する少なくともひとつの紫外レーザを含む光源部と、
前記レーザビームに対して透明であり、前記レーザビームの光路上に清浄化すべき空気が存在する空間に面して配置された付着部と、
を備えることを特徴とする空気清浄装置。
続きを表示(約 730 文字)
【請求項2】
前記レーザビームの強度は、8MW/cm
2
以上であることを特徴とする請求項1に記載の空気清浄装置。
【請求項3】
前記紫外レーザは、GaN系の半導体レーザであることを特徴とする請求項1に記載の空気清浄装置。
【請求項4】
前記光源部は、複数の前記紫外レーザを含み、複数の紫外レーザは隣接して配置されることを特徴とする請求項1から3のいずれかに記載の空気清浄装置。
【請求項5】
前記付着部に汚染物質が付着した面を清浄な面に切り替え可能な切り替え機構をさらに備えることを特徴とする請求項1から3のいずれかに記載の空気清浄装置。
【請求項6】
前記切り替え機構は、前記付着部を交換可能としたことを特徴とする請求項5に記載の空気清浄装置。
【請求項7】
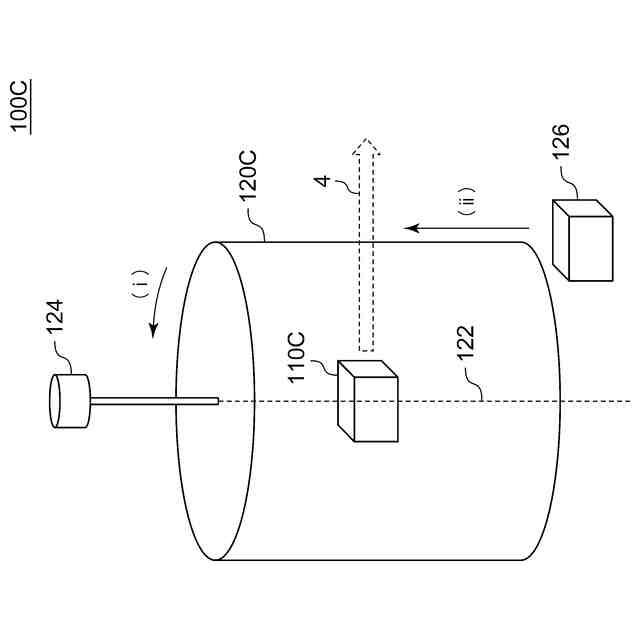
前記切り替え機構は、前記光源部を取り囲む円筒形状である前記付着部を、回動可能であることを特徴とする請求項5に記載の空気清浄装置。
【請求項8】
前記切り替え機構は、シート状である前記付着部を、ロール状に巻き取り可能であることを特徴とする請求項5に記載の空気清浄装置。
【請求項9】
前記付着部は、前記半導体レーザのチップが収容されるCANパッケージのガラス窓であることを特徴とする請求項3に記載の空気清浄装置。
【請求項10】
前記光源部と前記付着部に加えて空気を浄化するフィルタを備え、前記フィルタを通過した空気に前記レーザビームを照射することを特徴とする請求項1から3のいずれかに記載の空気清浄装置。
(【請求項11】以降は省略されています)
発明の詳細な説明
【技術分野】
【0001】
本開示は、空気清浄化技術に関する。
続きを表示(約 1,600 文字)
【背景技術】
【0002】
半導体デバイス等の製造、検査は、クリーンルーム内で行われる。クリーンルームには、ウルパフィルタ(ULPA:Ultra Low Penetration Air Filter)やヘパフィルタ(HEPA:High Efficiency Particulate Air Filter)等の高性能フィルタが設置されており、クリーンルーム内に飛散している種々のパーティクルを除去している。これらのフィルタはJIS規格にも規定されているが、へパフィルタでは、粒径が0.3μmの粒子に対して99.97%以上の粒子捕集率を有し、ウルパフィルタでは、粒径が0.15μmの粒子に対して99.9995%の粒子捕集率を有している。
【0003】
ところがこうした高性能フィルタでは除去できない物質として、ガス状シロキサンが知られている。ガス状シロキサンは、クリーンルーム内の気密性の保持を目的として使用されているシリコンシーラント、シリコンゲルなどのシール材等から発生したり、生産材料に付着た状態でクリーンルーム内に持ち込まれたり、作業者が使用する化粧品等から持ち込まれる。一方で、微小粒子を光で保持、移動する技術として光トラップ力(光ピンセットとも呼ばれる)が知られており、その原理は特許文献2や特許文献3で説明されている。
【先行技術文献】
【特許文献】
【0004】
特開2023-64231号公報
特開2003-231095号公報
特公平5-6136号公報
【発明の概要】
【発明が解決しようとする課題】
【0005】
シロキサンをはじめとする不純物が製造中の半導体デバイスに付着すると、デバイス特性を悪化させるなど、歩留まり低下の要因となる。
【0006】
本開示はかかる状況においてなされたものであり、そのある態様の例示的な目的のひとつは、シロキサンや微粒子など汚染物質を除去可能な空気清浄装置の提供にある。
【課題を解決するための手段】
【0007】
本開示のある態様の空気清浄装置は、汚染物質に対して光トラップ力を及ぼしうる強度を有するレーザビームを発生する少なくともひとつの紫外レーザを含む光源部と、レーザビームに対して透明であり、レーザビームの光路上に清浄化すべき空気が存在する空間に面して配置された付着部と、を備える。
【0008】
なお、以上の構成要素を任意に組み合わせたもの、構成要素や表現を、方法、装置、システムなどの間で相互に置換したものもまた、本発明あるいは本開示の態様として有効である。さらに、この項目(課題を解決するための手段)の記載は、本発明の欠くべからざるすべての特徴を説明するものではなく、したがって、記載されるこれらの特徴のサブコンビネーションも、本発明たり得る。
【発明の効果】
【0009】
本開示のある態様に係る空気清浄装置によれば、汚染物質を除去できる。
【図面の簡単な説明】
【0010】
実施形態に係る空気清浄装置を示す図である。
空気清浄装置の動作を説明する図である。
実施例1に係る空気清浄装置を示す図である。
実施例2に係る空気清浄装置を示す図である。
実施例3に係る空気清浄装置を示す図である。
実施例4に係る空気清浄装置を示す図である。
実施例5に係る空気清浄装置を示す図である。
実施例6に係る空気清浄装置を示す図である。
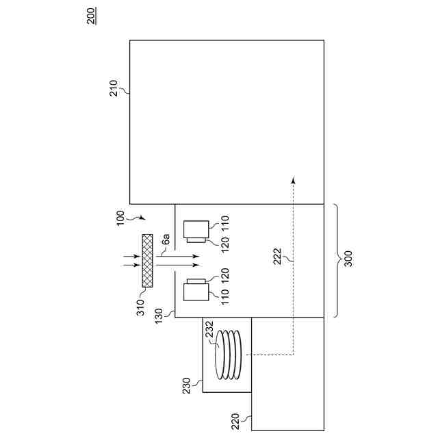
空気清浄装置を備える半導体製造装置を示す図である。
空気清浄装置を備える密閉型カセットを示す図である。
【発明を実施するための形態】
(【0011】以降は省略されています)
この特許をJ-PlatPat(特許庁公式サイト)で参照する
関連特許
ウシオ電機株式会社
放電ランプ
1か月前
ウシオ電機株式会社
半導体レーザ素子
1日前
ウシオ電機株式会社
細胞培養デバイス
24日前
ウシオ電機株式会社
外用剤及びキット
1か月前
ウシオ電機株式会社
半導体レーザ素子
1か月前
ウシオ電機株式会社
マイクロ流体デバイス
1か月前
ウシオ電機株式会社
導波路型光デバイスの製造方法
24日前
ウシオ電機株式会社
処理方法、処理装置及び処理システム
1日前
ウシオ電機株式会社
空気清浄装置および空気清浄システム
22日前
ウシオ電機株式会社
マイクロ流体デバイス及びその製造方法
1か月前
ウシオ電機株式会社
二酸化炭素吸収材、及び二酸化炭素の回収方法
1日前
ウシオ電機株式会社
紫外線治療装置および紫外線治療装置の動作方法
1日前
ウシオ電機株式会社
細胞培養デバイス、細胞培養デバイスの使用方法
1か月前
ウシオ電機株式会社
ガス分解方法、ガス分解装置及びガス分解システム
10日前
個人
集熱器具
22日前
個人
エアコン室内機
5か月前
株式会社トヨトミ
五徳
1か月前
株式会社コロナ
空調装置
2か月前
株式会社コロナ
空調装置
5か月前
個人
UFO型空気清浄機
10日前
株式会社コロナ
空調装置
1か月前
個人
油ハネ防止カーテン
25日前
株式会社コロナ
空調装置
3か月前
株式会社コロナ
空調装置
2か月前
株式会社コロナ
加湿装置
2か月前
株式会社コロナ
空調装置
1か月前
株式会社コロナ
給湯装置
4か月前
株式会社コロナ
空調装置
1か月前
株式会社コロナ
空気調和機
4か月前
個人
住宅換気空調システム
3か月前
株式会社コロナ
風呂給湯機
2か月前
個人
太陽光パネル傾斜装置
1か月前
株式会社コロナ
空気調和機
3か月前
株式会社コロナ
直圧式給湯機
3か月前
株式会社コロナ
温水暖房装置
1か月前
株式会社コロナ
暖房システム
2か月前
続きを見る
他の特許を見る