TOP
|
特許
|
意匠
|
商標
特許ウォッチ
Twitter
他の特許を見る
公開番号
2025151602
公報種別
公開特許公報(A)
公開日
2025-10-09
出願番号
2024053118
出願日
2024-03-28
発明の名称
二酸化炭素回収装置
出願人
本田技研工業株式会社
代理人
個人
,
個人
主分類
B01D
53/04 20060101AFI20251002BHJP(物理的または化学的方法または装置一般)
要約
【課題】複雑な部品を追加することなく、二酸化炭素の回収率を効果的に向上させることができる二酸化炭素回収装置を提供すること。
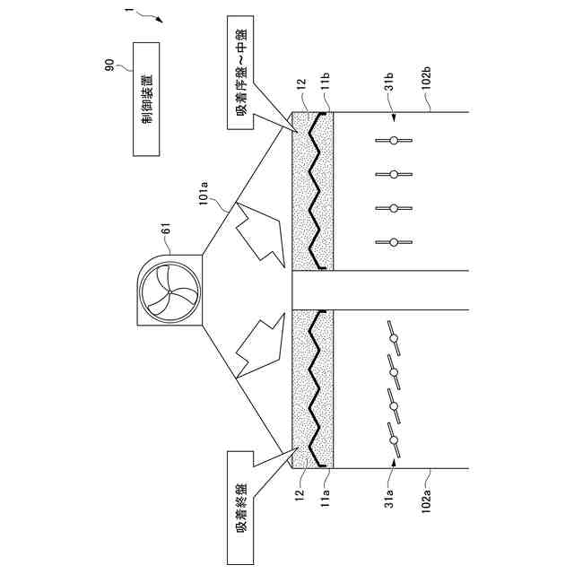
【解決手段】二酸化炭素回収装置1は、吸着材12を有するリアクター11と、気体が流通する吸気ライン101と、吸着材12を通過した後の気体が流通する排気ライン102と、排気ライン102に配置され、排気ライン102の経路を開閉可能な排気バルブ31と、吸気ライン101からリアクター11の内部の吸着材12に気体を送り込むファン61と、二酸化炭素を吸着材12に吸着させる吸着工程において、排気バルブ31によって排気ライン102の経路を開放した状態でファン61による気流を発生させる第1吸着制御と、第1吸着制御実行後に排気バルブ31によって排気ライン102の経路を閉鎖した状態で気流を発生させてリアクター11の内部圧力を上昇させる第2吸着制御を実行する制御装置90とを備える。
【選択図】図1
特許請求の範囲
【請求項1】
吸着材を内部に有するリアクターと、
前記リアクターの上流側に接続され、二酸化炭素を含む気体が流通する吸気ラインと、
前記リアクターの下流側に接続され、前記吸着材を通過した後の前記気体が流通する排気ラインと、
前記排気ラインに配置され、前記排気ラインの経路を開閉可能な排気開閉装置と、
前記吸気ラインから前記リアクターの内部の前記吸着材に前記気体を送り込む気流を発生させる気流発生装置と、
前記二酸化炭素を前記吸着材に吸着させる吸着工程において、前記排気開閉装置によって前記排気ラインの経路を開放した状態で前記気流発生装置による前記気流を発生させる第1吸着制御と、前記第1吸着制御実行後に前記排気開閉装置によって前記排気ラインの経路を閉鎖した状態で前記気流を発生させて前記リアクターの内部圧力を上昇させる第2吸着制御を実行する制御装置と、
を備える二酸化炭素回収装置。
続きを表示(約 420 文字)
【請求項2】
前記気流発生装置は、
前記吸気ラインにおける前記リアクターの上流側に配置されるファンである、
請求項1に記載の二酸化炭素回収装置。
【請求項3】
前記制御装置は、
前記リアクターを通過した前記気体の前記二酸化炭素の濃度が閾値を上回ると前記第1吸着制御から前記第2吸着制御に移行させる、
請求項1又は2に記載の二酸化炭素回収装置。
【請求項4】
前記制御装置は、
前記第1吸着制御を実行してから所定時間経過後に前記第2吸着制御に移行させる、
請求項1又は2に記載の二酸化炭素回収装置。
【請求項5】
前記リアクターは複数配置され、
前記制御装置は、
前記リアクターのそれぞれに対して前記第1吸着制御及び前記第2吸着制御を異なるタイミングで行うことができる、
請求項1又は2に記載の二酸化炭素回収装置。
発明の詳細な説明
【技術分野】
【0001】
本発明は、二酸化炭素回収装置に関する。
続きを表示(約 1,600 文字)
【背景技術】
【0002】
従来、大気等の二酸化炭素を含む気体から二酸化炭素を回収する技術が知られている。この種の技術が記載されるものとして例えば特許文献1がある。特許文献1には、ガス状二酸化炭素をガス混合物から、ガス状二酸化炭素を吸着する吸着剤を用いた循環式吸着/脱着によって、分離する方法が記載されている。
【先行技術文献】
【特許文献】
【0003】
特表2017-528318号公報
【発明の概要】
【発明が解決しようとする課題】
【0004】
二酸化炭素の回収量を増加させる方法として装置の大型化やポンプや熱源器の性能を向上させることが考えられる。しかし、装置構成の変更は、追加部品等が必要となる上、二酸化炭素回収装置の運用コストも上昇するおそれもある。装置構成の変更によるコスト増を回避しつつ、二酸化炭素の回収率を向上させるという観点で従来技術には改善の余地があった。
【0005】
本発明は、複雑な部品を追加することなく、二酸化炭素の回収率を効果的に向上させることができる二酸化炭素回収装置を提供することを目的とする。
【課題を解決するための手段】
【0006】
(1)本発明は、吸着材(例えば、後述する吸着材12)を内部に有するリアクター(例えば、後述するリアクター11、リアクター11a及びリアクター11b)と、前記リアクターの上流側に接続され、二酸化炭素を含む気体が流通する吸気ライン(例えば、後述する吸気ライン101、吸気ライン101a)と、前記リアクターの下流側に接続され、前記吸着材を通過した後の前記気体が流通する排気ライン(例えば、後述する排気ライン102、排気ライン102a及び排気ライン102b)と、前記排気ラインに配置され、前記排気ラインの経路を開閉可能な排気開閉装置(例えば、後述する排気バルブ31、排気バルブ31a及び排気バルブ31b)と、前記吸気ラインから前記リアクターの内部の前記吸着材に前記気体を送り込む気流を発生させる気流発生装置(例えば、後述するファン61)と、前記二酸化炭素を前記吸着材に吸着させる吸着工程において、前記排気開閉装置によって前記排気ラインの経路を開放した状態で前記気流発生装置による前記気流を発生させる第1吸着制御と、前記第1吸着制御実行後に前記排気開閉装置によって前記排気ラインの経路を閉鎖した状態で前記気流を発生させて前記リアクターの内部圧力を上昇させる第2吸着制御を実行する制御装置(例えば、後述する制御装置90)と、を備える二酸化炭素回収装置(例えば、後述する二酸化炭素回収装置)である。
【0007】
(2)上記(1)に記載の二酸化炭素回収装置において、前記気流発生装置は、前記吸気ラインにおける前記リアクターの上流側に配置されるファンであってもよい。
【0008】
(3)上記(1)又は(2)に記載の二酸化炭素回収装置において、前記制御装置は、前記リアクターを通過した前記気体の前記二酸化炭素の濃度が閾値を上回ると前記第1吸着制御から前記第2吸着制御に移行させてもよい。
【0009】
(4)上記(1)又は(2)に記載の二酸化炭素回収装置において、前記制御装置は、前記第1吸着制御を実行してから所定時間経過後に前記第2吸着制御に移行させてもよい。
【0010】
(5)上記(1)又は(2)に記載の二酸化炭素回収装置において、前記リアクター(例えば、後述するリアクター11a及びリアクター11b)は複数配置され、前記制御装置は、前記リアクターのそれぞれに対して前記第1吸着制御及び前記第2吸着制御を異なるタイミングで行うことができてもよい。
【発明の効果】
(【0011】以降は省略されています)
この特許をJ-PlatPat(特許庁公式サイト)で参照する
関連特許
本田技研工業株式会社
回転電機用ロータ
6日前
本田技研工業株式会社
スポット溶接方法
19日前
本田技研工業株式会社
回転電機のロータ
1か月前
本田技研工業株式会社
金属シリコンの製造方法
6日前
本田技研工業株式会社
情報処理方法及びプログラム
18日前
本田技研工業株式会社
制御装置、および、制御方法
19日前
本田技研工業株式会社
情報処理装置、情報処理方法、およびプログラム
18日前
本田技研工業株式会社
移動体の制御装置、移動体の制御方法、およびプログラム
13日前
本田技研工業株式会社
作動装置
18日前
本田技研工業株式会社
制御装置
20日前
本田技研工業株式会社
車両、制御方法、プログラム、記憶媒体、及び情報処理装置
18日前
本田技研工業株式会社
電池の充電状態の補正方法、電池均等化方法、端末機器及び車両
5日前
本田技研工業株式会社
移動体支援装置および移動体システム
1か月前
本田技研工業株式会社
熱媒体組み合わせ最適化装置、熱媒体組み合わせ最適化方法、および、熱媒体組み合わせ最適化プログラム
6日前
株式会社西部技研
除湿装置
1か月前
株式会社日本触媒
ドロー溶質
1か月前
プライミクス株式会社
攪拌装置
5日前
日本バイリーン株式会社
フィルタ
19日前
サンノプコ株式会社
消泡剤
1か月前
東レ株式会社
遠心ポッティング方法
26日前
トヨタ自動車株式会社
濾過装置
20日前
株式会社切川物産
撹拌装置
6日前
個人
気液混合装置
1か月前
大和ハウス工業株式会社
反応装置
1か月前
栗田工業株式会社
ギ酸の回収方法
6日前
松岡紙業 株式会社
油吸着体の製造方法
1か月前
富士電機株式会社
ガス処理システム
29日前
東芝ライテック株式会社
光照射装置
20日前
株式会社フクハラ
圧縮空気圧回路ユニット
1か月前
株式会社明電舎
成膜装置
29日前
日本化薬株式会社
直鎖ブテン製造用触媒及びその使用
26日前
東芝ライテック株式会社
紫外線処理装置
5日前
ノリタケ株式会社
触媒材料およびその利用
1か月前
本田技研工業株式会社
二酸化炭素回収装置
1か月前
本田技研工業株式会社
二酸化炭素回収装置
1か月前
本田技研工業株式会社
二酸化炭素回収装置
1か月前
続きを見る
他の特許を見る