TOP
|
特許
|
意匠
|
商標
特許ウォッチ
Twitter
他の特許を見る
公開番号
2025149601
公報種別
公開特許公報(A)
公開日
2025-10-08
出願番号
2024050347
出願日
2024-03-26
発明の名称
半導体レーザ素子
出願人
ウシオ電機株式会社
代理人
個人
,
個人
主分類
H01S
5/22 20060101AFI20251001BHJP(基本的電気素子)
要約
【課題】上部電極の段切れを防止しつつ、特性の劣化を抑制した半導体レーザ素子を提供する。
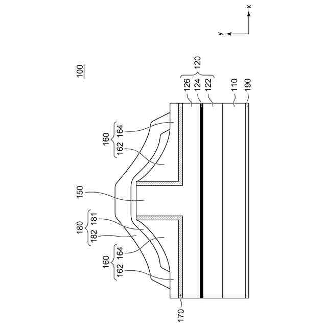
【解決手段】端面発光型の半導体レーザ素子100において、半導体基板110上には、下部クラッド層122、活性層124、上部クラッド層126を含む積層構造120が形成される。リッジ部150は、上部クラッド層126に形成される。傾斜部162は、リッジ部150の脇に形成される。上部電極180は、少なくとも傾斜部162およびリッジ部150を覆う。水素ブロック層170は、リッジ部150の側面と傾斜部162の間および傾斜部162の底面と上部クラッド層126の間に形成される絶縁膜である。
【選択図】図2
特許請求の範囲
【請求項1】
端面発光型の半導体レーザ素子であって、
半導体基板上に形成される下部クラッド層、活性層、上部クラッド層の積層構造と、
前記上部クラッド層に形成されるリッジ部と、
前記リッジ部の脇に形成される傾斜部と、
少なくとも前記傾斜部および前記リッジ部を覆う上部電極と、
前記リッジ部の側面と前記傾斜部の間および前記傾斜部の底面と前記上部クラッド層の間に形成される絶縁膜からなる水素ブロック層と、
を備えることを特徴とする半導体レーザ素子。
続きを表示(約 450 文字)
【請求項2】
前記傾斜部は、スピンオングラス材料、または、導電性ポリマー材料を含むことを特徴とする請求項1に記載の半導体レーザ素子。
【請求項3】
前記傾斜部と前記上部電極の間に形成された密着膜をさらに備えることを特徴とする請求項1または2に記載の半導体レーザ素子。
【請求項4】
前記密着膜はその端部において、前記水素ブロック層と接していることを特徴とする請求項3に記載の半導体レーザ素子。
【請求項5】
前記上部電極は、前記傾斜部と接する第1金属膜と、前記第1金属膜の上に形成される第2金属膜を含み、
前記第2金属膜は、その端部において前記密着膜と接することを特徴とする請求項4に記載の半導体レーザ素子。
【請求項6】
前記水素ブロック層を構成する前記絶縁膜の材料はSiN、SiO
2
、SiONから選択される少なくとも一つの材料を含むことを特徴とする請求項1または2に記載の半導体レーザ素子。
発明の詳細な説明
【技術分野】
【0001】
本開示は、半導体レーザ素子に関する。
続きを表示(約 1,700 文字)
【背景技術】
【0002】
端面発光型の半導体レーザ素子には、活性層に注入する電流密度を高めるために、電流狭窄構造が形成される。この電流狭窄構造として、素子表面側に配置される上部クラッド層(P型クラッド層)にリッジ部を設け、同リッジ部に上部電極(P側電極)を接続する構造が広く採用される。リッジ部を有する導波路は、リッジ型導波路あるいはストライプ型導波路とも称される。
【先行技術文献】
【特許文献】
【0003】
特開2004-363147号公報
特開2002-299763号公報
【発明の概要】
【発明が解決しようとする課題】
【0004】
リッジ部とリッジ脇の上部クラッド層には急峻な段差が存在する。この段差を横切る形で、上部電極(配線)を形成すると、上部電極の段切れが発生する場合がある。本発明者は、段切れの対策として、スピンオングラス(SOG:Spin-On-Glass)材料などの、粘性の高い材料でリッジ部側面に傾斜部を作り、傾斜部上に電極を形成することで段切れの防止を行う構造を検討し、以下の課題を認識するに至った。
【0005】
傾斜部を形成する塗布膜材料を硬化するためには熱処理が用いられる。塗布膜材料や塗布膜材料を溶かし込む有機溶媒には水素原子が含まれており、熱処理によって塗布膜材料等から水素が発生する。塗布膜材料等から発生した水素が半導体層に混入すると、レーザの特性を劣化させる。たとえば、水素が半導体層に添加したドーパントのMgを不活性化する。Mgの不活性化は、半導体レーザ素子の駆動電圧のばらつき、しきい値電流のばらつきなどの原因となる。これらのばらつきは、同一駆動電流に対する光出力ばらつきの原因となる。なお、この課題を当業者の一般的な認識として捉えてはならず、さらに言えば本発明者らが独自に認識したものである。
【0006】
本開示のある態様はかかる状況においてなされたものであり、その例示的な目的のひとつは、上部電極の段切れを防止しつつ、特性の劣化を抑制した半導体レーザ素子の提供にある。
【課題を解決するための手段】
【0007】
本開示のある態様は、端面発光型の半導体レーザ素子に関する。半導体レーザ素子は、半導体基板上に形成される下部クラッド層、活性層、上部クラッド層の積層構造と、上部クラッド層に形成されるリッジ部と、リッジ部の脇に形成される傾斜部と、少なくともリッジ部および傾斜部を覆う上部電極と、リッジ部の側面と傾斜部の間および傾斜部の底面と上部クラッド層の間に形成され、傾斜部から上部クラッド層への水素の侵入を阻止する水素ブロック層と、を備える。
【0008】
なお、以上の構成要素を任意に組み合わせたもの、構成要素や表現を、方法、装置、システムなどの間で相互に置換したものもまた、本発明あるいは本開示の態様として有効である。さらに、この項目(課題を解決するための手段)の記載は、本発明の欠くべからざるすべての特徴を説明するものではなく、したがって、記載されるこれらの特徴のサブコンビネーションも、本発明たり得る。
【発明の効果】
【0009】
本開示のある態様によれば、上部電極の段切れを防止しつつ、半導体レーザ素子の特性の劣化を抑制できる。
【図面の簡単な説明】
【0010】
実施形態に係る半導体レーザ素子の斜視図である。
図1の半導体レーザ素子の光出射方向に直交する面で切断した断面図である。
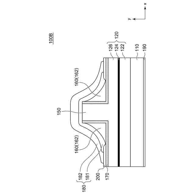
変形例1に係る半導体レーザ素子の図2と同方向から見た断面図である。
変形例2に係る半導体レーザ素子の図2と同方向から見た断面図である。
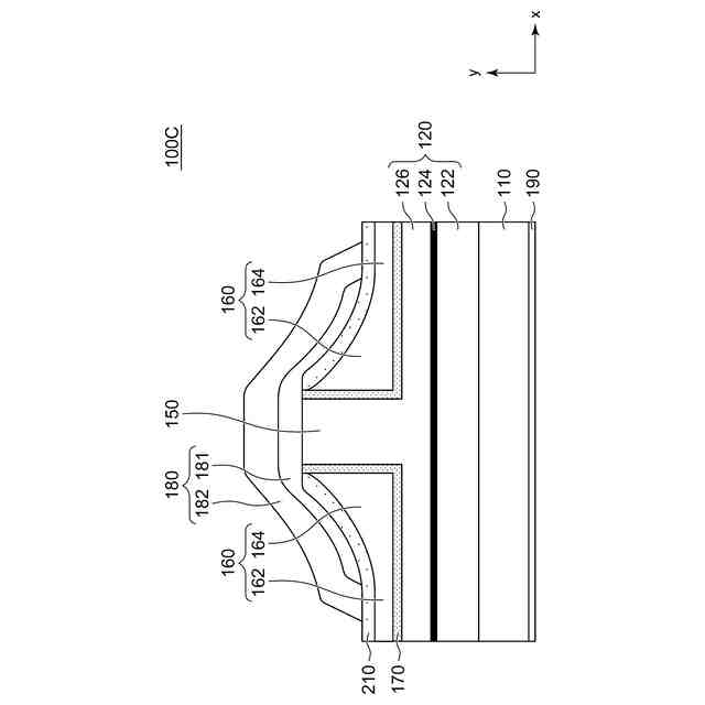
変形例3に係る半導体レーザ素子の図2と同方向から見た断面図である。
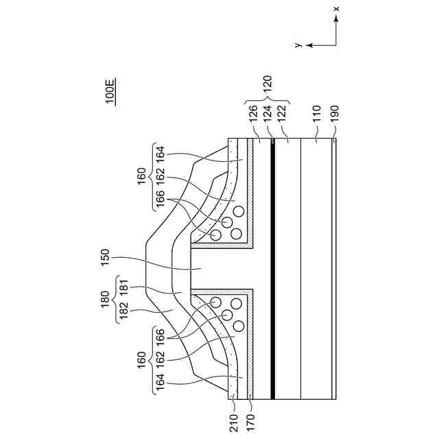
変形例4に係る半導体レーザ素子の図2と同方向から見た断面図である。
変形例5に係る半導体レーザ素子の図2と同方向から見た断面図である。
【発明を実施するための形態】
(【0011】以降は省略されています)
この特許をJ-PlatPat(特許庁公式サイト)で参照する
関連特許
ウシオ電機株式会社
半導体レーザ素子
今日
ウシオ電機株式会社
処理方法、処理装置及び処理システム
今日
ウシオ電機株式会社
二酸化炭素吸収材、及び二酸化炭素の回収方法
今日
ウシオ電機株式会社
紫外線治療装置および紫外線治療装置の動作方法
今日
ウシオ電機株式会社
ガス分解方法、ガス分解装置及びガス分解システム
9日前
東ソー株式会社
絶縁電線
1か月前
APB株式会社
蓄電セル
1か月前
マクセル株式会社
電源装置
29日前
ローム株式会社
半導体装置
1か月前
株式会社東芝
端子台
29日前
日新イオン機器株式会社
イオン源
1か月前
株式会社GSユアサ
蓄電装置
8日前
株式会社GSユアサ
蓄電設備
1か月前
株式会社GSユアサ
蓄電設備
1か月前
株式会社GSユアサ
蓄電装置
1か月前
株式会社GSユアサ
蓄電装置
1か月前
太陽誘電株式会社
コイル部品
1か月前
株式会社ホロン
冷陰極電子源
1か月前
三菱電機株式会社
回路遮断器
16日前
富士電機株式会社
電磁接触器
8日前
株式会社GSユアサ
蓄電装置
22日前
トヨタ自動車株式会社
蓄電装置
今日
日本特殊陶業株式会社
保持装置
1か月前
北道電設株式会社
配電具カバー
1か月前
大電株式会社
電線又はケーブル
今日
日新イオン機器株式会社
基板処理装置
1か月前
日本特殊陶業株式会社
保持装置
21日前
ホシデン株式会社
複合コネクタ
2日前
トヨタ自動車株式会社
冷却構造
1か月前
トヨタ自動車株式会社
蓄電装置
1か月前
トヨタ自動車株式会社
バッテリ
1か月前
サクサ株式会社
電池の固定構造
1か月前
株式会社トクヤマ
シリコンエッチング液
1か月前
トヨタ自動車株式会社
電池パック
1か月前
ベストテック株式会社
装置支持具
1か月前
株式会社デンソー
電子装置
1か月前
続きを見る
他の特許を見る