TOP
|
特許
|
意匠
|
商標
特許ウォッチ
Twitter
他の特許を見る
10個以上の画像は省略されています。
公開番号
2025174077
公報種別
公開特許公報(A)
公開日
2025-11-28
出願番号
2024080126
出願日
2024-05-16
発明の名称
処理方法、処理装置及び処理システム
出願人
ウシオ電機株式会社
代理人
弁理士法人ユニアス国際特許事務所
主分類
C08J
7/00 20060101AFI20251120BHJP(有機高分子化合物;その製造または化学的加工;それに基づく組成物)
要約
【課題】処理効率を高めた処理方法及び処理装置を提供する。
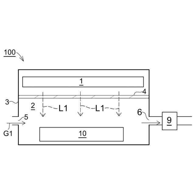
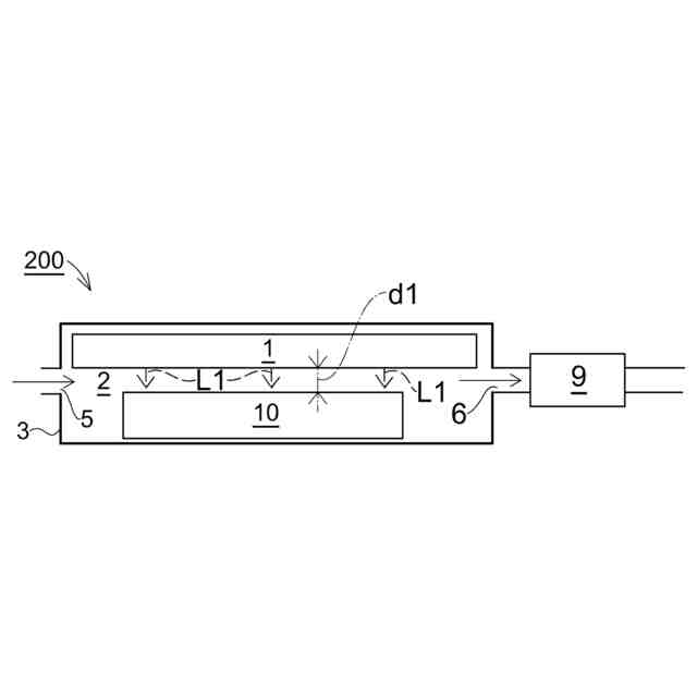
【解決手段】処理方法は、二酸化炭素を含み、かつ、酸素濃度が1000ppm以下である原料ガスに、発光波長が227nm以下の紫外光を照射し、大気空間から隔離された処理チャンバ内部において、前記紫外光が照射された前記原料ガスを被処理物に接触させて前記被処理物を処理する。処理装置は、発光波長が227nm以下の紫外光を出射する光源と、外から隔離することができ、内部に被処理物を載置する領域を有し、および、二酸化炭素を含み、かつ、酸素濃度が1000ppm以下である原料ガスを供給する原料ガス供給源に接続される原料ガス供給口を有する、処理チャンバと、を備え、前記紫外光を前記原料ガスに照射し、照射後の前記原料ガスを前記被処理物に接触させて被処理物を処理する。
【選択図】図1
特許請求の範囲
【請求項1】
二酸化炭素を含み、かつ、酸素濃度が1000ppm以下である原料ガスに、発光波長が227nm以下の紫外光を照射し、
大気空間から隔離された処理チャンバ内部において、前記紫外光が照射された前記原料ガスを被処理物に接触させて前記被処理物を処理する、処理方法。
続きを表示(約 1,100 文字)
【請求項2】
前記原料ガスに含まれる二酸化炭素の濃度は5vol%以上であることを特徴とする、請求項1に記載の処理方法。
【請求項3】
前記紫外光が照射された前記原料ガス中の一酸化炭素の量を低減することを特徴とする、請求項1に記載の処理方法。
【請求項4】
一酸化炭素の量を低減した前記原料ガスに前記紫外光を再び照射し、照射された前記原料ガスを前記被処理物に再び接触させて、前記被処理物を処理することを特徴とする、請求項3に記載の処理方法。
【請求項5】
前記紫外光が照射された前記原料ガスを循環させて再び被処理物に通流させる循環機構を利用して、前記紫外光が照射された前記原料ガスを、再び前記紫外光が照射される領域に通流させること、及び、再び前記被処理物に接触させること、を行うことを特徴とする、請求項1に記載の処理方法。。
【請求項6】
前記紫外光が前記被処理物の表面に照射されるように、前記紫外光を出射する光源と前記被処理物が配置されることを特徴とする、請求項1~5のいずれか一項に記載の処理方法。
【請求項7】
前記紫外光が前記被処理物の表面に照射されない位置に、前記紫外光を出射する光源と前記被処理物が配置され、
前記原料ガスは、前記紫外光に照射された後で前記被処理物に接触することを特徴とする、請求項1~5のいずれか一項に記載の処理方法。
【請求項8】
被処理物を処理する処理装置であって、
前記処理装置は、
発光波長が227nm以下の紫外光を出射する光源と、
外から隔離することができ、かつ、内部に被処理物を載置する領域を有する処理チャンバであって、原料ガス供給源に接続される原料ガス供給口をさらに有する、処理チャンバと、を備え、
前記原料ガス供給源から供給される原料ガスは、二酸化炭素を含み、かつ、酸素濃度が1000ppm以下であり、
前記処理装置は、前記紫外光を前記原料ガスに照射し、照射後の前記原料ガスを前記被処理物に接触させて前記被処理物を処理することを特徴とする、処理装置。
【請求項9】
前記原料ガス供給源に含まれる二酸化炭素の濃度は5vol%以上であることを特徴とする、請求項8に記載の処理装置。
【請求項10】
前記紫外光が照射された後の前記原料ガス中の一酸化炭素の量を低減する一酸化炭素低減部を備えることを特徴とする、請求項8に記載の処理装置。
(【請求項11】以降は省略されています)
発明の詳細な説明
【技術分野】
【0001】
本発明は、二酸化炭素を含む原料ガスの活性種を使用して被処理物を処理する、処理方法、処理装置及び処理システムに関する。
続きを表示(約 1,700 文字)
【背景技術】
【0002】
酸素ガスを含む雰囲気下で波長が172nmの真空紫外光を被処理物に照射し、オゾンを生成し、さらにオゾンから励起状態の原子状酸素O(
1
D)を生成して被処理物の表面改質や洗浄を行う方法が知られている(特許文献1参照)。
【先行技術文献】
【特許文献】
【0003】
特開2004-152842号公報
【発明の概要】
【発明が解決しようとする課題】
【0004】
酸素やオゾンを紫外光で分解することで得られる、基底状態の原子状酸素O(
3
P)や、励起状態の原子状酸素O(
1
D)(以下、これらをまとめて「原子状酸素」と表記することがある)は、被処理物の表面改質や洗浄を行うために有効な原料である。処理効率を高めるためには、雰囲気中の酸素ガス濃度を高めて、原子状酸素を増やすことが一番に想起される。しかしながら、雰囲気中の酸素ガス濃度を高めると、真空紫外光が雰囲気中の酸素ガスに吸収されて、被処理物の表面に到達する真空紫外光の光量(即ち、被処理物表面における照度)が低下する。
【0005】
照度低下の問題だけならば、真空紫外光源を被処理物に近づけることで真空紫外光が酸素ガスに吸収される量を低下させればよい。ところが、酸素ガスから得る原子状酸素は、周囲の酸素分子との衝突によりオゾンに戻りやすいという問題もあり、処理効率の点で改善の余地があった。
【0006】
本発明は、処理効率を高めた処理方法、処理装置及び処理システムを提供することを目的とする。
【課題を解決するための手段】
【0007】
本発明の方法は、原料ガスに二酸化炭素ガスを使用し、二酸化炭素ガスから原子状酸素を得る。即ち、本発明の処理方法は、二酸化炭素を含み、かつ、酸素濃度が1000ppm以下である原料ガスに、発光波長が227nm以下の紫外光を照射し、
大気空間から隔離された処理チャンバ内部において、前記紫外光が照射された前記原料ガスを被処理物に接触させて前記被処理物を処理する。
【0008】
本明細書において、発光波長で紫外光を特定する場合、当該紫外光は特定された波長範囲以外の波長に強度を有するか否かを問わない。例えば、「発光波長が227nm以下の紫外光」とは、当該紫外光の発光スペクトルにおいて、227nm超の波長帯域に強度を示しているか、又は、示していないかに拘わらず、227nm以下の波長帯域に強度を示す紫外光は、全て「発光波長が227nm以下の紫外光」に該当する。なお、本明細書には、「主たる発光波長が227nm以下の光」という表現が登場するが、この表現の意味については後述する。
【0009】
詳細は後述するが、二酸化炭素に発光波長が227nm以下の紫外光を照射すると、原子状酸素O(
1
D)又は原子状酸素O(
3
P)が生成される。O(
3
P)は、O(
1
D)と同様に、被処理物の表面改質や洗浄に使用できる。特筆すべきは、酸素ガス雰囲気中では、O(
3
P)は雰囲気中の酸素分子と結合してオゾンに変換されるところ、酸素ガス濃度が1000ppm以下である雰囲気中では、O(
3
P)は雰囲気中の酸素分子と結合されにくいために、多量の原子状酸素O(
3
P)を維持できることである。その結果、多量の原子状酸素O(
3
P)により表面改質や洗浄を行うことができる。この点が、酸素ガスではなく、二酸化炭素ガスから原子状酸素を得る最大の利点である。
【0010】
前記処理方法は、前記原料ガスに含まれる二酸化炭素の濃度は5vol%以上であっても構わない。二酸化炭素の濃度が5vol%以上になると、二酸化炭素を使用しない酸素ガス雰囲気下よりもO(
3
P)の生成効率が高くなる。
(【0011】以降は省略されています)
この特許をJ-PlatPat(特許庁公式サイト)で参照する
関連特許
ウシオ電機株式会社
放電ランプ
1か月前
ウシオ電機株式会社
半導体レーザ素子
1日前
ウシオ電機株式会社
細胞培養デバイス
24日前
ウシオ電機株式会社
外用剤及びキット
1か月前
ウシオ電機株式会社
導波路型光デバイスの製造方法
24日前
ウシオ電機株式会社
処理方法、処理装置及び処理システム
1日前
ウシオ電機株式会社
空気清浄装置および空気清浄システム
22日前
ウシオ電機株式会社
マイクロ流体デバイス及びその製造方法
1か月前
ウシオ電機株式会社
二酸化炭素吸収材、及び二酸化炭素の回収方法
1日前
ウシオ電機株式会社
紫外線治療装置および紫外線治療装置の動作方法
1日前
ウシオ電機株式会社
細胞培養デバイス、細胞培養デバイスの使用方法
1か月前
ウシオ電機株式会社
ガス分解方法、ガス分解装置及びガス分解システム
10日前
株式会社カネカ
断熱材
22日前
東ソー株式会社
ペレット
1か月前
株式会社カネカ
硬化性組成物
4か月前
ユニチカ株式会社
透明シート
3か月前
ユニチカ株式会社
透明シート
2か月前
株式会社コバヤシ
成形体
1か月前
東レ株式会社
熱硬化性樹脂組成物
3か月前
東レ株式会社
引抜成形品の製造方法
3か月前
住友精化株式会社
吸水剤の製造方法
2か月前
丸住製紙株式会社
変性パルプ
2か月前
東ソー株式会社
ゴム用接着性改質剤
1か月前
東ソー株式会社
プラスチゾル組成物
22日前
東レ株式会社
ポリエステルフィルム
2か月前
東レ株式会社
ポリエステルフィルム
1か月前
東ソー株式会社
エチレン系重合用触媒
25日前
東レ株式会社
ポリプロピレンフィルム
1か月前
東ソー株式会社
樹脂組成物および蓋材
2か月前
東ソー株式会社
樹脂組成物および蓋材
2か月前
横浜ゴム株式会社
重荷重タイヤ
1か月前
東レ株式会社
ポリオレフィン微多孔膜
4か月前
花王株式会社
樹脂組成物
4か月前
日本特殊陶業株式会社
樹脂成形体
2か月前
株式会社スリーボンド
硬化性樹脂組成物
1か月前
アイカ工業株式会社
光硬化性樹脂組成物
1か月前
続きを見る
他の特許を見る