TOP
|
特許
|
意匠
|
商標
特許ウォッチ
Twitter
他の特許を見る
10個以上の画像は省略されています。
公開番号
2025171460
公報種別
公開特許公報(A)
公開日
2025-11-20
出願番号
2024076829
出願日
2024-05-09
発明の名称
樹脂部材の加工装置および加工方法
出願人
国立大学法人 筑波大学
代理人
個人
,
個人
,
個人
,
個人
,
個人
主分類
B29C
59/16 20060101AFI20251113BHJP(プラスチックの加工;可塑状態の物質の加工一般)
要約
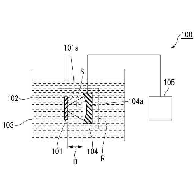
【課題】樹脂部材の表面において、表面の滑らかさを維持しつつ容易に、所定の領域を突出させること、および、所定の領域の透明度を変化させることを可能とする、樹脂部材の加工装置および加工方法を提供する。
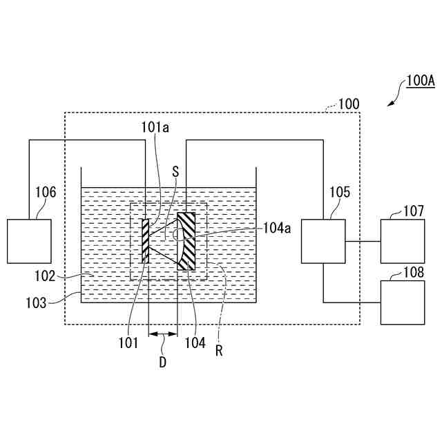
【解決手段】本発明の樹脂部材の加工装置100は、樹脂部材101の表面を加工する加工装置であって、液体102を収容した液槽103と、液体102内において、樹脂部材101の表面に対向し、表面に超音波Sを照射する少なくとも一つの超音波振動子104と、超音波Sを制御する超音波制御手段105と、を備え、超音波振動子104は、超音波Sの照射範囲を集束させる構造を有する。
【選択図】図1
特許請求の範囲
【請求項1】
樹脂部材の表面を加工する加工装置であって、
液体を収容した液槽と、
前記液体内において、前記樹脂部材の表面に対向し、前記表面に超音波を照射する少なくとも一つの超音波振動子と、
前記超音波を制御する超音波制御手段と、を備え、
前記超音波振動子は、前記超音波の照射範囲を集束させる構造を有することを特徴とする樹脂部材の加工装置。
続きを表示(約 970 文字)
【請求項2】
前記樹脂部材と前記超音波振動子との相対的な位置関係を調整する位置調整手段を、さらに有することを特徴とする請求項1に記載の樹脂部材の加工装置。
【請求項3】
請求項1または2のいずれかに記載の樹脂部材の加工装置を用いた、樹脂部材の加工方法であって、
前記樹脂部材の表面における所定位置に超音波が照射されるように、前記樹脂部材と前記超音波振動子との相対的な位置関係を調整する位置調整工程と、
前記超音波を制御して前記所定位置に照射する超音波照射工程と、
前記超音波の焦点を、前記所定位置に合うように調整する焦点調整工程と、を有し、
前記所定位置に、前記焦点を合わせた前記超音波を照射することを特徴とする樹脂部材の加工方法。
【請求項4】
前記所定位置に、前記焦点を合わせた前記超音波を照射した後に、
前記位置調整工程、前記超音波照射工程、および前記焦点調整工程を、それぞれ一回以上繰り返し、
前記樹脂部材の表面における少なくとも一つの他の所定位置に、前記焦点を合わせた前記超音波を照射することを特徴とする請求項3に記載の樹脂部材の加工方法。
【請求項5】
前記焦点調整工程において、前記超音波の焦点の数を、前記樹脂部材の表面における複数の前記所定位置のそれぞれに対し、同時に合わせられるように調整することを特徴とする請求項3に記載の樹脂部材の加工方法。
【請求項6】
前記超音波照射工程において、前記超音波の周波数を、20000Hz以上、1000000000Hz以下の範囲とすることを特徴とする請求項3に記載の樹脂部材の加工方法。
【請求項7】
前記超音波照射工程において、前記超音波の強度を、0.01W/cm
2
以上、100000W/cm
2
以下の範囲とすることを特徴とする請求項3に記載の樹脂部材の加工方法。
【請求項8】
前記液体として、水、油、グリセリン、界面活性剤溶液、酸性または塩基性溶液、食塩水、アルコール類、超音波専用の洗浄液からなる群から選択される少なくとも一つを用いることを特徴とする請求項3に記載の樹脂部材の加工方法。
発明の詳細な説明
【技術分野】
【0001】
本発明は、樹脂部材の加工装置および加工方法に関する。
続きを表示(約 1,500 文字)
【背景技術】
【0002】
レーザーカッター、CNC(コンピュータ数値制御)、3Dプリンタ等を用いて、樹脂部材の表面の形状を加工する技術が知られている。レーザーカッターは、レーザー照射によって、樹脂部材の所定の部分を削る技術である。CNCは、位置、向き等を自動制御された切削工具により、樹脂部材の所定の部分を削る技術である。3Dプリンタは、樹脂部材の所定の部分を、3Dデータに基づき、複数回のフィラメントの積層によって形成する技術である。
【0003】
レーザーカッター、CNCのように樹脂部材の表面を削って加工する場合、削り面が形成されるため、滑らかな形状が得られにくい。また、この場合には、削りカスが出てしまう。3Dプリンタのように、樹脂部材の表面にフィラメントを積層する場合、積層に手間がかかるため、複雑な形状に加工することが難しい。また、いずれの方法を用いても、樹脂部材の表面において所定の領域を突出させ、透明度を変化させることは難しい。
【0004】
樹脂部材の表面に対し、エンボス加工(突起を作る加工)を行う場合、従来の加工方法としては、超音波エンボス加工、ホットローラー加工等の型を使用して押し出す方法が知られている。この方法では、加工の精密さを維持する観点から、加工される樹脂部材の厚みに制限が加わることになる。加工される樹脂部材が厚いほど、加工精度が低下してしまう。樹脂部材の厚みを制限したとしても、従来の加工方法では、加工で得られるエンボスのサイズを、マイクロメートル単位より大きくすることは難しい。
【先行技術文献】
【特許文献】
【0005】
特開平9-271970号公報
【発明の概要】
【発明が解決しようとする課題】
【0006】
本発明は上記事情に鑑みてなされたものであり、樹脂部材の表面において、表面の滑らかさを維持しつつ容易に所定の領域を突出させること、および、所定の領域の透明度を変化させることを可能とする、樹脂部材の加工装置および加工方法を提供することを目的とする。
【課題を解決するための手段】
【0007】
上記課題を解決するため、本発明は以下の手段を採用している。
【0008】
(1)本発明の一態様に係る樹脂部材の加工装置は、樹脂部材の表面を加工する加工装置であって、液体を収容した液槽と、前記液体内において、前記樹脂部材の表面に対向し、前記表面に超音波を照射する少なくとも一つの超音波振動子と、前記超音波を制御する超音波制御手段と、を備え、前記超音波振動子は、前記超音波の照射範囲を集束させる構造を有する。
【0009】
(2)前記(1)に記載の樹脂部材の加工装置において、前記樹脂部材と前記超音波振動子との相対的な位置関係を調整する位置調整手段を、さらに有することが好ましい。
【0010】
(3)本発明の一態様に係る樹脂部材の加工方法は、前記(1)または(2)のいずれかに記載の樹脂部材の加工装置を用いた、樹脂部材の加工方法であって、前記樹脂部材の表面における所定位置に超音波が照射されるように、前記樹脂部材と前記超音波振動子との相対的な位置関係を調整する位置調整工程と、前記超音波を制御して前記所定位置に照射する超音波照射工程と、前記超音波の焦点を、前記所定位置に合うように調整する焦点調整工程と、を有し、前記所定位置に、前記焦点を合わせた前記超音波を照射する。
(【0011】以降は省略されています)
この特許をJ-PlatPat(特許庁公式サイト)で参照する
関連特許
国立大学法人 筑波大学
制振機構
1か月前
国立大学法人 筑波大学
制振機構
1か月前
国立大学法人 筑波大学
制振機構
1か月前
国立大学法人 筑波大学
表面検査方法
6か月前
国立大学法人 筑波大学
電力平準化装置
6か月前
国立大学法人 東京大学
せん妄判定方法
3か月前
国立大学法人 筑波大学
超音波検査装置
2か月前
国立大学法人 筑波大学
火災検出システム
1か月前
国立大学法人 筑波大学
火災検出システム
1か月前
国立大学法人 筑波大学
火災検出システム
1か月前
国立大学法人 筑波大学
火災検出システム
1か月前
国立大学法人 筑波大学
レオロジー測定装置
1か月前
国立大学法人 筑波大学
麹菌組織物の製造方法
2か月前
国立大学法人 筑波大学
眼科装置及び眼科装置の作動方法
2日前
国立大学法人 筑波大学
がん抑制剤およびがん抑制用医薬
1か月前
国立大学法人 筑波大学
樹脂部材の加工装置および加工方法
1日前
NTT株式会社
復号装置及び復号方法
1か月前
国立大学法人 筑波大学
測定装置、観察システム、及び測定方法
3か月前
国立大学法人 筑波大学
測定方法、測定装置、及び観察システム
3か月前
国立大学法人 筑波大学
フィラグリン遺伝子型決定法およびキット
4か月前
国立大学法人 筑波大学
微生物、植物成長補助剤、及び植物の生育方法
4か月前
国立大学法人 筑波大学
オンサイト参加システム及びオンサイト参加方法
3か月前
国立大学法人 筑波大学
補正装置、撮影装置、補正方法および撮影システム
3か月前
国立大学法人 筑波大学
殺虫剤、殺虫活性を有する新規化合物及びその用途
14日前
NTT株式会社
映像処理装置、方法及びプログラム
1か月前
国立大学法人 筑波大学
紙及びその製造方法並びに紙用改質剤及びその製造方法
7か月前
NTT株式会社
情報処理装置、方法およびプログラム
2か月前
NTT株式会社
推論装置、推論方法、及びプログラム
3か月前
NTT株式会社
データ解析装置、方法およびプログラム
2か月前
国立大学法人 筑波大学
慣性力設定装置、慣性力設定システム及び慣性力設定方法
3か月前
国立大学法人 筑波大学
放射線遮蔽材用焼結体粒子、その製造方法及びその使用方法
29日前
国立大学法人 筑波大学
反応性スパッタリング方法及び反応性スパッタリングシステム
2か月前
国立大学法人 筑波大学
表面検査装置
4か月前
国立大学法人 筑波大学
光学素子、光線制御装置とその製造方法、およびディスプレイ
1か月前
NTT株式会社
情報処理装置、情報処理方法及びプログラム
2か月前
三菱重工業株式会社
移動体、自己位置推定方法及びプログラム
1か月前
続きを見る
他の特許を見る