TOP
|
特許
|
意匠
|
商標
特許ウォッチ
Twitter
他の特許を見る
10個以上の画像は省略されています。
公開番号
2025152824
公報種別
公開特許公報(A)
公開日
2025-10-10
出願番号
2024054944
出願日
2024-03-28
発明の名称
施工管理装置
出願人
株式会社奥村組
,
株式会社DTSインサイト
代理人
弁理士法人翔和国際特許事務所
主分類
G06Q
50/08 20120101AFI20251002BHJP(計算;計数)
要約
【課題】建築物の施工の進捗状況を把握する施工管理装置を提供する。
【解決手段】施工管理装置100は、建築現場及びその周辺の地形や、建築現場及びその周辺に存在している建築物の測量データに基づき地形及び建築物を三次元モデル化し、地形及び建築物の三次元モデルに基づき建築現場全体の三次元モデルデータを作成する三次元モデルデータ作成部201、建築現場での工事計画データを取得する工事計画データ取得部202、工事計画データ、三次元モデルデータ及び建築現場で用いる建設機械の三次元モデルに基づき、指定された時点における建築現場の状態のシミュレーション現場モデルを生成するシミュレーション現場モデル生成部203、建築現場の外観を計測する計測機器から、建築現場の外観を表す外観データを取得する外観データ取得部204及びシミュレーション現場モデルと外観データを所定の表示機器に表示させる表示制御部205を備える。
【選択図】図2A
特許請求の範囲
【請求項1】
建築現場およびその周辺の地形、並びに前記建築現場およびその周辺に存在している建築物を測量して得られる測量データに基づいて前記地形および前記建築物を三次元モデル化し、さらに、前記地形および前記建築物の三次元モデルに基づいて前記建築現場全体の三次元モデルデータを作成する三次元モデルデータ作成部と、
前記建築現場にて行われる工事の工事計画データを取得する工事計画データ取得部と、
前記工事計画データ、前記三次元モデルデータ、および前記建築現場において用いられる建設機械の三次元モデルに基づいて、指定された時点における前記建築現場の状態をシミュレートし、シミュレーション現場モデルを生成するシミュレーション現場モデル生成部と、
前記建築現場の現実の外観を計測する計測機器から、前記建築現場の現実の外観を表す外観データを取得する外観データ取得部と、
前記シミュレーション現場モデルおよび前記外観データを所定の表示機器に表示させる表示制御部と、
を備える施工管理装置。
続きを表示(約 550 文字)
【請求項2】
前記外観データおよび前記シミュレーション現場モデルを比較して差分を表示させる差分表示制御部と、
前記差分に応じた作業工程の変更を受け付ける受付部と、
を更に備える、請求項1に記載の施工管理装置。
【請求項3】
前記表示制御部は、前記外観データと前記シミュレーション現場モデルとを並べて表示させる、請求項1又は2に記載の施工管理装置。
【請求項4】
前記表示制御部は、前記外観データと前記シミュレーション現場モデルとを、重ねて又は切り替えて表示させる、請求項1又は2に記載の施工管理装置。
【請求項5】
前記表示制御部は、前記建築現場で行われる工事の情報である工事情報、前記建築現場に搬入される機材の情報である機材情報、前記建築現場で作業を行う人員の情報である人員情報、前記建築現場で行われる作業の情報である作業情報、前記建築現場の気象情報、前記建築現場の警報情報、および前記建築現場の環境情報の少なくともいずれかをさらに表示させる、請求項1又は2に記載の施工管理装置。
【請求項6】
前記計測機器は、三次元スキャナおよび撮像機器の少なくともいずれかである、請求項1又は2に記載の施工管理装置。
発明の詳細な説明
【技術分野】
【0001】
本発明は、施工管理装置に関する。
続きを表示(約 2,300 文字)
【背景技術】
【0002】
上記技術分野において、特許文献1には、マンションの住戸の間取りや階数等のデータと、当該マンションが所在する都市の地形等のデータとに基づいて、当該住戸における日照状況や、当該住戸から眺望のシミュレーション画像を生成することが開示されている(同文献の段落〔0036〕~〔0046〕等参照)。
【先行技術文献】
【特許文献】
【0003】
特開2000-149049号公報
【発明の概要】
【発明が解決しようとする課題】
【0004】
しかしながら、上記特許文献1に記載の技術では、住環境のシミュレーションを行うことはできるものの、例えば建築物の施工の進捗状況を把握することはできず、建築物の施工管理を行うことはできなかった。
【課題を解決するための手段】
【0005】
上記目的を達成するため、本発明に係る施工管理装置は、
建築現場およびその周辺の地形、並びに前記建築現場およびその周辺に存在している建築物を測量して得られる測量データに基づいて前記地形および前記建築物を三次元モデル化し、さらに、前記地形および前記建築物の三次元モデルに基づいて前記建築現場全体の三次元モデルデータを作成する三次元モデルデータ作成部と、
前記建築現場にて行われる工事の工事計画データを取得する工事計画データ取得部と、
前記工事計画データ、前記三次元モデルデータ、および前記建築現場において用いられる建設機械の三次元モデルに基づいて、指定された時点における前記建築現場の状態をシミュレートし、シミュレーション現場モデルを生成するシミュレーション現場モデル生成部と、
前記建築現場の現実の外観を計測する計測機器から、前記建築現場の現実の外観を表す外観データを取得する外観データ取得部と、
前記シミュレーション現場モデルおよび前記外観データを所定の表示機器に表示させる表示制御部と、
を備えた。
【発明の効果】
【0006】
本発明によれば建築物の施工管理を行うことができる。
【図面の簡単な説明】
【0007】
本発明の第1実施形態に係る施工管理装置の動作の概要を説明するための図である。
本発明の第1実施形態に係る施工管理装置の構成を説明するためのブロック図である。
本発明の第1実施形態に係る施工管理装置によって表示される画面の一例を示す図である。
本発明の第1実施形態に係る施工管理装置によって表示される画面の一例を示す図である。
本発明の第1実施形態に係る施工管理装置によって表示される画面の一例を示す図である。
本発明の第1実施形態に係る施工管理装置によって表示される画面の一例を示す図である。
本発明の第1実施形態に係る施工管理装置によって表示される画面の一例を示す図である。
本発明の第1実施形態に係る施工管理装置が有する工事計画情報テーブルの一例を説明するための図である。
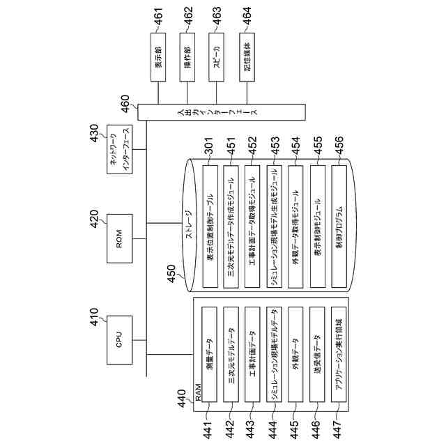
本発明の第1実施形態に係る施工管理装置のハードウェア構成を説明するための図である。
本発明の第1実施形態に係る施工管理装置の処理手順を説明するためのフローチャートである。
本発明の第2実施形態に係る施工管理装置の構成を説明するためのブロック図である。
本発明の第2実施形態に係る施工管理装置によって表示される画面の一例を示す図である。
本発明の第2実施形態に係る施工管理装置のハードウェア構成を説明するための図である。
本発明の第2実施形態に係る施工管理装置の処理手順を説明するためのフローチャートである。
【発明を実施するための形態】
【0008】
以下に、本発明を実施するための形態について、図面を参照して、例示的に詳しく説明する。ただし、以下の実施形態に記載されている、構成、数値、処理の流れ、機能要素などは一例に過ぎず、その変形や変更は自由であって、本発明の技術範囲を以下の記載に限定する趣旨のものではない。
【0009】
[第1実施形態]
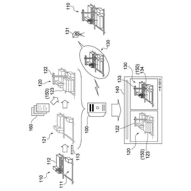
本発明の第1実施形態に係る施工管理装置100について、図1~図5を用いて説明する。図1を参照しながら、施工管理装置100による建築物の施工管理の概要について説明する。施工管理装置100は、指定された時点における建築現場110の施工の進捗状況を表すシミュレーション現場モデル120と、建築現場110の現実の外観を表す外観データ130とをディスプレイ140に表示させる装置である。施工管理装置100は、例えばビル150の施工管理に用いられる。なお、施工管理装置100によって施工管理する建築物はビルに限られず、例えば、住宅、スポーツ施設、道路、橋、港湾施設、ダム、飛行場等であってもよい。
【0010】
まず、施工管理装置100は、建築現場110およびその周辺の地形111、並びに建築現場およびその周辺に存在している建築物112の測量データ113に基づいて、建築現場110全体を三次元モデル化した三次元モデルデータ121を作成する。測量データ113は、建築現場110において施工が開始されるよりも前に測量されたものである。つまり三次元モデルデータ121は、施工開始前の建築現場110を三次元モデル化したものである。
(【0011】以降は省略されています)
この特許をJ-PlatPat(特許庁公式サイト)で参照する
関連特許
株式会社奥村組
制振機構
2か月前
株式会社奥村組
制振機構
2か月前
株式会社奥村組
設置架台
1か月前
株式会社奥村組
施工管理装置
1か月前
株式会社奥村組
施工管理方法
1か月前
株式会社奥村組
施工管理装置
1か月前
株式会社奥村組
爆薬装填装置
1か月前
株式会社奥村組
非開削推進工法
1か月前
株式会社奥村組
非開削推進工法
1か月前
株式会社奥村組
非開削推進工法
1か月前
株式会社奥村組
非開削推進工法
1か月前
株式会社奥村組
非開削推進工法
1か月前
株式会社奥村組
廃棄物分類処理装置
1か月前
株式会社奥村組
外壁部施工用足場構造
1か月前
株式会社奥村組
圧入式オープンケーソン
2か月前
株式会社奥村組
継手部用スパイラル鉄筋
1か月前
株式会社奥村組
洗浄器具および洗浄方法
2か月前
株式会社奥村組
継手部用スパイラル鉄筋
1か月前
株式会社奥村組
壁下地用胴縁の端部固定構造
2か月前
株式会社奥村組
掘削機および非開削推進工法
1か月前
株式会社奥村組
ドラムカッタ用集塵カバー体
1か月前
株式会社奥村組
免震用ダンパ装置の連結部構造
2か月前
株式会社奥村組
大規模建築物における骨組み構造
1か月前
国立大学法人 筑波大学
制振機構
2か月前
国立大学法人 筑波大学
制振機構
2か月前
国立大学法人 筑波大学
制振機構
2か月前
株式会社奥村組
底部コンクリート構造体の撤去方法
1か月前
株式会社奥村組
PCa庇パネル部材を用いた足場構造
1か月前
株式会社奥村組
PCa庇パネル部材の取付け施工方法
1か月前
株式会社奥村組
木質部材のコンクリート面への接合工法
2か月前
株式会社奥村組
スパイラル鉄筋を用いた継手部の配筋構造
1か月前
株式会社奥村組
スパイラル鉄筋を用いた継手部の配筋構造
1か月前
株式会社奥村組
スパイラル鉄筋を用いた継手部の配筋構造
1か月前
株式会社奥村組
スパイラル鉄筋を用いた継手部の配筋構造
1か月前
株式会社奥村組
スパイラル鉄筋を用いた継手部の配筋構造
1か月前
株式会社奥村組
スパイラル鉄筋を用いた継手部の配筋構造
1か月前
続きを見る
他の特許を見る