TOP
|
特許
|
意匠
|
商標
特許ウォッチ
Twitter
他の特許を見る
公開番号
2025155937
公報種別
公開特許公報(A)
公開日
2025-10-14
出願番号
2025029513
出願日
2025-02-26
発明の名称
スパイラル鉄筋を用いた継手部の配筋構造
出願人
株式会社奥村組
,
昭和コンクリート工業株式会社
代理人
弁理士法人翔和国際特許事務所
主分類
E01D
19/12 20060101AFI20251002BHJP(道路,鉄道または橋りょうの建設)
要約
【課題】コンクリート版の間の継手部にスムーズに配筋可能にすると共に、コンクリートの拘束効果が及ぶ範囲を広げることができ、かつ継手部が正曲げを受けて損傷するのを回避できる継手部の配設構造を提供する。
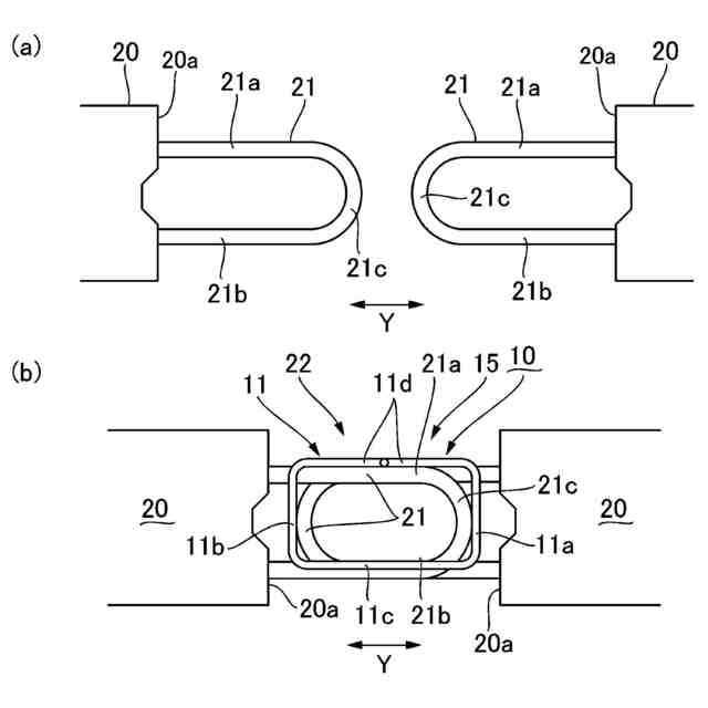
【解決手段】両側のプレキャストPC床版20の端面20aから突出する一対の隣接するプレキャストPC床版の間の部分の、主桁と交差する方向に延設する、スパイラル鉄筋を用いた継手部の配筋構造であって、スパイラル鉄筋10を構成する各々の単位スパイラル鉄筋11の一方の水平辺部分11cを、両側のプレキャストPC床版20の端面20aから突出する継手鉄筋21の下部鉄筋21bと同様の高さ位置に配設した位置関係で、スパイラル鉄筋10と継手鉄筋21とを結束線12を用いて結束することによって、下部鉄筋21bの下方のかぶり厚を侵食しない状態で、継手部22のコンクリート打設空間に設けられる。
【選択図】図1
特許請求の範囲
【請求項1】
一対の橋台の間に架設される複数の主桁に支持させて、主桁の延設方向に連設して取り付けられる複数のプレキャストPC床版による、各一対の隣接するプレキャストPC床版の間の部分の、主桁と交差する方向に延設する継手部のコンクリート打設空間に設けられる、スパイラル鉄筋を用いた継手部の配筋構造であって、
前記スパイラル鉄筋は、一本の鉄筋を曲折加工することによって、矩形状の正面形状を有する複数の単位スパイラル鉄筋を、スパイラルの軸方向に所定のピッチで連続させたスパイラル形状を備えていると共に、連続する各々の前記単位スパイラル鉄筋は、矩形状の正面形状の左右一対の垂直辺部分及び一方の水平辺部分が、仮想の基面に配置されると共に、他方の水平辺部分が、これらの3辺部分が配置される仮想の基面に対して、上面視して10~35度で傾いた方向に延設する斜め連結筋となっていることで、上面視してZ形状が連続するZスパイラル形状を有しており、
前記継手部のコンクリート打設空間において対向する両側のコンクリート版の端面から各々突出して、上部鉄筋及び下部鉄筋を含む2段配筋となっている継手鉄筋が、一方の前記コンクリート版の端面から突出する前記継手鉄筋と、他方の前記コンクリート版の端面から突出する前記継手鉄筋とが、前記継手部の長さ方向に千鳥状に交互に配設された状態で配筋されており、
前記スパイラル鉄筋の前記仮想の基面に配置された前記3辺部分を、交互に配筋された前記継手鉄筋の間隔部分に配設すると共に、他方の水平辺部分による前記斜め連結筋を、前記継手鉄筋の前記上部鉄筋と交差するように配設し、且つ前記スパイラル鉄筋を構成する各々の前記単位スパイラル鉄筋の一方の水平辺部分を、前記継手鉄筋の前記下部鉄筋と同様の高さ位置に配設した位置関係で、前記スパイラル鉄筋と前記継手鉄筋とを連結することによって、前記下部鉄筋の下方のかぶり厚を侵食しない状態で、前記継手部のコンクリート打設空間に設けられているスパイラル鉄筋を用いた継手部の配筋構造。
続きを表示(約 550 文字)
【請求項2】
前記継手鉄筋の前記上部鉄筋は、前記斜め連結筋の太さ分、下がった位置に配筋されており、前記斜め連結筋は、前記継手鉄筋の前記上部鉄筋の上側で交差するように配設されている請求項1記載のスパイラル鉄筋を用いた継手部の配筋構造。
【請求項3】
前記仮想の基面が、スパイラルの軸方向に対して垂直な面となっており、前記継手鉄筋の前記上部鉄筋及び前記下部鉄筋が、前記コンクリート版の端面に対して、上面視して垂直な方向に突出している請求項1又は2記載のスパイラル鉄筋を用いた継手部の配筋構造。
【請求項4】
前記仮想の基面に配置された前記3辺部分が、交互に配筋された前記継手鉄筋の間隔部分に、一つ置きに配設されるようになっている請求項1又は2記載のスパイラル鉄筋を用いた継手部の配筋構造。
【請求項5】
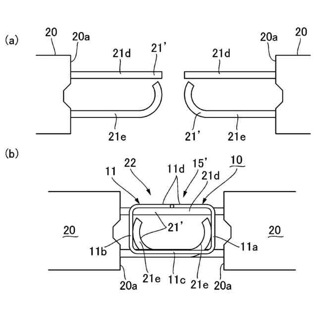
前記継手鉄筋は、前記上部鉄筋の端部と前記下部鉄筋の端部とが、円弧状部分を介して連結されている、ループ鉄筋となっている請求項1又は2記載のスパイラル鉄筋を用いた継手部の配筋構造。
【請求項6】
前記スパイラル鉄筋と前記継手鉄筋とが、結束線を用いて結束することにより連結されている請求項1又は2記載のスパイラル鉄筋を用いた継手部の配筋構造。
発明の詳細な説明
【技術分野】
【0001】
本発明は、スパイラル鉄筋を用いた継手部の配筋構造に関し、特に、各一対の隣接するプレキャストPC床版の間の部分の、主桁と交差する方向に延設する継手部のコンクリート打設空間に設けられる、スパイラル鉄筋を用いた継手部の配筋構造に関する。
続きを表示(約 2,200 文字)
【背景技術】
【0002】
近年、例えば既設の道路橋のコンクリート床版の老朽化対策として、床版の取替えによる大規模な更新工事が多く発注されている。またコンクリート床版の取替えによる改修工事には、施工手間の軽減と工事期間の短縮のために、矩形状の平面形状を有するプレキャストコンクリート製のプレキャストPC床版を用いるのが一般的である。プレキャストPC床版を用いた例えば既設の道路橋の改修工事では、道路橋の橋脚は、地上から垂直に伸びる柱部と、柱部から左右に張り出した張出し梁部とを有していると共に、隣接する橋脚の張出し梁部の間には、橋軸方向に架設されて複数の橋桁が設置されており、道路の本体部分となるプレキャストPC床版は、橋軸方向と垂直な方向に所定の間隔をおいて設置された、複数の橋桁に支持させるようにして、これらの橋桁と好ましくは垂直に交差する方向に長辺部分を配置すると共に、橋軸方向に複数連設させた状態で設置されることになる。
【0003】
また、複数の橋桁に支持させて、橋軸方向に複数連設させた状態で設置されたプレキャストPC床版は、橋軸方向に隣接する各一対のプレキャストPC床版の間の長辺部分に沿った継手部に、鉄筋を配筋すると共にコンクリートを打設して、一体化されることになる。
【0004】
このため、従来の一般的な継手部の構造として、設置したプレキャストPC床版の長辺部分に沿った端面部分から、継手鉄筋として好ましく複数のループ状の継手筋(ループ継
手筋)を突出させておき、これらのループ継手筋を、隣接する一対のプレキャストPC床
版の間の継手部において互い違いになるように配置すると共に、互い違いに配置されたループ継手筋における、継手部の長さ方向から見て重なっている環状部分の内側に、これらのループ継手筋を連結する直線状の長尺の連結主筋を、長辺部分に沿った継手部の長さ方向に挿入して、所定の位置に配筋した後に、継手部にコンクリートを打設することによって形成される継手部の構造が採用されている。
【0005】
一方、上述の従来の一般的な継手部の構造では、互い違いに配置された好ましくはループ継手筋が重なる環状部分の内側に、長尺の主筋を挿入する作業や、挿入した長尺の主筋を環状部分の所定の位置に配筋する作業には、橋桁の側面に特別の張出し足場を設けておき、張出し足場から直線状の長尺の鉄筋棒を持って環状部分の内側に挿入したり、橋桁の位置に設けた鉄筋の挿入口から鉄筋棒を挿入したり、環状部分の内側に挿通した鉄筋棒を持ち上げた状態で所定の位置に結束したりするのに、多くの手間を要することから、このような作業を不要とする技術も提案されている(例えば、特許文献1参照)。
【0006】
特許文献1のプレキャスト床版の継手部構造によれば、隣接する一対のプレキャストPC床版の間で互い違いになるように配設された継手鉄筋として、好ましくはループ状鉄筋の各々の間隔部分に嵌め込むようにして、螺旋鉄筋(スパイラル鉄筋)を、上方から落し込んで継手部を施工することによって、ループ状鉄筋を連結する直線状の長尺の連結主筋を、互い違いに配置されたループ継手筋が重なる環状部分の外側に、予め先行して配筋しておくことを可能にしている。
【先行技術文献】
【特許文献】
【0007】
特開2001-49621号公報
【発明の概要】
【発明が解決しようとする課題】
【0008】
しかしながら、特許文献1のプレキャスト床版の継手部構造では、螺旋鉄筋(スパイラル鉄筋)は、中心軸に対する螺旋の角度が一定となっていると共に、当該スパイラル鉄筋を軸方向(長さ方向)外側から視た際に、円形の正面形状を有していることから、継手部に配筋する際の現場での位置決めに手間がかかると共に、当該スパイラル鉄筋によるコンクリートの拘束効果が及ぶ範囲は、互い違いに配置された、継手鉄筋として例えばループ継手筋が重なる好ましくは環状部分の内側の円形領域に制限されることになるため、ループ継手筋が重なる例えば環状部分の外側に配筋される直線状の連結主筋は、省略することができなくなっている。
【0009】
また複数のプレキャストPC床版によって形成されるコンクリート床版は、橋脚と、橋脚又は橋台との中間地点付近において正曲げを受け易い。このため、橋脚と、橋脚又は橋台との中間地点付近に設置される一対のプレキャストPC床版の間の継手部は、特に下方部分に曲げによる引張り応力が生じて損傷する虞がある。
【0010】
本発明は、隣接する一対の好ましくはプレキャストPC床版によるコンクリート版の間の継手部に、スパイラル鉄筋をスムーズに位置決めして配筋することを可能にすると共に、コンクリートの拘束効果が及ぶ範囲を広げることで、継手鉄筋を互いに連結する直線状の連結主筋を省略することを可能にし、且つ正曲げに対する継手部の曲げ耐力と強度を確保することで、継手部が正曲げを受けて損傷するのを回避できるスパイラル鉄筋を用いた継手部の配筋構造を提供することを目的とする。
【課題を解決するための手段】
(【0011】以降は省略されています)
この特許をJ-PlatPat(特許庁公式サイト)で参照する
関連特許
株式会社奥村組
制振機構
2か月前
株式会社奥村組
運搬方法
2か月前
株式会社奥村組
制振機構
2か月前
株式会社奥村組
設置架台
1か月前
株式会社奥村組
吊り治具
2か月前
株式会社奥村組
施工管理装置
1か月前
株式会社奥村組
爆薬装填装置
1か月前
株式会社奥村組
施工管理装置
1か月前
株式会社奥村組
施工管理方法
1か月前
株式会社奥村組
ケーソン工法
2か月前
株式会社奥村組
非開削推進工法
1か月前
株式会社奥村組
非開削推進工法
1か月前
株式会社奥村組
非開削推進工法
1か月前
株式会社奥村組
非開削推進工法
1か月前
株式会社奥村組
非開削推進工法
1か月前
株式会社奥村組
シールド掘進機
2か月前
株式会社奥村組
ケーソン刃口金物
2か月前
株式会社奥村組
廃棄物分類処理装置
1か月前
株式会社奥村組
外壁部施工用足場構造
1か月前
株式会社奥村組
圧入式オープンケーソン
2か月前
株式会社奥村組
継手部用スパイラル鉄筋
1か月前
株式会社奥村組
洗浄器具および洗浄方法
2か月前
株式会社奥村組
継手部用スパイラル鉄筋
1か月前
株式会社奥村組
掘削機および非開削推進工法
1か月前
株式会社奥村組
壁下地用胴縁の端部固定構造
2か月前
株式会社奥村組
ドラムカッタ用集塵カバー体
1か月前
株式会社奥村組
免震用ダンパ装置の連結部構造
2か月前
株式会社奥村組
大規模建築物における骨組み構造
1か月前
国立大学法人 筑波大学
制振機構
2か月前
国立大学法人 筑波大学
制振機構
2か月前
株式会社奥村組
底部コンクリート構造体の撤去方法
1か月前
国立大学法人 筑波大学
制振機構
2か月前
株式会社奥村組
PCa庇パネル部材を用いた足場構造
1か月前
株式会社奥村組
PCa庇パネル部材の取付け施工方法
1か月前
株式会社奥村組
木質部材のコンクリート面への接合工法
2か月前
株式会社奥村組
シールド掘進機およびシールド掘進方法
2か月前
続きを見る
他の特許を見る