TOP
|
特許
|
意匠
|
商標
特許ウォッチ
Twitter
他の特許を見る
10個以上の画像は省略されています。
公開番号
2025147420
公報種別
公開特許公報(A)
公開日
2025-10-07
出願番号
2024047668
出願日
2024-03-25
発明の名称
設置架台
出願人
株式会社奥村組
代理人
弁理士法人翔和国際特許事務所
主分類
G01M
11/04 20060101AFI20250930BHJP(測定;試験)
要約
【課題】ごみ等の廃棄物を詳細に分類すること。
【解決手段】屋外に設置され、ベルトコンベアで運搬される廃棄物の種類および量を推定するために設置されるハイパースペクトルカメラの設置架台であって、ハイパースペクトルカメラを設置するためのカメラ設置部と、頂部にカメラ設置部が取り付け可能となっており、鉛直フレーム材と水平フレーム材とを組み合わせて形成される少なくとも1つのフレーム部と、を備え、カメラ設置部は、フレーム部の横幅または縦幅よりも短い長さの辺である短辺部材と、フレーム部の横幅または縦幅のいずれか一方の辺と同じ長さの辺である長辺部材と、を組み合わせて形成される矩形の枠部と、枠部の第1スライド機構上に、長辺部材に沿ってスライド可能に載置され、ハイパースペクトルカメラが設置される設置基台と、短辺部材に設けられ、水平フレーム材に沿ってスライドさせる第2スライド機構と、を有し、フレーム部は、設置される前記ハイパースペクトルカメラがベルトコンベアの平ベルトの鉛直上方に位置するように配置される
【選択図】図1
特許請求の範囲
【請求項1】
屋外に設置され、ベルトコンベアで運搬される廃棄物の種類および量を推定するために設置されるハイパースペクトルカメラの設置架台であって、
前記ハイパースペクトルカメラを設置するためのカメラ設置部と、
頂部に前記カメラ設置部が取り付け可能となっており、鉛直フレーム材と水平フレーム材とを組み合わせて形成される少なくとも1つのフレーム部と、
を備え、
前記カメラ設置部は、
前記フレーム部の横幅および縦幅のいずれか長い辺よりも短い辺である短辺部材と、前記フレーム部の横幅または縦幅のいずれか一方の辺と同じ長さの辺である長辺部材と、を組み合わせて形成される矩形の枠部と、
前記枠部の第1スライド機構上に、前記長辺部材に沿ってスライド可能に載置され、前記ハイパースペクトルカメラが設置される設置基台と、
前記短辺部材に設けられ、前記水平フレーム材に沿ってスライドさせる第2スライド機構と、
を有し、
前記フレーム部は、設置される前記ハイパースペクトルカメラが前記ベルトコンベアの平ベルトの鉛直上方に位置するように配置される、設置架台。
続きを表示(約 490 文字)
【請求項2】
複数の前記フレーム部を高さ方向に連結して、積み重ねることで、前記カメラ設置部の取り付け高さの調整が可能である、請求項1に記載の設置架台。
【請求項3】
前記鉛直フレーム材および前記水平フレーム材は、パイプ状の部材であり、
前記鉛直フレーム材は、伸縮可能となっている、請求項1に記載の設置架台。
【請求項4】
前記フレーム部は、前記ベルトコンベアを跨ぐように設置される請求項1~3のいずれか1項に記載の設置架台。
【請求項5】
前記フレーム部は、前記ベルトコンベアのフレーム上に載置される請求項1~3のいずれか1項に記載の設置架台。
【請求項6】
前記ベルトコンベアには、前記ベルトコンベアによる搬送方向において、前記ベルトコンベアに載置された廃棄物が、前記フレーム部の下方を通過する直前の位置に、前記ベルトコンベアに対して所定の高さで搬送方向を横断する方向に、水平に配置され、前記廃棄物の表面を均すための棒状または板状の均し治具が設けられている請求項1~3のいずれか1項に記載の設置架台。
発明の詳細な説明
【技術分野】
【0001】
本発明は、ハイパースペクトルカメラの設置架台に関する。
続きを表示(約 2,000 文字)
【背景技術】
【0002】
上記技術分野において、特許文献1には、ごみピット内のごみの表面に赤外線レーザーを照射してごみの特性を示す値またはごみの分類を機械学習させた学習済みモデルを用いて、ごみの特性を示す値等を推定することが記載されている。
【先行技術文献】
【特許文献】
【0003】
特開2021-183891号公報
【発明の概要】
【発明が解決しようとする課題】
【0004】
しかしながら、上記特許文献1に記載の技術では、赤外線を用いて内におけるごみの特性や質を推定するものであり、ごみ等の廃棄物を詳細に分類することができなかった。
【課題を解決するための手段】
【0005】
上記目的を達成するため、本発明に係る設置架台は、
屋外に設置され、ベルトコンベアで運搬される廃棄物の種類および量を推定するために
設置されるハイパースペクトルカメラの設置架台であって、
前記ハイパースペクトルカメラを設置するためのカメラ設置部と、
頂部に前記カメラ設置部が取り付け可能となっており、鉛直フレーム材と水平フレーム
材とを組み合わせて形成される少なくとも1つのフレーム部と、
を備え、
前記カメラ設置部は、
前記フレーム部の横幅および縦幅のいずれか長い辺よりも短い辺である短辺部材と、
前記フレーム部の横幅または縦幅のいずれか一方の辺と同じ長さの辺である長辺部材と、
を組み合わせて形成される矩形の枠部と、
前記枠部の第1スライド機構上に、前記長辺部材に沿ってスライド可能に載置され、
前記ハイパースペクトルカメラが設置される設置基台と、
前記短辺部材に設けられ、前記水平フレーム材に沿ってスライドさせる第2スライド
機構と、
を有し、
前記フレーム部は、設置される前記ハイパースペクトルカメラが前記ベルトコンベアの
平ベルトの鉛直上方に位置するように配置される。
【発明の効果】
【0006】
本発明によれば、ごみ等の廃棄物を詳細に分類することができる。
【図面の簡単な説明】
【0007】
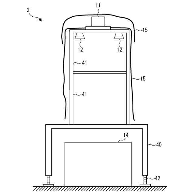
本発明の好ましい実施形態に係る設置架台を設置した状態を示す側面模式図である。
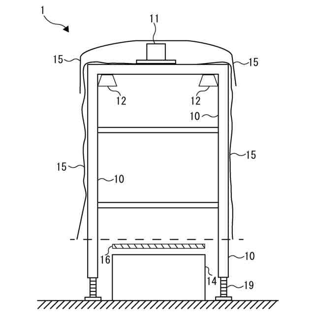
本発明の好ましい実施形態に係る設置架台を設置した状態を示す正面模式図である。
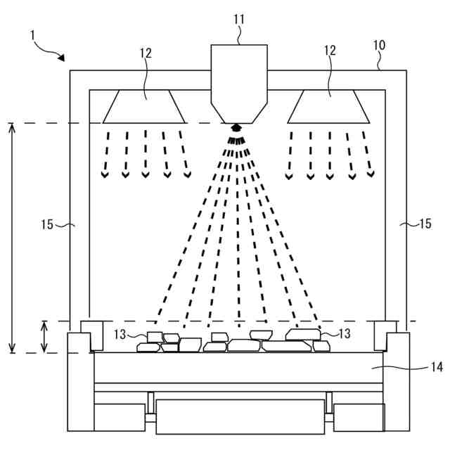
本発明の好ましい実施形態に係る設置架台を用いて設置したハイパースペクトルカメラによる廃棄物の推定の仕方を説明するための模式図である。
本発明の好ましい実施形態に係る設置架台の変形例を設置した状態を示す正面図である。
本発明の好ましい実施形態に係る設置架台のフレーム部の構成について説明するための図である。
本発明の好ましい実施形態に係る設置架台のフレーム部の他の構成について説明するための図である。
本発明の好ましい実施形態に係る設置架台のカメラ設置部の構成について説明するための斜視図である。
本発明の好ましい実施形態に係る設置架台のカメラ設置部の構成について説明するための正面図である。
本発明の好ましい実施形態に係る設置架台を用いた推定部を含む廃棄物分類処理装置の全体構成を説明するための図である。
【発明を実施するための形態】
【0008】
以下に、本発明を実施するための形態について、図面を参照して、例示的に詳しく説明する。ただし、以下の実施形態に記載されている、構成、数値、処理の流れ、機能要素などは一例に過ぎず、その変形や変更は自由であって、本発明の技術範囲を以下の記載に限定する趣旨のものではない。
【0009】
本発明の好ましい実施形態に係るハイパースペクトルカメラの設置架台について、図1~図7を用いて説明する。ハイパースペクトルカメラ11の設置架台1は、屋外に配置される。そして、設置架台1は、ベルトコンベア14で運搬される廃棄物13の種類および量を推定するためのハイパースペクトルカメラ11を所定位置に設置するために用いられる。ここで、廃棄物13は、屋外で大量に発生する災害廃棄物(紙類、木、プラスチック等)や、産業廃棄物の混合廃棄物などである。
【0010】
近年は、気候変動や自然災害の頻発化・激甚化に伴い、毎年、災害廃棄物が大量に発生する状態が継続して発生している。災害廃棄物は、災害の種類や発生個所等により質(種類)や量などが異なるため、廃棄物の種類や発生量を迅速に把握するとともに、各種災害特性に応じて処理方法を最適化する必要があった。
(【0011】以降は省略されています)
この特許をJ-PlatPat(特許庁公式サイト)で参照する
関連特許
株式会社奥村組
吊り治具
2か月前
株式会社奥村組
運搬方法
2か月前
株式会社奥村組
制振機構
2か月前
株式会社奥村組
制振機構
2か月前
株式会社奥村組
設置架台
1か月前
株式会社奥村組
施工管理装置
1か月前
株式会社奥村組
施工管理装置
1か月前
株式会社奥村組
ケーソン工法
2か月前
株式会社奥村組
爆薬装填装置
1か月前
株式会社奥村組
施工管理方法
1か月前
株式会社奥村組
非開削推進工法
1か月前
株式会社奥村組
シールド掘進機
2か月前
株式会社奥村組
非開削推進工法
1か月前
株式会社奥村組
非開削推進工法
1か月前
株式会社奥村組
非開削推進工法
1か月前
株式会社奥村組
非開削推進工法
1か月前
株式会社奥村組
ケーソン刃口金物
2か月前
株式会社奥村組
廃棄物分類処理装置
1か月前
株式会社奥村組
外壁部施工用足場構造
1か月前
株式会社奥村組
圧入式オープンケーソン
2か月前
株式会社奥村組
洗浄器具および洗浄方法
2か月前
株式会社奥村組
継手部用スパイラル鉄筋
1か月前
株式会社奥村組
継手部用スパイラル鉄筋
1か月前
株式会社奥村組
掘削機および非開削推進工法
1か月前
株式会社奥村組
壁下地用胴縁の端部固定構造
2か月前
株式会社奥村組
ドラムカッタ用集塵カバー体
1か月前
株式会社奥村組
免震用ダンパ装置の連結部構造
2か月前
株式会社奥村組
大規模建築物における骨組み構造
1か月前
国立大学法人 筑波大学
制振機構
2か月前
国立大学法人 筑波大学
制振機構
2か月前
株式会社奥村組
底部コンクリート構造体の撤去方法
1か月前
国立大学法人 筑波大学
制振機構
2か月前
株式会社奥村組
PCa庇パネル部材の取付け施工方法
1か月前
株式会社奥村組
PCa庇パネル部材を用いた足場構造
1か月前
株式会社奥村組
木質部材のコンクリート面への接合工法
2か月前
株式会社奥村組
スパイラル鉄筋を用いた継手部の配筋構造
1か月前
続きを見る
他の特許を見る