TOP
|
特許
|
意匠
|
商標
特許ウォッチ
Twitter
他の特許を見る
10個以上の画像は省略されています。
公開番号
2025133435
公報種別
公開特許公報(A)
公開日
2025-09-11
出願番号
2024031383
出願日
2024-03-01
発明の名称
破砕装置
出願人
株式会社奥村組
代理人
個人
,
個人
主分類
E04G
23/08 20060101AFI20250904BHJP(建築物)
要約
【課題】破砕装置の位置の自由度を向上する。
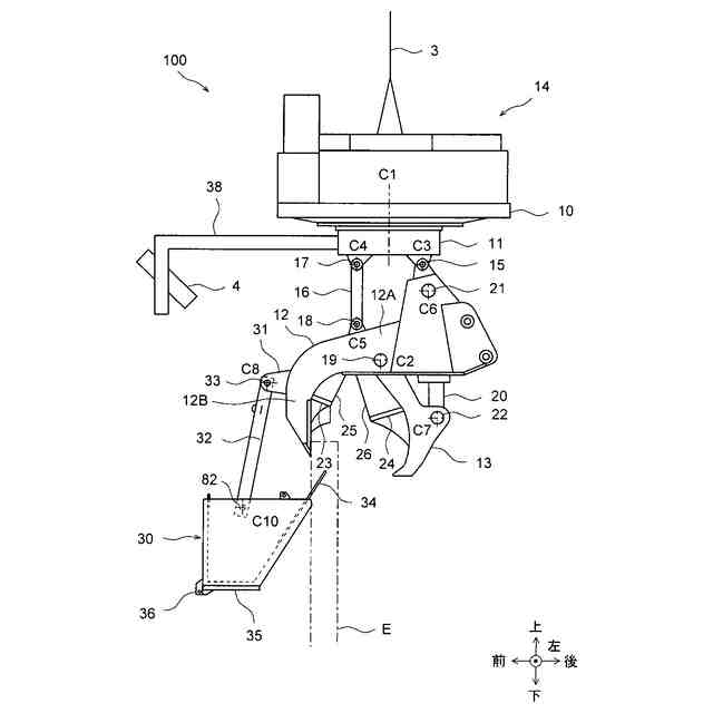
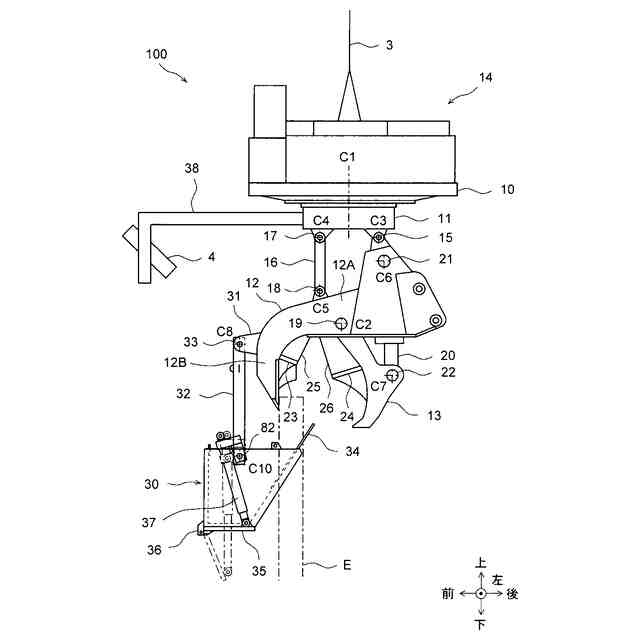
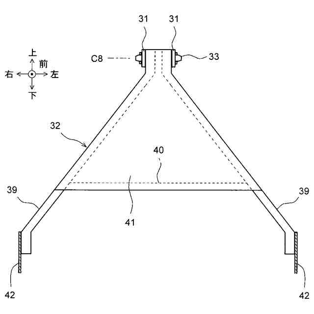
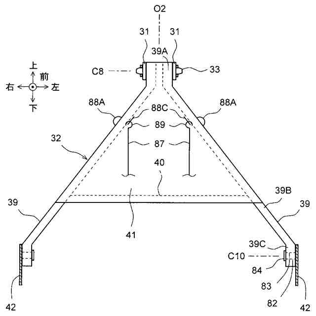
【解決手段】構造物Eを破砕するための破砕装置100は、固定破砕腕12と、固定破砕腕に回動可能に接続された可動破砕腕13と、固定破砕腕から吊り下げられ、構造物の外側に落下する破砕片を受け入れるバケット30と、バケットを吊り下げるべく固定破砕腕とバケットを連結する吊り部材32とを備える。吊り部材の下端部は、バケットに回動可能に接続されている。
【選択図】図5
特許請求の範囲
【請求項1】
構造物を破砕するための破砕装置であって、
固定破砕腕と、
前記固定破砕腕に回動可能に接続された可動破砕腕と、
前記固定破砕腕から吊り下げられ、前記構造物の外側に落下する破砕片を受け入れるバケットと、
前記バケットを吊り下げるべく前記固定破砕腕と前記バケットを連結する吊り部材と、
を備え、
前記吊り部材の下端部は、前記バケットに回動可能に接続されている
ことを特徴とする破砕装置。
続きを表示(約 290 文字)
【請求項2】
前記可動破砕腕は、水平方向に延びる基準回動軸回りに回動可能となるよう前記固定破砕腕に接続され、
前記吊り部材の下端部は、前記基準回動軸に平行な第1回動軸回りに回動可能となるよう前記バケットに接続されている
請求項1に記載の破砕装置。
【請求項3】
前記吊り部材の上端部は、前記基準回動軸に平行な第2回動軸回りに回動可能となるよう前記固定破砕腕に接続されている
請求項2に記載の破砕装置。
【請求項4】
前記バケットに対する前記吊り部材の回動を規制するための規制機構を備える
請求項1に記載の破砕装置。
発明の詳細な説明
【技術分野】
【0001】
本開示は破砕装置に係り、特に、構造物を破砕するための破砕装置に関する。
続きを表示(約 1,100 文字)
【背景技術】
【0002】
構造物、特に鉄筋コンクリートで造られた煙突等の塔状構造物を解体する際、構造物を破砕するために破砕装置が用いられる。破砕装置は、固定破砕腕と、固定破砕腕に回動可能に接続された可動破砕腕とを備え、固定破砕腕と可動破砕腕により構造物の上端部の壁を挟んで圧砕する。
【先行技術文献】
【特許文献】
【0003】
実開昭63-62548号公報
【発明の概要】
【発明が解決しようとする課題】
【0004】
破砕装置は、固定破砕腕から吊り下げられ構造物の外側に落下する破砕片を受け入れるバケットと、バケットを吊り下げるべく固定破砕腕とバケットを連結する吊り部材とを備える。一般に、吊り部材の下端部はバケットに固定されている。
【0005】
しかし、吊り部材の下端部をバケットに固定すると、バケットが構造物に押し付けられたときに、構造物に対する固定破砕腕の相対位置がある程度決定されてしまう。そのため、破砕装置の位置の自由度が低下する問題がある。
【0006】
そこで本開示は、かかる事情に鑑みて創案され、その目的は、破砕装置の位置の自由度を向上できる破砕装置を提供することにある。
【課題を解決するための手段】
【0007】
本開示の一の態様によれば、
構造物を破砕するための破砕装置であって、
固定破砕腕と、
前記固定破砕腕に回動可能に接続された可動破砕腕と、
前記固定破砕腕から吊り下げられ、前記構造物の外側に落下する破砕片を受け入れるバケットと、
前記バケットを吊り下げるべく前記固定破砕腕と前記バケットを連結する吊り部材と、
を備え、
前記吊り部材の下端部は、前記バケットに回動可能に接続されている
ことを特徴とする破砕装置が提供される。
【0008】
好ましくは、前記可動破砕腕は、水平方向に延びる基準回動軸回りに回動可能となるよう前記固定破砕腕に接続され、
前記吊り部材の下端部は、前記基準回動軸に平行な第1回動軸回りに回動可能となるよう前記バケットに接続されている。
【0009】
好ましくは、前記吊り部材の上端部は、前記基準回動軸に平行な第2回動軸回りに回動可能となるよう前記固定破砕腕に接続されている。
【0010】
好ましくは、前記破砕装置は、前記バケットに対する前記吊り部材の回動を規制するための規制機構を備える。
【発明の効果】
(【0011】以降は省略されています)
この特許をJ-PlatPat(特許庁公式サイト)で参照する
関連特許
株式会社奥村組
設置架台
1か月前
株式会社奥村組
施工管理装置
1か月前
株式会社奥村組
爆薬装填装置
1か月前
株式会社奥村組
施工管理装置
1か月前
株式会社奥村組
施工管理方法
1か月前
株式会社奥村組
非開削推進工法
1か月前
株式会社奥村組
非開削推進工法
1か月前
株式会社奥村組
非開削推進工法
1か月前
株式会社奥村組
非開削推進工法
1か月前
株式会社奥村組
非開削推進工法
1か月前
株式会社奥村組
廃棄物分類処理装置
1か月前
株式会社奥村組
外壁部施工用足場構造
1か月前
株式会社奥村組
継手部用スパイラル鉄筋
1か月前
株式会社奥村組
継手部用スパイラル鉄筋
1か月前
株式会社奥村組
ドラムカッタ用集塵カバー体
1か月前
株式会社奥村組
壁下地用胴縁の端部固定構造
1か月前
株式会社奥村組
掘削機および非開削推進工法
1か月前
株式会社奥村組
大規模建築物における骨組み構造
1か月前
株式会社奥村組
底部コンクリート構造体の撤去方法
1か月前
株式会社奥村組
PCa庇パネル部材を用いた足場構造
1か月前
株式会社奥村組
PCa庇パネル部材の取付け施工方法
1か月前
株式会社奥村組
スパイラル鉄筋を用いた継手部の配筋構造
1か月前
株式会社奥村組
スパイラル鉄筋を用いた継手部の配筋構造
1か月前
株式会社奥村組
スパイラル鉄筋を用いた継手部の配筋構造
1か月前
株式会社奥村組
スパイラル鉄筋を用いた継手部の配筋構造
1か月前
株式会社奥村組
スパイラル鉄筋を用いた継手部の配筋構造
1か月前
株式会社奥村組
スパイラル鉄筋を用いた継手部の配筋構造
1か月前
株式会社奥村組
底部角部コンクリート構造体の解体撤去方法
1か月前
株式会社奥村組
大規模建築物における骨組み構造の施工方法
1か月前
株式会社奥村組
トンネルワークステーションによる山岳トンネル工法
1か月前
株式会社奥村組
ミニベンチカット工法用トンネルワークステーション
1か月前
株式会社奥村組
トンネルワークステーションによる山岳トンネル工法
1か月前
株式会社奥村組
トンネルワークステーションによる山岳トンネル工法
1か月前
株式会社奥村組
ミニベンチカット工法用トンネルワークステーション
1か月前
株式会社奥村組
進路予測装置、進路予測方法および進路予測プログラム
1か月前
株式会社奥村組
進路予測装置、進路予測方法および進路予測プログラム
1か月前
続きを見る
他の特許を見る