TOP
|
特許
|
意匠
|
商標
特許ウォッチ
Twitter
他の特許を見る
公開番号
2025152883
公報種別
公開特許公報(A)
公開日
2025-10-10
出願番号
2024055054
出願日
2024-03-28
発明の名称
大規模建築物における骨組み構造の施工方法
出願人
株式会社奥村組
代理人
弁理士法人翔和国際特許事務所
主分類
E04B
1/30 20060101AFI20251002BHJP(建築物)
要約
【課題】接合部の剛性を保持した状態で軽量化された、多数の支持杭によって支持される大規模建築物の基礎梁を含む骨組み構造を、効率良く施工できるようにする施工方法を提供する。
【解決手段】縦横に格子状に多数の区画52に区画割りされた敷地領域51における、連接する各列の複数の区画52に、端部SRC造中央部S造ハイブリット梁構法による複数の基礎梁11を形成して行く際に、少なくとも一列53の複数の区画52において、自走可能な吊上げ用重機54を使用すると共に、両側のRC杭頭接合体17の間の領域を走行路55として、吊上げ用重機54を移動させながら、スチール梁12となる梁用鋼材14bを各々吊り上げて、奥側の区画52から手前側の区画52に向けて、端部SRC造中央部S造ハイブリット梁構法による、基礎梁11を構成するスチール梁12となる梁用鋼材14bを、順次建て込んでゆく工程を含んでいる。
【選択図】図7
特許請求の範囲
【請求項1】
平面視して縦横に格子状に区画割りされた敷地領域における各々の格子点の位置に打設された、複数の支持杭によって支持されて構築される、大規模建築物における骨組み構造の施工方法であって、
前記骨組み構造は、複数の前記支持杭と、これらの支持杭の各々の上端部に形成される鉄筋コンクリートによるRC杭頭接合体と、これらのRC杭頭接合体の間に架設されて縦横に格子状に配置される基礎梁と、前記RC杭頭接合体から立設して形成される鉄筋コンクリートによるRC柱体と、これらのRC柱体の間に架設されて、縦横に格子状に配置される一又は複数の階層部分の天井梁とを含んで構成されるようになっており、
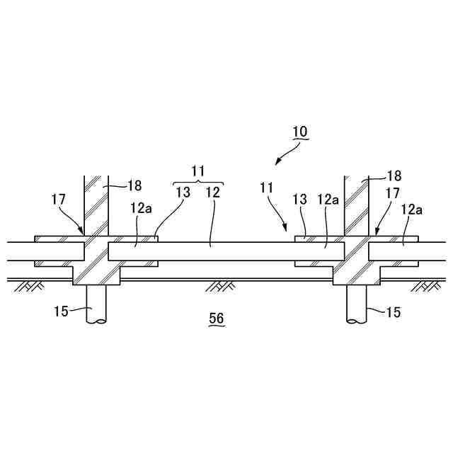
前記基礎梁は、前記RC杭頭接合体の側面部から格子方向に張り出して、前記RC杭頭接合体と一体として形成される鉄筋コンクリートによるRC梁端部と、両側の端部がこれらのRC梁端部に埋設されて、隣接する前記RC杭頭接合体の間に架設される鋼製のスチール梁とからなる、端部SRC造中央部S造ハイブリット梁構法によるものとなっており、
縦横に格子状に区画割りされた領域における、縦方向又は横方向に連接する各列の複数の区画に、前記端部SRC造中央部S造ハイブリット梁構法による複数の前記基礎梁を形成して行く際に、
少なくとも一列の複数の区画において、自走可能な吊上げ用重機を使用すると共に、両側の前記RC杭頭接合体の間の領域を走行路として、前記吊上げ用重機を移動させながら、前記スチール梁となる梁用鋼材を各々吊り上げて、奥側の区画から手前側の区画に向けて、前記端部SRC造中央部S造ハイブリット梁構法による、前記基礎梁を構成する前記スチール梁となる前記梁用鋼材を、順次建て込んでゆく工程を含んでいる大規模建築物における骨組み構造の施工方法。
続きを表示(約 660 文字)
【請求項2】
両側の前記RC杭頭接合体の間の領域の前記走行路は、各々の前記RC杭頭接合体の側面部から格子方向に張り出して形成された、前記RC梁端部の間の領域における走行路となっていると共に、前記RC梁端部は、前記スチール梁の端部梁部分を継手部を突出させた状態で埋設して形成されており、
前記吊上げ用重機は、前記スチール梁の中間部梁部分となる前記梁用鋼材を各々吊り上げて、奥側の区画から手前側の区画に向けて、両側の端部を前記継手部を介して前記端部梁部分と接合しつつ、順次建て込んでゆくようになっている請求項1記載の大規模建築物における骨組み構造の施工方法。
【請求項3】
前記天井梁は、柱RC造梁S造ハイブリッド構法により前記RC柱体に端部が接合される、鋼製のスチール梁によるものとなっており、前記基礎梁を構成するスチール梁となる前記梁用鋼材を順次建て込んでゆく工程と併行して、両側の前記RC杭頭接合体の間の領域を走行路として、前記一列の複数の区画において前記吊上げ用重機を移動させながら、前記天井梁を構成するスチール梁となる梁用鋼材を各々吊り上げて、奥側の区画から手前側の区画に向けて、両側の端部を前記RC柱体の側面部に接合しつつ、順次建て込んでゆくようになっている請求項1又は2記載の大規模建築物における骨組み構造の施工方法。
【請求項4】
自走可能な前記吊上げ用重機が、クローラクレーンとなっている請求項1又は2記載の大規模建築物における骨組み構造の施工方法。
発明の詳細な説明
【技術分野】
【0001】
本発明は、大規模建築物における骨組み構造の施工方法に関し、特に、平面視して縦横に格子状に区画割りされた敷地領域における各々の格子点の位置に打設された、複数の支持杭によって支持されて構築される、大規模建築物における骨組み構造の施工方法に関する。
続きを表示(約 2,700 文字)
【背景技術】
【0002】
例えば、近年のネット通販市場の拡大などの理由から、物流施設の需要が高まってきており、それに伴って、好ましくは物流施設用の大規模建築物を構築するための建設工事が、多く発注されている。
【0003】
また、物流施設の倉庫のような大規模建築物では、可能な限り広い空間を確保できるように、骨組み構造として、鉄筋コンクリートによる構造部分と、各種の鋼材によるスチール製の構造部分とを組み合わせた、ハイブリット構造による骨組み構造を採用すると共に、骨組み構造の大スパン化や軽量化を図ることが提案されている。例えば、鉄筋コンクリート製のRC柱体に、鉄筋コンクリート製の梁に代えて、鋼製梁を取り付けて軽量化を図ることが提案されており、好ましくは対向するRC柱体の間に架け渡された鋼製梁の両端部を、鉄筋コンクリートで覆ってSRC造の梁端部とすると共に、梁の中央部分を鋼製梁のみによるS造の鉄骨梁部とすることによって、軽量化を図りつつ、ブレース部材を不要とした状態で、鋼製梁とRC柱体との接合部の剛性を高めることができるようにした、ハイブリッド梁構法も開発されている(例えば、特許文献1、特許文献2参照)。
【0004】
加えて、鋼製梁の軽量化をさらに効果的に図ることができるように、RC柱体を貫通するようにして、RC柱体との柱梁接合部に鋼製梁を配置すると共に、鋼製梁を配置した柱梁接合部をふさぎ板で覆った状態でコンクリートを打設することにより形成される、梁貫通型の柱梁接合部を備える柱RC造梁S造のハイブリッド構法も開発されている(例えば、特許文献3、特許文献4参照)。
【先行技術文献】
【特許文献】
【0005】
特開2013-170386号公報
特開2023-7003号公報
特開2020-200586号公報
特開2022-123147号公報
【発明の概要】
【発明が解決しようとする課題】
【0006】
一方、例えば物流施設の倉庫のような大規模建築物を構築する場合、好ましくは広大な敷地領域を縦横に格子状に多数の区画に区画割りして、各々の格子点の位置に、多数の基礎杭を打設すると共に、打設された多数の基礎杭に両側の端部を支持させて、鉄筋コンクリート製の基礎梁を、各々の格子点を繋ぐように格子状に配置して形成し、さらに基礎杭が打設された各格子点の部分から立設させて、建屋の構造物のための鉄筋コンクリートによるRC柱体を設けることで、骨組み構造を形成するといった工法を採用することが検討されているが、基礎杭の杭長や杭径や杭の本数を減らして、施工コストの低減や工期の短縮を図るためにも、基礎梁を含む大規模建築物の骨組み構造を、これらの機能を保持した状態で、より一層軽量化することが望ましい。
【0007】
また、大規模建築物を構築する敷地領域が軟弱地盤の上方の敷地であると、例えば地震時においては、特に基礎杭や、基礎杭と基礎梁との接合部に大きな負荷がかかることになるため、これらの接合部における所望の剛性を保持した状態で、基礎梁を含む大規模建築物の骨組み構造を、さらに軽量化できるようにすることが望ましい。加えて、このような軽量化された基礎梁を含む大規模建築物の骨組み構造を、効率良く施工できるようにすることが望ましい。
【0008】
本発明は、平面視して縦横に格子状に区画割りされた敷地領域において、各々の格子点の位置に打設された支持杭によって支持されて構築される大規模建築物の、特に基礎杭と基礎梁との接合部における所望の剛性を保持した状態で軽量化された、基礎梁を含む骨組み構造を、効率良く施工することを可能にする大規模建築物における骨組み構造の施工方法を提供することを目的とする。
【課題を解決するための手段】
【0009】
本発明は、平面視して縦横に格子状に区画割りされた敷地領域における各々の格子点の位置に打設された、複数の支持杭によって支持されて構築される、大規模建築物における骨組み構造の施工方法であって、前記骨組み構造は、複数の前記支持杭と、これらの支持杭の各々の上端部に形成される鉄筋コンクリートによるRC杭頭接合体と、これらのRC杭頭接合体の間に架設されて縦横に格子状に配置される基礎梁と、前記RC杭頭接合体から立設して形成される鉄筋コンクリートによるRC柱体と、これらのRC柱体の間に架設されて、縦横に格子状に配置される一又は複数の階層部分の天井梁とを含んで構成されるようになっており、前記基礎梁は、前記RC杭頭接合体の側面部から格子方向に張り出して、前記RC杭頭接合体と一体として形成される鉄筋コンクリートによるRC梁端部と、両側の端部がこれらのRC梁端部に埋設されて、隣接する前記RC杭頭接合体の間に架設される鋼製のスチール梁とからなる、端部SRC造中央部S造ハイブリット梁構法によるものとなっており、縦横に格子状に区画割りされた領域における、縦方向又は横方向に連接する各列の複数の区画に、前記端部SRC造中央部S造ハイブリット梁構法による複数の前記基礎梁を形成して行く際に、少なくとも一列の複数の区画において、自走可能な吊上げ用重機を使用すると共に、両側の前記RC杭頭接合体の間の領域を走行路として、前記吊上げ用重機を移動させながら、前記スチール梁となる梁用鋼材を各々吊り上げて、奥側の区画から手前側の区画に向けて、前記端部SRC造中央部S造ハイブリット梁構法による、前記基礎梁を構成する前記スチール梁となる前記梁用鋼材を、順次建て込んでゆく工程を含んでいる大規模建築物における骨組み構造の施工方法を提供することにより、上記目的を達成したものである。
【0010】
そして、本発明の大規模建築物における骨組み構造の施工方法は、両側の前記RC杭頭接合体の間の領域の前記走行路は、各々の前記RC杭頭接合体の側面部から格子方向に張り出して形成された、前記RC梁端部の間の領域における走行路となっていると共に、前記RC梁端部は、前記スチール梁の端部梁部分を継手部を突出させた状態で埋設して形成されており、前記吊上げ用重機は、前記スチール梁の中間部梁部分となる前記梁用鋼材を各々吊り上げて、奥側の区画から手前側の区画に向けて、両側の端部を前記継手部を介して前記端部梁部分と接合しつつ、順次建て込んでゆくようになっていることが好ましい。
(【0011】以降は省略されています)
この特許をJ-PlatPat(特許庁公式サイト)で参照する
関連特許
株式会社奥村組
制振機構
2か月前
株式会社奥村組
制振機構
2か月前
株式会社奥村組
設置架台
1か月前
株式会社奥村組
施工管理装置
1か月前
株式会社奥村組
施工管理方法
1か月前
株式会社奥村組
施工管理装置
1か月前
株式会社奥村組
爆薬装填装置
1か月前
株式会社奥村組
非開削推進工法
1か月前
株式会社奥村組
非開削推進工法
1か月前
株式会社奥村組
非開削推進工法
1か月前
株式会社奥村組
非開削推進工法
1か月前
株式会社奥村組
非開削推進工法
1か月前
株式会社奥村組
廃棄物分類処理装置
1か月前
株式会社奥村組
外壁部施工用足場構造
1か月前
株式会社奥村組
圧入式オープンケーソン
2か月前
株式会社奥村組
継手部用スパイラル鉄筋
1か月前
株式会社奥村組
洗浄器具および洗浄方法
2か月前
株式会社奥村組
継手部用スパイラル鉄筋
1か月前
株式会社奥村組
壁下地用胴縁の端部固定構造
2か月前
株式会社奥村組
掘削機および非開削推進工法
1か月前
株式会社奥村組
ドラムカッタ用集塵カバー体
1か月前
株式会社奥村組
免震用ダンパ装置の連結部構造
2か月前
株式会社奥村組
大規模建築物における骨組み構造
1か月前
国立大学法人 筑波大学
制振機構
2か月前
国立大学法人 筑波大学
制振機構
2か月前
国立大学法人 筑波大学
制振機構
2か月前
株式会社奥村組
底部コンクリート構造体の撤去方法
1か月前
株式会社奥村組
PCa庇パネル部材を用いた足場構造
1か月前
株式会社奥村組
PCa庇パネル部材の取付け施工方法
1か月前
株式会社奥村組
木質部材のコンクリート面への接合工法
2か月前
株式会社奥村組
スパイラル鉄筋を用いた継手部の配筋構造
1か月前
株式会社奥村組
スパイラル鉄筋を用いた継手部の配筋構造
1か月前
株式会社奥村組
スパイラル鉄筋を用いた継手部の配筋構造
1か月前
株式会社奥村組
スパイラル鉄筋を用いた継手部の配筋構造
1か月前
株式会社奥村組
スパイラル鉄筋を用いた継手部の配筋構造
1か月前
株式会社奥村組
スパイラル鉄筋を用いた継手部の配筋構造
1か月前
続きを見る
他の特許を見る