TOP
|
特許
|
意匠
|
商標
特許ウォッチ
Twitter
他の特許を見る
10個以上の画像は省略されています。
公開番号
2025151243
公報種別
公開特許公報(A)
公開日
2025-10-09
出願番号
2024052573
出願日
2024-03-27
発明の名称
PCa庇パネル部材の取付け施工方法
出願人
株式会社奥村組
代理人
弁理士法人翔和国際特許事務所
主分類
E04G
21/14 20060101AFI20251002BHJP(建築物)
要約
【課題】PCa庇パネル部材を、無支保工・無足場の状態で、建物の所定の高さ位置に容易に設置できるようにするPCa庇パネル部材の取付け施工方法を提供する。
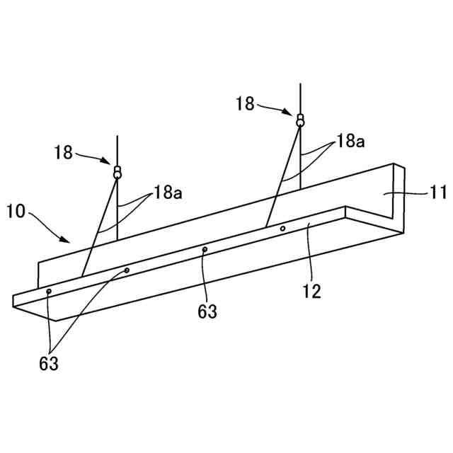
【解決手段】玉掛けワイヤー部材18を用いて吊り上げられたPCa庇パネル部材10を、建物50の骨組み構造体53aにおける取付け位置に搬送して、外壁部パネル部11に設けれられた上部係合金物13を、屋内側からの作業によって、骨組み構造体53aの被係止部55に係止して、PCa庇パネル部材10を仮固定する工程と、仮固定されたPCa庇パネル部材10の庇パネル部12を足場とした作業によって、玉掛けワイヤー部材18を張出し先端部分から取り外す取外し工程と、外壁部パネル部11の建ちの調整を行った後に、上部係合金物13及び下部係合金物14を固定する本固定工程とを含んでいる。
【選択図】図7
特許請求の範囲
【請求項1】
建物の外壁部分に組み込んで取り付けられる、プレキャスコンクリート製のPCa庇パネル部材を、地盤面から立設する仮設支保工及び仮設足場を用いることなく、無支保工・無足場の状態で所定の高さ位置に取付け可能とする、PCa庇パネル部材の取付け施工方法であって、
前記PCa庇パネル部材は、建物の外壁部分に沿って配置される外壁部パネル部と、該外壁部パネル部から、横方向外側に向けて張り出した庇パネル部とを含んで構成されていると共に、前記外壁部パネル部における前記庇パネル部とは反対の背面側には、上端部分及び下端部分に、建物の骨組み構造体に係合される上部係合金物及び下部係合金物が、各々取り付けられており、
一方の端部が前記外壁部パネル部の上端部分に係止されると共に、他方の端部が前記庇パネル部の張出し先端部分に係止される一対のワイヤー材からなる、複数の玉掛けワイヤー部材を用いて、吊上げ用の重機により吊り上げられた前記PCa庇パネル部材を、建物の骨組み構造体における当該PCa庇パネル部材の取付け位置に搬送して、前記外壁部パネル部の上部に設けれられた前記上部係合金物を、建物の屋内側からの作業員による作業によって、前記骨組み構造体の被係止部に係止して、前記PCa庇パネル部材を仮固定する仮固定工程と、
仮固定された前記PCa庇パネル部材の前記庇パネル部を足場とした作業員による作業によって、前記玉掛けワイヤー部材の前記ワイヤー材を、少なくとも前記庇パネル部の張出し先端部分から取り外すワイヤー取外し工程と、
前記外壁部パネル部の建ちの調整を行った後に、前記上部係合金物を、前記下部係合金物と共に、前記骨組み構造体の被係止部に係止して固定する本固定工程とを含んでいるPCa庇パネル部材の取付け施工方法。
続きを表示(約 560 文字)
【請求項2】
前記下端部係合金物は、締着位置を調整可能なインサート金物を含んで構成されている請求項1記載のPCa庇パネル部材の取付け施工方法。
【請求項3】
前記本固定工程における前記外壁部パネル部の建ちの調整は、建物の下階の屋内側に設置された作業台を足場とした作業員による作業によって、実施されるようになっている請求項2記載のPCa庇パネル部材の取付け施工方法。
【請求項4】
前記ワイヤー取外し工程又は前記本固定工程は、屋内側に設けられた安全柵等の安全設備に墜落制止用具を係止した作業員による作業によって、実施されるようになっている請求項1又は2記載のPCa庇パネル部材の取付け施工方法。
【請求項5】
前記外壁部パネル部に取り付けれられた前記上部係合金物が係止される、前記骨組み構造体の前記被係止部が、外側に張り出すようにして前記骨組み構造体に一体とし固定された支持ブラケットに設けられている請求項1又は2記載のPCa庇パネル部材の取付け施工方法。
【請求項6】
前記PCa庇パネル部材は、L字形の断面形状、又はT字形の断面形状を備えると共に、横方向に相当の長さを有するパネル部材となっている請求項1又は2記載のPCa庇パネル部材の取付け施工方法。
発明の詳細な説明
【技術分野】
【0001】
本発明は、PCa庇パネル部材の取付け施工方法に関し、特に、建物の外壁部分に組み込んで取り付けられる、プレキャスコンクリート製のPCa庇パネル部材を、無支保工・無足場の状態で所定の高さ位置に取付け可能とする、PCa庇パネル部材の取付け施工方法に関する。
続きを表示(約 2,600 文字)
【背景技術】
【0002】
例えば鉄筋コンクリート造の建物を構築する際に、コンクリートによる外壁部分から張り出すようにして、庇部が設けられることがある。また、コンクリートによる外壁部分から外側に張り出す庇部を、現場打ちコンクリートによって外壁部分と一体として形成する作業は、庇部が、片持ち状に張り出した部分となっているため、例えば建物の上階の外壁部分などの、相当の高さ位置に設ける必要がある場合には、コンクリートを打設するための型枠を組み付けたり、型枠を支持する支保工を設置したりするのに、多くの手間を要することになる。
【0003】
このようなことから、コンクリート製の庇部を、予め工場等において、プレキヤストコンクリート製品(PCa庇)として製造しておき、建物の構築現場において、コンクリートによる外壁部分から張り出すようにして、製造したPCa庇を接合することで、庇部を設ける技術も開発されている(例えば、特許文献1参照)。特許文献1に記載のコンクリート接合構造では、建物の外壁部分に設けられた現場打ちコンクリートによる梁の側面から外側に張り出すようにして形成された、上側支圧面及び下側支圧面による接合凹部に、PCa庇の基端部を挿入して接合するようになっており、PCa庇の自重や、PCa庇が外部から受ける荷重によって接合凹部に発生する曲げモーメントを、接合凹部の上側支圧面及び下側支圧面が支圧を介して梁に伝達することで、張り出したPCa庇を支持するようになっている。
【先行技術文献】
【特許文献】
【0004】
特開2009-84888号公報
【発明の概要】
【発明が解決しようとする課題】
【0005】
特許文献1に記載のコンクリート接合構造では、PCa庇の張り出し長さを大きくすると、接合凹部の上側支圧面及び下側支圧面に負荷される曲げモーメントが大きくなって、安定した状態でPCa庇を支持することが困難になると考えられることから、本願出願人は、庇部を備えるプレキヤストコンクリート製品として、好ましくは外壁部パネル部と、外壁部パネル部から横方向外側に向けて張り出した庇パネル部と備える、例えばL字形の断面形状やT字形の断面形状のPCa庇パネル部材を製造し、建物の構築現場においては、1階の天井部分の骨組み構造体の外側端部や、これよりも上階の天井部分の骨組み構造体の外側端部に、外壁部パネル部を接合することによって、PCa庇パネル部材をこれらの骨組み構造体に支持させることで、より安定した状態で、庇パネル部による、相当の張り出し長さの庇部を設けることを可能にする技術を提案している。
【0006】
一方、外壁部パネル部と庇パネル部とを備える例えばL字形の断面形状やT字形の断面形状を有するPCa庇パネル部材を用いて、建物の構築現場で庇部を設置する場合、庇パネル部の張り出し長さが大きくなると、設置時にPCa庇パネル部材を支保工等によって下方から支持する必要を生じることになるが、隣接する各種の設備構造物等の設置物との関係や、別発注の外構工事等との関係で、建築する建物の周囲の地盤面から仮設の支保工を立設させり、仮設の足場を設置したりすることが困難な作業現場では、このようなPCa庇パネル部材は、無支保工・無足場の状態で、建物の所定の高さ位置に設置しなければならなくなる。
【0007】
また、外壁部パネル部と庇パネル部とを備える例えばL字形の断面形状やT字形の断面形状を有するPCa庇パネル部材を、無支保工・無足場の状態で、建築する建物の所定の高さ位置に設置することが可能であれば、無支保工・無足場で設置されたPCa庇パネル部材の庇パネル部を利用して、建物の上階部分を構築するための仮設の足場を組み立てることが可能になると考えられる。
【0008】
本発明は、外壁部パネル部と庇パネル部とを備えるPCa庇パネル部材を、無支保工・無足場の状態で、建築する建物の所定の高さ位置に容易に設置することを可能にする、PCa庇パネル部材の取付け施工方法を提供することを目的とする。
【課題を解決するための手段】
【0009】
本発明は、建物の外壁部分に組み込んで取り付けられる、プレキャスコンクリート製のPCa庇パネル部材を、地盤面から立設する仮設の支保工及び仮設の足場を用いることなく、無支保工・無足場の状態で所定の高さ位置に取付け可能とする、PCa庇パネル部材の取付け施工方法であって、前記PCa庇パネル部材は、建物の外壁部分に沿って配置される外壁部パネル部と、該外壁部パネル部から、横方向外側に向けて張り出した庇パネル部とを含んで構成されていると共に、前記外壁部パネル部における前記庇パネル部とは反対の背面側には、上部及び下部に、建物の骨組み構造体に係合される上部係合金物及び下部係合金物が、各々取り付けられており、一方の端部が前記外壁部パネル部の上端部分に係止されると共に、他方の端部が前記庇パネル部の張出し先端部分に係止される一対のワイヤー材からなる、複数の玉掛けワイヤー部材を用いて、吊上げ用の重機により吊り上げられた前記PCa庇パネル部材を、建物の骨組み構造体における当該PCa庇パネル部材の取付け位置に搬送して、前記外壁部パネル部の上部に設けれられた前記上部係合金物を、建物の屋内側からの作業員による作業によって、前記骨組み構造体の被係止部に係止して、前記PCa庇パネル部材を仮固定する仮固定工程と、仮固定された前記PCa庇パネル部材の前記庇パネル部を足場とした作業員による作業によって、前記玉掛けワイヤー部材の前記ワイヤー材を、少なくとも前記庇パネル部の張出し先端部分から取り外すワイヤー取外し工程と、前記外壁部パネル部の建ちの調整を行った後に、前記上部係合金物を、前記下部係合金物と共に、前記骨組み構造体の被係止部に係止して固定する本固定工程とを含んでいるPCa庇パネル部材の取付け施工方法を提供することにより、上記目的を達成したものである。
【0010】
そして、本発明のPCa庇パネル部材の取付け施工方法は、前記下部係合金物が、締着位置を調整可能なインサート金物を含んで構成されていることが好ましい。
(【0011】以降は省略されています)
この特許をJ-PlatPat(特許庁公式サイト)で参照する
関連特許
株式会社奥村組
制振機構
2か月前
株式会社奥村組
設置架台
1か月前
株式会社奥村組
施工管理装置
1か月前
株式会社奥村組
爆薬装填装置
1か月前
株式会社奥村組
施工管理装置
1か月前
株式会社奥村組
施工管理方法
1か月前
株式会社奥村組
非開削推進工法
1か月前
株式会社奥村組
非開削推進工法
1か月前
株式会社奥村組
非開削推進工法
1か月前
株式会社奥村組
非開削推進工法
1か月前
株式会社奥村組
非開削推進工法
1か月前
株式会社奥村組
廃棄物分類処理装置
1か月前
株式会社奥村組
外壁部施工用足場構造
1か月前
株式会社奥村組
洗浄器具および洗浄方法
2か月前
株式会社奥村組
圧入式オープンケーソン
2か月前
株式会社奥村組
継手部用スパイラル鉄筋
1か月前
株式会社奥村組
継手部用スパイラル鉄筋
1か月前
株式会社奥村組
ドラムカッタ用集塵カバー体
1か月前
株式会社奥村組
掘削機および非開削推進工法
1か月前
株式会社奥村組
壁下地用胴縁の端部固定構造
2か月前
株式会社奥村組
免震用ダンパ装置の連結部構造
2か月前
株式会社奥村組
大規模建築物における骨組み構造
1か月前
株式会社奥村組
底部コンクリート構造体の撤去方法
1か月前
株式会社奥村組
PCa庇パネル部材を用いた足場構造
1か月前
株式会社奥村組
PCa庇パネル部材の取付け施工方法
1か月前
株式会社奥村組
木質部材のコンクリート面への接合工法
2か月前
株式会社奥村組
スパイラル鉄筋を用いた継手部の配筋構造
1か月前
株式会社奥村組
スパイラル鉄筋を用いた継手部の配筋構造
1か月前
株式会社奥村組
スパイラル鉄筋を用いた継手部の配筋構造
1か月前
株式会社奥村組
スパイラル鉄筋を用いた継手部の配筋構造
1か月前
株式会社奥村組
スパイラル鉄筋を用いた継手部の配筋構造
1か月前
株式会社奥村組
スパイラル鉄筋を用いた継手部の配筋構造
1か月前
株式会社奥村組
大規模建築物における骨組み構造の施工方法
1か月前
株式会社奥村組
底部角部コンクリート構造体の解体撤去方法
1か月前
株式会社奥村組
シールドジャッキのスプレッダによる当接部構造
2か月前
株式会社奥村組
木製柱の立設下端部のコンクリート面への接合部構造
2か月前
続きを見る
他の特許を見る