TOP
|
特許
|
意匠
|
商標
特許ウォッチ
Twitter
他の特許を見る
公開番号
2025143982
公報種別
公開特許公報(A)
公開日
2025-10-02
出願番号
2024043528
出願日
2024-03-19
発明の名称
木製柱の立設下端部のコンクリート面への接合部構造
出願人
株式会社奥村組
代理人
弁理士法人翔和国際特許事務所
主分類
E04B
1/58 20060101AFI20250925BHJP(建築物)
要約
【課題】施工現場において木製柱をコンクリート面に建て込んで接合する作業を容易にすると共に、鋼棒固着孔の内部に中空鋼棒を安定した状態で固着できる接合部構造を提供する。
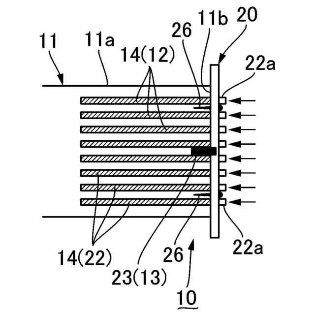
【解決手段】木製柱11の下端面11bに穿孔形成された複数の鋼棒固着孔12と、アンカーボルト31を締着させるボルト締着孔21を有すると共に、鋼棒固着孔12に挿入固着される複数の中空鋼棒22を立設させた、金属製のベースプレート20とを含んで構成される。木製柱11の複数の鋼棒固着孔12と、中空鋼棒22を螺着して立設させるベースプレート20の複数のタップ孔24とは、各々の中心位置を合致させることが可能な位置関係となるように形成されている。各々の鋼棒固着孔12において、挿入された中空鋼棒22との間の間隔部分に、中空鋼棒22を介して注入された充填固化剤14が、中空鋼棒22の全周に亘って充填されて固化している。
【選択図】図8
特許請求の範囲
【請求項1】
アンカーボルトが配設されたコンクリート面から立設させて木製柱を取り付けるための構造として、該木製柱の立設下端部に設けられた、木製柱の立設下端部のコンクリート面への接合部構造であって、
前記木製柱の下端面から軸方向に延設して穿孔形成された複数の鋼棒固着孔と、前記アンカーボルトを締着させるボルト締着孔を有すると共に、前記木製柱の前記鋼棒固着孔に各々挿入固着される複数の中空鋼棒を立設させた金属製のベースプレートとを含んで構成されており、
前記木製柱の下端面には、位置決め嵌着孔が形成されていると共に、前記ベースプレートには、該位置決め嵌着孔に嵌着されることで、該ベースプレートの前記木製柱の下端面に対する位置ずれを防止する位置決め突起部が設けられており、
且つ前記ベースプレートには、前記中空鋼棒を各々螺着させることで、一方の端部開口を該ベースプレートの下面側に臨ませた状態で、他方の端部開口側を該ベースプレートから立設させる複数のタップ孔が形成されており、
複数の前記鋼棒固着孔と複数の前記タップ孔とは、前記位置決め嵌着孔に前記位置決め突起部が嵌着されて前記ベースプレートが前記木製柱の下端面に密着すると共に、前記タップ孔から立設する複数の前記中空鋼棒が前記鋼棒固着孔に各々挿入された状態で、前記鋼棒固着孔の内周面と前記中空鋼棒との間に全周に亘る所定幅の間隔部分が保持されるように、各々の中心位置を合致させることが可能な位置関係となるように設定されて形成されており、
各々の前記鋼棒固着孔において、挿入された前記中空鋼棒との間の前記間隔部分に、該中空鋼棒を介して注入された充填固化剤が充填されて固化していることによって、前記木製柱の立設下端部に、前記中空鋼棒が取り付けられた前記ベースプレートが、一体として固定されている木製柱の立設下端部のコンクリート面への接合部構造。
続きを表示(約 650 文字)
【請求項2】
前記木製柱は、矩形状の断面形状を有していると共に、金属製の前記ベースプレートは、前記木製柱の矩形状の断面形状よりも一回り大きな矩形状の平面形状を有しており、
前記ベースプレートには、前記木製柱に穿孔形成された複数の前記鋼棒固着孔の位置と各々対応させて、複数の前記タップ孔が、矩形環状に連設して形成されていると共に、矩形環状に連設する複数の前記タップ孔によって囲まれる内側領域に、前記木製柱の前記位置決め嵌着孔の位置と対応させて、前記位置決め突起部が設けられており、矩形環状に連設する複数の前記タップ孔の外側領域に、前記アンカーボルトを締着させる前記ボルト締着孔が形成されている請求項1記載の木製柱の立設下端部のコンクリート面への接合部構造。
【請求項3】
前記位置決め嵌着孔は、前記木製柱の下端面の中心部分に形成された、円形の断面形状を備える嵌着孔となっており、前記位置決め突起部は、矩形環状に連設する複数の前記タップ孔によって囲まれる内側領域の中心部分から突出する、円形の断面形状を備える突起部となっている請求項2記載の木製柱の立設下端部のコンクリート面への接合部構造。
【請求項4】
前記ベースプレートにおける、複数の前記タップ孔によって囲まれる内側領域に、複数のビス孔が形成されており、これらのビス孔を介して、ビス又は釘が前記木製柱の下端面に向けて打ち込まれている請求項2又は3記載の木製柱の立設下端部のコンクリート面への接合部構造。
発明の詳細な説明
【技術分野】
【0001】
本発明は、木製柱の立設下端部のコンクリート面への接合部構造に関し、特にアンカーボルトが配設されたコンクリート面から立設させて木製柱を取り付けるための、木製柱の立設下端部のコンクリート面への接合部構造に関する。
続きを表示(約 2,700 文字)
【背景技術】
【0002】
近年、好ましくは環境への配慮から、コンクリート主体の建築物に、木製の構造部分を組み込む技術が種々提案されており、例えば木製の柱を鉄筋コンクリート製のスラブ等によるコンクリート面に立設させた状態で接合するための構造として、木質部材に穿孔形成された鋼棒の固着孔に中空鋼棒を挿入し、挿入した中空鋼棒を介して固着孔に充填固化剤を充填して固化させることで部材同士を接合する、GIR工法を用いた接合部の構造が検討されている。
【0003】
また、例えば下記の特許文献1や特許文献2には、鉄筋コンクリート製のスラブ面にプレキャストコンクリート製の柱を立設させた状態で接合するための接合部の構造が開示されており、これらの接合部の構造では、下端部に配置されるスプライススリーブに柱主筋を中途まで挿通し、これらを帯筋とともに埋設して製作されたプレキヤストコンクリート製の柱を、スラブ上に設置されたレベラー上に、スラブ面から突出した主筋をスプライススリーブに差し込んだ状態で建て込むと共に、その下端部の周囲にグラウト用型枠を設置した後、スプライススリーブ内及びスラブ面との間隙にモルタルを注入して固化させることで、柱下面とスラブ面及び上下の柱主筋を接合するものとなっている。
【先行技術文献】
【特許文献】
【0004】
特公平4-52815号公報
特開平7―18738号公報
【発明の概要】
【発明が解決しようとする課題】
【0005】
GIR工法を用いて木製柱をコンクリート面に立設させた状態で接合する場合、上述の従来のプレキャストコンクリート製の柱の接合部の構造と同様に、例えば金属製のベースプレートを介して複数の中空鋼棒を、鉄筋コンクリート製のスラブ等によるコンクリート面から突出させておき、木製柱を、これの下端面に穿孔形成された複数の鋼棒固着孔に中空鋼棒を各々差し込んだ状態で、コンクリート面に建て込んだ後に、中空鋼棒が差し込まれた各々の鋼棒固着孔に、当該中空鋼棒を介して充填固化剤を注入して固化させることによって、木製柱をコンクリート面に立設させた状態で接合することが考えられる。
【0006】
しかしながら、このような、プレキャストコンクリート製の柱の接合部の構造と同様の技術では、木製柱に転用すると、木製柱の下端面に穿孔形成された複数の鋼棒固着孔の各々に対応させて、複数の中空鋼棒を所定の位置から各々精度良く立設させるのに多くの手間を要すると共に、中空鋼棒の位置が多少でもずれていたり傾いたりしていると、施工現場において複数の中空鋼棒を、各々の鋼棒固着孔に同時に差し込みながら、木製柱をコンクリート面に建て込む作業が困難になる。
【0007】
また特に、施工現場で木製柱をコンクリート面に建て込んだ際に、小径の鋼棒固着孔の内部で中空鋼棒の位置が多少でもずれたり傾いたりした状態で差し込まれると、充填固化剤を、中空鋼棒の全周に亘って、鋼棒固着孔の内周面との間の間隔部分に注入することが困難になって、鋼棒固着孔の内部に中空鋼棒を、安定した状態で固着させることが困難になる。
【0008】
本発明は、施工現場において木製柱をコンクリート面に建て込んで接合する作業を容易にすると共に、鋼棒固着孔の内部に中空鋼棒を、安定した状態で固着させることを可能にする木製柱の立設下端部のコンクリート面への接合部構造を提供することを目的とする。
【課題を解決するための手段】
【0009】
本発明は、アンカーボルトが配設されたコンクリート面から立設させて木製柱を取り付けるための構造として、該木製柱の立設下端部に設けられた、木製柱の立設下端部のコンクリート面への接合部構造であって、前記木製柱の下端面から軸方向に延設して穿孔形成された複数の鋼棒固着孔と、前記アンカーボルトを締着させるボルト締着孔を有すると共に、前記木製柱の前記鋼棒固着孔に各々挿入固着される複数の中空鋼棒を立設させた金属製のベースプレートとを含んで構成されており、前記木製柱の下端面には、位置決め嵌着孔が形成されていると共に、前記ベースプレートには、該位置決め嵌着孔に嵌着されることで、該ベースプレートの前記木製柱の下端面に対する位置ずれを防止する位置決め突起部が設けられており、且つ前記ベースプレートには、前記中空鋼棒を各々螺着させることで、一方の端部開口を該ベースプレートの下面側に臨ませた状態で、他方の端部開口側を該ベースプレートから立設させる複数のタップ孔が形成されており、複数の前記鋼棒固着孔と複数の前記タップ孔とは、前記位置決め嵌着孔に前記位置決め突起部が嵌着されて前記ベースプレートが前記木製柱の下端面に密着すると共に、前記タップ孔から立設する複数の前記中空鋼棒が前記鋼棒固着孔に各々挿入された状態で、前記鋼棒固着孔の内周面と前記中空鋼棒との間に全周に亘る所定幅の間隔部分が保持されるように、各々の中心位置を合致させることが可能な位置関係となるように設定されて形成されており、各々の前記鋼棒固着孔において、挿入された前記中空鋼棒との間の前記間隔部分に、該中空鋼棒を介して注入された充填固化剤が充填されて固化していることによって、前記木製柱の立設下端部に、前記中空鋼棒が取り付けられた前記ベースプレートが、一体として固定されている木製柱の立設下端部のコンクリート面への接合部構造を提供することにより、上記目的を達成したものである。
【0010】
そして、本発明の木製柱の立設下端部のコンクリート面への接合部構造は、前記木製柱が、矩形状の断面形状を有していると共に、金属製の前記ベースプレートは、前記木製柱の矩形状の断面形状よりも一回り大きな矩形状の平面形状を有しており、前記ベースプレートには、前記木製柱に穿孔形成された複数の前記鋼棒固着孔の位置と各々対応させて、複数の前記タップ孔が、矩形環状に連設して形成されていると共に、矩形環状に連設する複数の前記タップ孔によって囲まれる内側領域に、前記木製柱の前記位置決め嵌着孔の位置と対応させて、前記位置決め突起部が設けられており、矩形環状に連設する複数の前記タップ孔の外側領域に、前記アンカーボルトを締着させる前記ボルト締着孔が形成されていることが好ましい。
(【0011】以降は省略されています)
この特許をJ-PlatPat(特許庁公式サイト)で参照する
関連特許
株式会社奥村組
制振機構
2か月前
株式会社奥村組
運搬方法
2か月前
株式会社奥村組
制振機構
2か月前
株式会社奥村組
設置架台
1か月前
株式会社奥村組
吊り治具
2か月前
株式会社奥村組
施工管理装置
1か月前
株式会社奥村組
爆薬装填装置
1か月前
株式会社奥村組
施工管理装置
1か月前
株式会社奥村組
施工管理方法
1か月前
株式会社奥村組
ケーソン工法
2か月前
株式会社奥村組
非開削推進工法
1か月前
株式会社奥村組
非開削推進工法
1か月前
株式会社奥村組
非開削推進工法
1か月前
株式会社奥村組
非開削推進工法
1か月前
株式会社奥村組
非開削推進工法
1か月前
株式会社奥村組
シールド掘進機
2か月前
株式会社奥村組
ケーソン刃口金物
2か月前
株式会社奥村組
廃棄物分類処理装置
1か月前
株式会社奥村組
外壁部施工用足場構造
1か月前
株式会社奥村組
圧入式オープンケーソン
2か月前
株式会社奥村組
継手部用スパイラル鉄筋
1か月前
株式会社奥村組
洗浄器具および洗浄方法
2か月前
株式会社奥村組
継手部用スパイラル鉄筋
1か月前
株式会社奥村組
掘削機および非開削推進工法
1か月前
株式会社奥村組
壁下地用胴縁の端部固定構造
2か月前
株式会社奥村組
ドラムカッタ用集塵カバー体
1か月前
株式会社奥村組
免震用ダンパ装置の連結部構造
2か月前
株式会社奥村組
大規模建築物における骨組み構造
1か月前
国立大学法人 筑波大学
制振機構
2か月前
国立大学法人 筑波大学
制振機構
2か月前
株式会社奥村組
底部コンクリート構造体の撤去方法
1か月前
国立大学法人 筑波大学
制振機構
2か月前
株式会社奥村組
PCa庇パネル部材を用いた足場構造
1か月前
株式会社奥村組
PCa庇パネル部材の取付け施工方法
1か月前
株式会社奥村組
木質部材のコンクリート面への接合工法
2か月前
株式会社奥村組
シールド掘進機およびシールド掘進方法
2か月前
続きを見る
他の特許を見る