TOP
|
特許
|
意匠
|
商標
特許ウォッチ
Twitter
他の特許を見る
公開番号
2025143053
公報種別
公開特許公報(A)
公開日
2025-10-01
出願番号
2024042743
出願日
2024-03-18
発明の名称
シールドジャッキのスプレッダによる当接部構造
出願人
株式会社奥村組
代理人
弁理士法人翔和国際特許事務所
主分類
E21D
9/06 20060101AFI20250924BHJP(地中もしくは岩石の削孔;採鉱)
要約
【課題】ピストンロッドの後端部に球面継手部を介して接続されたスプレッダの当接面盤を、安定した状態で当接させて、覆工体の先端面に偏った荷重が負荷されないようにする当接部構造を提供する。
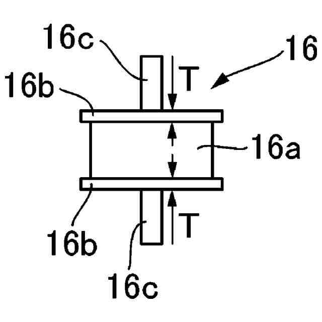
【解決手段】スプレッダ11の後端面12aに、一対のプレート部材13,14からなる当接緩衝部材15が取り付けられている。一対のプレート部材13,14は、間隔部分Sを保持した状態で重ねて配置されている。プレート部材13,14の対向面13a,14aには、防振ゴム部材16が係着される係着凹部13b,14bが形成されている。防振ゴム部材16は、一方の基台金物16bを、一方のプレート部材13の対向面13aの係着凹部13bに固定すると共に、他方の基台金物16bを、他方のプレート部材14の対向面14aに固定することによって、これらのプレート部材13,14による対向面13a,14aの間に介在して各々取り付けられている。
【選択図】図3
特許請求の範囲
【請求項1】
シールド掘進機を構成するシールドジャッキのピストンロッドの後端部に球面継手部を介して接続されたスプレッダを、組み立てられたセグメントによる覆工体の先端面に当接させて掘進反力を得るためのシールドジャッキのスプレッダによる当接部構造であって、
スプレッダの当接面盤の後端面に、一対の平板形状のプレート部材からなる当接緩衝部材が取り付けられており、
該当接緩衝部材は、一方の前記プレート部材が、前記当接面盤の後端面に一体として接合されていると共に、他方の前記プレート部材が、一方の前記プレート部材に対して3~10mmの間隔部分を保持した状態で重ねて配置されていることによって形成されており、
前記間隔部分を挟んだ一方の前記プレート部材及び他方の前記プレート部材の双方の対向面、又はいずれか一方の前記プレート部材の対向面には、防振ゴム部材が係着される係着凹部が、これらの対向面の少なくとも3箇所に形成されおり、
前記防振ゴム部材は、柱体形状の防振ゴム本体の両側の端面に、中央部に係着ロッド部を垂直に立設させた基台金物を、各々固着した構造を備えていると共に、前記基台金物の厚さの合計が、前記係着凹部の深さの合計よりも、小さくなっており、
これらの前記防振ゴム部材は、少なくとも一方の前記基台金物を、いずれか一方の前記プレート部材の対向面に形成された前記係着凹部の底面部に、前記係着ロッドを係着孔に係着することで固定すると共に、他方の前記基台金物を、他方の前記プレート部材の対向面に、前記係着ロッドを係着孔に係着することで固定することによって、一方の前記プレート部材及び他方の前記プレート部材による対向面の間に介在して、各々取り付けられているシールドジャッキのスプレッダによる当接部構造。
続きを表示(約 330 文字)
【請求項2】
前記当接緩衝部材を形成する一対の前記プレート部材が、各々樹脂板を用いて形成されている請求項1に記載のシールドジャッキのスプレッダによる当接部構造。
【請求項3】
前記球面継手部が設けられた、シールドジャッキの前記ピストンロッドの押圧端面と前記スプレッダの先端面との間に介在して、前記スプレッダの傾きを抑制するための硬質ゴムによる間詰材が装着されている請求項1又は2記載のシールドジャッキのスプレッダによる当接部構造。
【請求項4】
前記当接緩衝部材を形成する他方の前記プレート部材が、前記スプレッダの前記当接面盤に、ワイヤ部材を介して連結されている請求項1又は2記載のシールドジャッキのスプレッダによる当接部構造。
発明の詳細な説明
【技術分野】
【0001】
本発明は、シールドジャッキのスプレッダによる当接部構造に関し、特にシールド掘進機を構成するシールドジャッキのピストンロッドの後端部に球面継手部を介して接続されたスプレッダ、組み立てられたセグメントによる覆工体の先端面に当接させて掘進反力を得るための、シールドジャッキのスプレッダによる当接部構造に関する。
続きを表示(約 2,700 文字)
【背景技術】
【0002】
シールド掘進機は、例えば都市部等における地中の軟弱な地盤に対しても、シールドトンネルを形成して行くことが可能な公知の掘進機であり、好ましくは円筒形状の鋼製の外殻体で覆われた当該シールド掘進機を、外殻体の後部で組み立てたセグメントによる覆工体から掘進反力を得ながら、先端部の回転カッターによって切羽面を掘削しつつ、シールドジャッキを伸長させて、トンネルを掘進して行くものとなっている。
【0003】
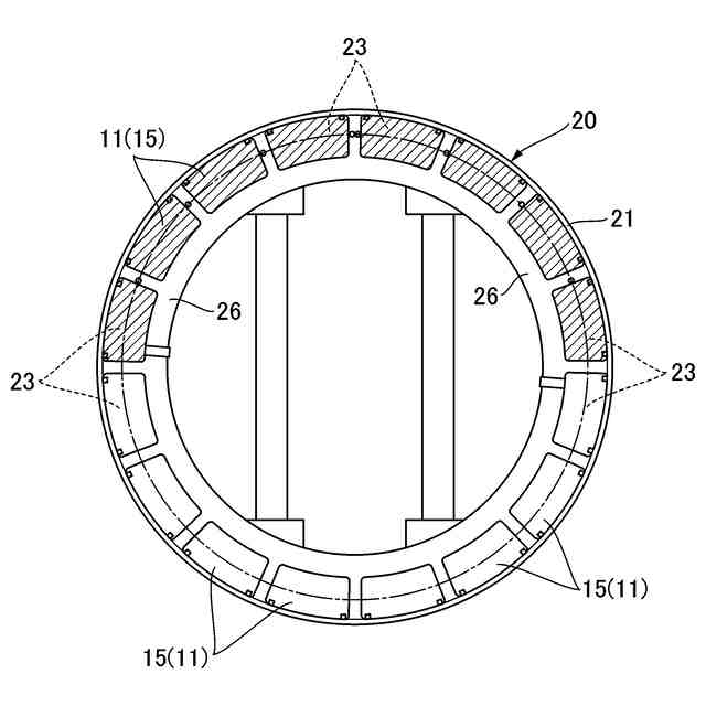
また、シールド掘進機では、後方のセグメントによる覆工体から掘進反力を得るための構造として、シールドジャッキを構成するピストンロッドの後端部に、スプレッダとして知られる当接部材を取り付け、スプレッダの当接面盤を、組み立てたセグメントによる覆工体の先端面に押し付けて支持させる構造が採用されている。そして、例えば湾曲する部分のトンネルをシールド掘進機によって掘進してゆく場合、シールド掘進機の外殻体に固定されたシールドジャッキのピストンロッドの伸長方向が、セグメントによる覆工体の先端面に対して垂直な方向から、傾くことがあるため、スプレッダは、好ましくは公知の球面継手部を介して、ピストンロッドの後端部に任意の角度で首振り可能に接続されていることで、このような方向のずれを吸収して、スプレッダの当接面盤を、覆工体の先端面に対して垂直に当接させることができるようにしている。
【0004】
一方、覆工体の先端面に当接面盤を当接させるスプレッダが、球面継手部を介してピストンロッドの後端部に首振り可能に接続されていると、例えばシールドジャッキを収縮させた状態で、外殻体の後部で新たにセグメントを組み立てて覆工体を形成した後に、再びシールドジャッキのピストンロッドを伸長させて、スプレッダの当接面盤を覆工体の先端面に当接させる際に、スプレッダは、伸長時にその自重によって下方に傾いた状態のまま覆工体に当接することがあり、これによって掘進時に覆工体の先端面に偏った荷重が負荷されることで、覆工体に不具合を生じさせるおそれがある。
【0005】
このようなことから、ピストンロッドの後端部に球面継手部を介して接続されたスプレッダが、伸長時に下方に傾いた状態のまま覆工体に当接するのを抑制して、掘進時に偏った荷重が負荷されないようにすることで、覆工体に不具合を生じさせないようにする技術も開発されている(例えば、特許文献1参照)。
【先行技術文献】
【特許文献】
【0006】
特開平8-135367号公報
【発明の概要】
【発明が解決しようとする課題】
【0007】
特許文献1に記載のシールド掘進機推進装置では、シールドジャッキのピストンロッドの後端部とスプレッダとの間に、弾性体を、スプレッダが少なくとも垂直方向及び水平方向に傾動しようとした際に弾性変形させることができるように介在させて装着し、スプレッダがこれら各方向へ傾くのを実質上防止できるようにすると共に、スプレッダがシールドジャッキのピストンロッドの後端部の球面継手部に対して、スプレッダを使用する上で必要な最大傾動角度よりも大きい所定角度を超えて傾動しようとした場合に、球面継手部に当たってその傾動を停止できるようになっている。
【0008】
しかしながら、特許文献1に記載のシールド掘進機推進装置では、スプレッダが覆工体の先端面に当接する前に自重によって傾くのを、効果的に抑制することは可能であるが、傾きを無くすことはできないことから、掘進時に覆工体に不具合を生じさせないように、当接部分の構造をさらに改善することが必要である。特に、スプレッダの当接面盤をセグメントによる覆工体の先端面に当接させる際に、覆工体に偏った荷重が負荷されると、シールド掘進機による掘進操作に影響を及ぼすおそれがあることから、掘進反力を得るための覆工体の先端面には、偏った荷重が出来るだけ負荷されないようにすることが必要である。
【0009】
本発明は、シールドジャッキのピストンロッドの後端部に球面継手部を介して接続されたスプレッダの当接面盤を、組み立てられたセグメントによる覆工体の先端面に当接させる際に、より安定した状態で当接させて、掘進反力を得るための覆工体の先端面に、偏った荷重が極力負荷されないようにすることのできるシールドジャッキのスプレッダによる当接部構造を提供することを目的とする。
【課題を解決するための手段】
【0010】
本発明は、シールド掘進機を構成するシールドジャッキのピストンロッドの後端部に球面継手部を介して接続されたスプレッダを、組み立てられたセグメントによる覆工体の先端面に当接させて掘進反力を得るためのシールドジャッキのスプレッダによる当接部構造であって、スプレッダの当接面盤の後端面に、一対の平板形状のプレート部材からなる当接緩衝部材が取り付けられおり、該当接緩衝部材は、一方の前記プレート部材が、前記当接面盤の後端面に一体として接合されていると共に、他方の前記プレート部材が、一方の前記プレート部材に対して3~10mmの間隔部分を保持した状態で重ねて配置されていることによって形成されており、前記間隔部分を挟んだ一方の前記プレート部材及び他方の前記プレート部材の双方の対向面、又はいずれか一方の前記プレート部材の対向面には、防振ゴム部材が係着される係着凹部が、これらの対向面の少なくとも3箇所に形成されおり、前記防振ゴム部材は、柱体形状の防振ゴム本体の両側の端面に、中央部に係着ロッド部を垂直に立設させた基台金物を、各々固着した構造を備えていると共に、前記基台金物の厚さの合計が、前記係着凹部の深さの合計よりも、小さくなっており、これらの前記防振ゴム部材は、少なくとも一方の前記基台金物を、いずれか一方の前記プレート部材の対向面に形成された前記係着凹部の底面部に、前記係着ロッドを係着孔に係着することで固定すると共に、他方の前記基台金物を、他方の前記プレート部材の対向面に、前記係着ロッドを係着孔に係着することで固定することによって、一方の前記プレート部材及び他方の前記プレート部材による対向面の間に介在して、各々取り付けられているシールドジャッキのスプレッダによる当接部構造を提供することにより、上記目的を達成したものである。
(【0011】以降は省略されています)
この特許をJ-PlatPat(特許庁公式サイト)で参照する
関連特許
株式会社奥村組
制振機構
2か月前
株式会社奥村組
制振機構
2か月前
株式会社奥村組
設置架台
1か月前
株式会社奥村組
施工管理装置
1か月前
株式会社奥村組
施工管理方法
1か月前
株式会社奥村組
施工管理装置
1か月前
株式会社奥村組
爆薬装填装置
1か月前
株式会社奥村組
非開削推進工法
1か月前
株式会社奥村組
非開削推進工法
1か月前
株式会社奥村組
非開削推進工法
1か月前
株式会社奥村組
非開削推進工法
1か月前
株式会社奥村組
非開削推進工法
1か月前
株式会社奥村組
廃棄物分類処理装置
1か月前
株式会社奥村組
外壁部施工用足場構造
1か月前
株式会社奥村組
圧入式オープンケーソン
2か月前
株式会社奥村組
継手部用スパイラル鉄筋
1か月前
株式会社奥村組
洗浄器具および洗浄方法
2か月前
株式会社奥村組
継手部用スパイラル鉄筋
1か月前
株式会社奥村組
壁下地用胴縁の端部固定構造
2か月前
株式会社奥村組
掘削機および非開削推進工法
1か月前
株式会社奥村組
ドラムカッタ用集塵カバー体
1か月前
株式会社奥村組
免震用ダンパ装置の連結部構造
2か月前
株式会社奥村組
大規模建築物における骨組み構造
1か月前
国立大学法人 筑波大学
制振機構
2か月前
国立大学法人 筑波大学
制振機構
2か月前
国立大学法人 筑波大学
制振機構
2か月前
株式会社奥村組
底部コンクリート構造体の撤去方法
1か月前
株式会社奥村組
PCa庇パネル部材を用いた足場構造
1か月前
株式会社奥村組
PCa庇パネル部材の取付け施工方法
1か月前
株式会社奥村組
木質部材のコンクリート面への接合工法
2か月前
株式会社奥村組
スパイラル鉄筋を用いた継手部の配筋構造
1か月前
株式会社奥村組
スパイラル鉄筋を用いた継手部の配筋構造
1か月前
株式会社奥村組
スパイラル鉄筋を用いた継手部の配筋構造
1か月前
株式会社奥村組
スパイラル鉄筋を用いた継手部の配筋構造
1か月前
株式会社奥村組
スパイラル鉄筋を用いた継手部の配筋構造
1か月前
株式会社奥村組
スパイラル鉄筋を用いた継手部の配筋構造
1か月前
続きを見る
他の特許を見る