TOP
|
特許
|
意匠
|
商標
特許ウォッチ
Twitter
他の特許を見る
公開番号
2025147574
公報種別
公開特許公報(A)
公開日
2025-10-07
出願番号
2024047892
出願日
2024-03-25
発明の名称
ドラムカッタ用集塵カバー体
出願人
株式会社奥村組
代理人
弁理士法人翔和国際特許事務所
主分類
E02F
3/36 20060101AFI20250930BHJP(水工;基礎;土砂の移送)
要約
【課題】ドラムカッタによって固い対象物を切削する際に生じる粉塵類が、周囲へ飛散するのを簡易に且つ効率良く防止できるドラムカッタ用集塵カバー体を提供する。
【解決手段】バックフォー用重機のアーム部の先端部分に取り付けられるドラムカッタ20の切削回転ドラム21を覆って接合されて、切削時の粉塵類を吸引して集塵できるようにする集塵カバー体10であって、支持ロッド部15とカバー本体11とを含んで構成されている。カバー本体11は、半円形状に湾曲した形状を有する上面カバー部12と、切削回転ドラム21の外側側面部分に沿って配置される側面カバー部13とを有する、中空半円状の箱形形状を備えている。上面カバー部12から外側に突出して、吸引接続口14が設けられている。
【選択図】図3
特許請求の範囲
【請求項1】
バックフォー用重機のアーム部の先端部分のアタッチメントとして、バケットに代えて取り付けられるドラムカッタを構成する、一対の切削回転ドラムを覆って接合されて、切削時の粉塵類を吸引して集塵できるようにするドラムカッタ用集塵カバー体であって、
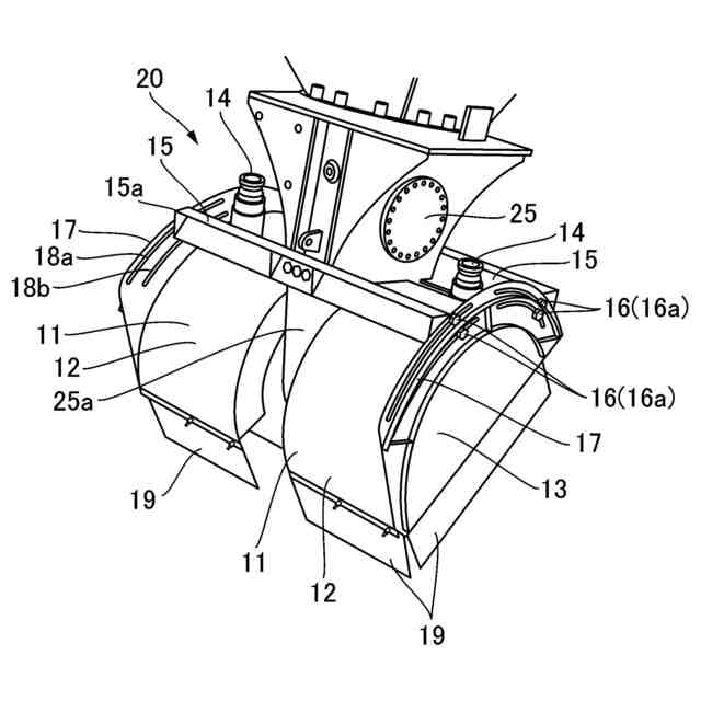
前記ドラムカッタは、バックフォー用重機のアーム部の先端部分に回動可能に連結支持されると共に、先端側部分の軸受部に回転駆動軸が回転可能に取り付けられた取付け基台部と、該取付け基台部の前記軸受部から両側に張り出した部分の前記回転駆動軸に各々一体として固定された、外周部から複数の切削ピッグを突出させた一対の前記切削回転ドラムとを含んで構成されており、
当該ドラムカッタ用集塵カバー体は、前記取付け基台部における、前記切削回転ドラムよりも上方部分に固定された一対の支持ロッド部と、該支持ロッド部に支持されて、各々の前記切削回転ドラムの少なくとも上半部分を覆って配置された一対のカバー本体とを含んで構成されており、
一対の前記支持ロッドは、前記回転駆動軸と平行に配置されて、前記取付け基台部の前面側及び後面側に各々取り付けられていると共に、両側の端面部分には、雄ネジボルト部材が突出した状態で各々固着されており、
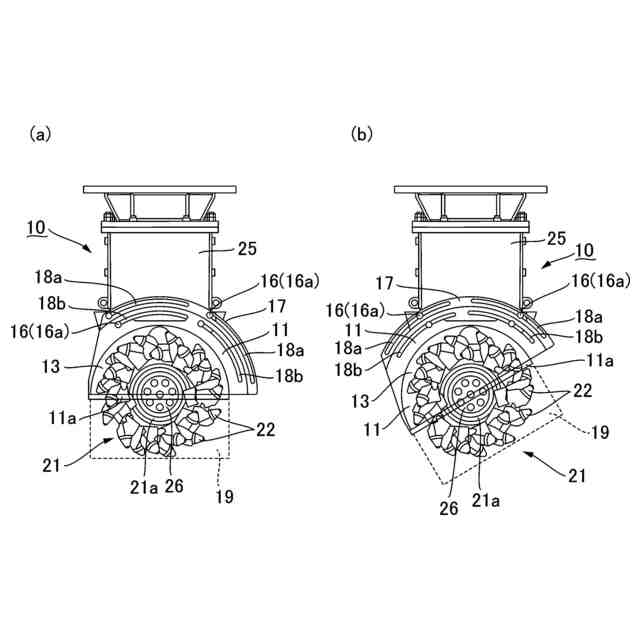
各々の前記カバー本体は、一対の前記切削回転ドラムと各々離間してこれの上部外周部分に沿って配置される、前記回転駆動軸と同心状の半円形状に湾曲した形状を有する上面カバー部と、該上面カバー部に周縁部分を接合して、一対の前記切削回転ドラムと各々離間してこれの外側側面部分に沿って配置される側面カバー部とを有する、中空半円状の箱形形状を備えていると共に、前記上面カバー部から外側に突出して、吸引接続口が設けられており、
且つ各々の前記カバー本体には、外側側面部分に沿って配置された前記側面カバー部の外周縁部に沿って延設して、湾曲する帯板形状を有するカバー体接合プレート部が、径方向外側に張り出した状態で一体として取り付けられていると共に、該カバー体接合プレート部には、前記上面カバー部の湾曲形状に沿って前記回転駆動軸と同心状の弧状に湾曲する、湾曲締着ガイド長孔が形成されており、
前記カバー体接合プレート部の前記湾曲締着ガイド長孔に、前記取付け基台部の前面側及び後面側に固定された一対の前記支持ロッドの、各々の端面部から突出する前記雄ネジボルト部材をナット部材を用いて締着させることで、前記カバー本体が、前記支持ロッドを介して前記取付け基台部に一体として接合されるようになっており、且つ前記湾曲締着ガイド長孔における、前記雄ネジボルト部材を締着させる位置を調整することで、前記カバー本体の下端開口面の傾斜角度を、調整できるようになっているドラムカッタ用集塵カバー体。
続きを表示(約 630 文字)
【請求項2】
前記カバー体接合プレート部には、前記上面カバー部の湾曲形状に沿って弧状に湾曲する前記湾曲締着ガイド長孔が、前記回転駆動軸からの径方向の間隔を異ならせて、2列に形成されていると共に、前記支持ロッドの両側の端面部分には、各々2本の前記雄ネジボルト部材が、前記回転駆動軸からの径方向の間隔を異ならせて各々固着されており、2列の前記湾曲締着ガイド長孔に、2本の前記雄ネジボルト部材をナット部材を用いて各々締着させることで、前記カバー本体が、前記支持ロッドを介して前記取付け基台部に一体として接合されるようになっており、且つ各々の前記湾曲締着ガイド長孔における、各々の前記雄ネジボルト部材を締着させる位置を調整することで、前記カバー本体の下端開口面の傾斜角度を、調整できるようになっている請求項1記載のドラムカッタ用集塵カバー体。
【請求項3】
前記吸引接続口は、前記上面カバー部における、周方向の中央部分よりも前記切削回転ドラムの回転方向の上流側に配置されて、突出して設けられている請求項1又は2記載のドラムカッタ用集塵カバー体。
【請求項4】
前記カバー本体の下端開口面の周縁部分には、これの全周に亘って、可撓性を有する板材、又は合成樹脂製或いは金属製の多数の線材からなるブラシ材が、前記切削回転ドラムの回転軌跡の端縁部を超えて延設した状態で取り付けられている請求項1又は2記載のドラムカッタ用集塵カバー体。
発明の詳細な説明
【技術分野】
【0001】
本発明は、ドラムカッタ用集塵カバー体に関し、特に、バックフォー用重機のアーム部の先端部のアタッチメントとして、バケットに代えて取り付けられるドラムカッタを構成する、一対の切削回転ドラムを覆って接合されて、切削時の粉塵類を吸引して集塵できるようにするドラムカッタ用集塵カバー体に関する。
続きを表示(約 3,100 文字)
【背景技術】
【0002】
ドラムカッタは、例えば扁平な円盤形状のカッタドラムの外周部から、超硬チップが埋め込まれた多数の切削ピックを突出させた、公知の切削用の装置であって、コンクリートや岩盤等の固い対象物に対しても、カッタドラムを回転させつつ破砕したり切削したりすることが可能であることから、例えば地中連続壁工法において、先行エレメントと後行エレメントの継ぎ手部分のコンクリートを切削する縦溝形成用の掘削重機に取り付けられて、コンクリートカッティングを可能にする装置として用いられている(例えば、特許文献1、特許文献2参照)。
【0003】
また、ドラムカッタは、コンクリートや岩盤等の固い対象物を切削可能であることから、これを好ましくはバックフォー用重機のアーム部の先端部分にアタッチメントとして設けられているバケットに代えて、当該ドラムカッタを、アーム部の先端部分に取り付けて用いるようにした技術も開発されており(例えば、特許文献3参照)、これによってドラムカッタを、例えばコンクリート構造物や舗装面等を切削して、表面処理などを行うための装置として用いることが可能になる。
【先行技術文献】
【特許文献】
【0004】
特開平6-220840号広報
特開平10-140601号広報
特開昭61-225494号広報
【発明の概要】
【発明が解決しようとする課題】
【0005】
一方、ドラムカッタを、バックフォー用重機のアーム部の先端部分にアタッチメントとして取り付けて、コンクリート構造物や舗装面等を切削する場合、多量の粉塵や飛び石などの粉塵類が生じることから、これらの粉塵類が周囲へ飛散するのを、防止できるようにする対策が必要となる。このような対策として、例えば散水することや防塵ネットを設けるなどの手段が考えられるが、散水する場合は水を確保したり水の供給設備を設けたりするのにコストや手間がかかり、防塵ネットを設ける場合は、切削の進行に伴って防塵ネットをその都度移動させる必要を生じることになる。このようなことから、より簡易に且つ効率良く、バックフォー用重機のアーム部の先端部分に取り付けられたドラムカッタによって固い対象物を切削する際に生じる、粉塵や飛び石などの粉塵類が周囲へ飛散するのを防止できるようにすると共に、好ましくはこれらの粉塵類を集塵できるようにする技術の開発が望まれている。
【0006】
本発明は、バックフォー用重機のアーム部の先端部分に取り付けられたドラムカッタによって固い対象物を切削する際に生じる粉塵類が、周囲へ飛散するのを簡易に且つ効率良く防止できると共に、これらの粉塵類を集塵することのできるドラムカッタ用集塵カバー体を提供することを目的とする。
【課題を解決するための手段】
【0007】
本発明は、バックフォー用重機のアーム部の先端部分のアタッチメントとして、バケットに代えて取り付けられるドラムカッタを構成する、一対の切削回転ドラムを覆って接合されて、切削時の粉塵類を吸引して集塵できるようにするドラムカッタ用集塵カバー体であって、前記ドラムカッタは、バックフォー用重機のアーム部の先端部分に回動可能に連結支持されると共に、先端側部分の軸受部に回転駆動軸が回転可能に取り付けられた取付け基台部と、該取付け基台部の前記軸受部から両側に張り出した部分の前記回転駆動軸に各々一体として固定された、外周部から複数の切削ピッグを突出させた一対の前記切削回転ドラムとを含んで構成されており、当該ドラムカッタ用集塵カバー体は、前記取付け基台部における、前記切削回転ドラムよりも上方部分に固定された一対の支持ロッド部と、該支持ロッド部に支持されて、各々の前記切削回転ドラムの少なくとも上半部分を覆って配置された一対のカバー本体とを含んで構成されており、一対の前記支持ロッドは、前記回転駆動軸と平行に配置されて、前記取付け基台部の前面側及び後面側に各々取り付けられていると共に、両側の端面部分には、雄ネジボルト部材が突出した状態で各々固着されており、各々の前記カバー本体は、一対の前記切削回転ドラムと各々離間してこれの上部外周部分に沿って配置される、前記回転駆動軸と同心状の半円形状に湾曲した形状を有する上面カバー部と、該上面カバー部に周縁部分を接合して、一対の前記切削回転ドラムと各々離間してこれの外側側面部分に沿って配置される側面カバー部とを有する、中空半円状の箱形形状を備えていると共に、前記上面カバー部から外側に突出して、吸引接続口が設けられており、且つ各々の前記カバー本体には、外側側面部分に沿って配置された前記側面カバー部の外周縁部に沿って延設して、湾曲する帯板形状を有するカバー体接合プレート部が、径方向外側に張り出した状態で一体として取り付けられていると共に、該カバー体接合プレート部には、前記上面カバー部の湾曲形状に沿って前記回転駆動軸と同心状の弧状に湾曲する、湾曲締着ガイド長孔が形成されており、前記カバー体接合プレート部の前記湾曲締着ガイド長孔に、前記取付け基台部の前面側及び後面側に固定された一対の前記支持ロッドの、各々の端面部から突出する前記雄ネジボルト部材をナット部材を用いて締着させることで、前記カバー本体が、前記支持ロッドを介して前記取付け基台部に一体として接合されるようになっており、且つ前記湾曲締着ガイド長孔における、前記雄ネジボルト部材を締着させる位置を調整することで、前記カバー本体の下端開口面の傾斜角度を、調整できるようになっているドラムカッタ用集塵カバー体を提供することにより、上記目的を達成したものである。
【0008】
そして、本発明のドラムカッタ用集塵カバー体は、前記カバー体接合プレート部には、前記上面カバー部の湾曲形状に沿って弧状に湾曲する前記湾曲締着ガイド長孔が、前記回転駆動軸からの径方向の間隔を異ならせて、2列に形成されていると共に、前記支持ロッドの両側の端面部分には、各々2本の前記雄ネジボルト部材が、前記回転駆動軸からの径方向の間隔を異ならせて各々固着されており、2列の前記湾曲締着ガイド長孔に、2本の前記雄ネジボルト部材をナット部材を用いて各々締着させることで、前記カバー本体が、前記支持ロッドを介して前記取付け基台部に一体として接合されるようになっており、且つ各々の前記湾曲締着ガイド長孔における、各々の前記雄ネジボルト部材を締着させる位置を調整することで、前記カバー本体の下端開口面の傾斜角度を、調整できるようになっていることが好ましい。
【0009】
また、本発明のドラムカッタ用集塵カバー体は、前記吸引接続口が、前記上面カバー部における、周方向の中央部分よりも前記切削回転ドラムの回転方向の上流側に配置されて、突出して設けられていることが好ましい。
【0010】
さらに、本発明のドラムカッタ用集塵カバー体は、前記カバー本体の下端開口面の周縁部分には、これの全周に亘って、可撓性を有する板材、又は合成樹脂製或いは金属製の多数の線材からなるブラシ材が、前記切削回転ドラムの回転軌跡の端縁部を超えて延設した状態で取り付けられていることが好ましい。
【発明の効果】
(【0011】以降は省略されています)
この特許をJ-PlatPat(特許庁公式サイト)で参照する
関連特許
株式会社奥村組
設置架台
1か月前
株式会社奥村組
施工管理装置
1か月前
株式会社奥村組
施工管理装置
1か月前
株式会社奥村組
爆薬装填装置
1か月前
株式会社奥村組
施工管理方法
1か月前
株式会社奥村組
非開削推進工法
1か月前
株式会社奥村組
非開削推進工法
1か月前
株式会社奥村組
非開削推進工法
1か月前
株式会社奥村組
非開削推進工法
1か月前
株式会社奥村組
非開削推進工法
1か月前
株式会社奥村組
廃棄物分類処理装置
1か月前
株式会社奥村組
外壁部施工用足場構造
1か月前
株式会社奥村組
洗浄器具および洗浄方法
2か月前
株式会社奥村組
圧入式オープンケーソン
2か月前
株式会社奥村組
継手部用スパイラル鉄筋
1か月前
株式会社奥村組
継手部用スパイラル鉄筋
1か月前
株式会社奥村組
ドラムカッタ用集塵カバー体
1か月前
株式会社奥村組
掘削機および非開削推進工法
1か月前
株式会社奥村組
壁下地用胴縁の端部固定構造
2か月前
株式会社奥村組
大規模建築物における骨組み構造
1か月前
株式会社奥村組
底部コンクリート構造体の撤去方法
1か月前
株式会社奥村組
PCa庇パネル部材の取付け施工方法
1か月前
株式会社奥村組
PCa庇パネル部材を用いた足場構造
1か月前
株式会社奥村組
木質部材のコンクリート面への接合工法
2か月前
株式会社奥村組
スパイラル鉄筋を用いた継手部の配筋構造
1か月前
株式会社奥村組
スパイラル鉄筋を用いた継手部の配筋構造
1か月前
株式会社奥村組
スパイラル鉄筋を用いた継手部の配筋構造
1か月前
株式会社奥村組
スパイラル鉄筋を用いた継手部の配筋構造
1か月前
株式会社奥村組
スパイラル鉄筋を用いた継手部の配筋構造
1か月前
株式会社奥村組
スパイラル鉄筋を用いた継手部の配筋構造
1か月前
株式会社奥村組
底部角部コンクリート構造体の解体撤去方法
1か月前
株式会社奥村組
大規模建築物における骨組み構造の施工方法
1か月前
株式会社奥村組
シールドジャッキのスプレッダによる当接部構造
2か月前
株式会社奥村組
ミニベンチカット工法用トンネルワークステーション
1か月前
株式会社奥村組
トンネルワークステーションによる山岳トンネル工法
1か月前
株式会社奥村組
トンネルワークステーションによる山岳トンネル工法
1か月前
続きを見る
他の特許を見る