TOP
|
特許
|
意匠
|
商標
特許ウォッチ
Twitter
他の特許を見る
公開番号
2025152383
公報種別
公開特許公報(A)
公開日
2025-10-09
出願番号
2024054249
出願日
2024-03-28
発明の名称
切羽面監視装置、切羽面監視方法及び切羽面監視プログラム
出願人
株式会社奥村組
,
株式会社システム計画研究所
代理人
弁理士法人翔和国際特許事務所
主分類
E21D
9/00 20060101AFI20251002BHJP(地中もしくは岩石の削孔;採鉱)
要約
【課題】切羽面の崩落を正確に予測すること。
【解決手段】切羽面監視装置であって、吹付コンクリートが施工された、山岳トンネルの切羽面の撮像画像を取得する撮像画像取得部と、学習済み切羽面抽出モデルを用いて、前記撮像画像のうち前記切羽面を抽出し、切羽面画像を取得する切羽面画像取得部と、前記切羽面画像及び学習済みひび割れ検出モデルを用いて前記切羽面のひび割れを検出する検出部と、を備えた。
【選択図】図2A
特許請求の範囲
【請求項1】
吹付コンクリートが施工された、山岳トンネルの切羽面の撮像画像を取得する撮像画像取得部と、
学習済み切羽面抽出モデルを用いて、前記撮像画像のうち前記切羽面を抽出し、切羽面画像を取得する切羽面画像取得部と、
前記切羽面画像及び学習済みひび割れ検出モデルを用いて前記切羽面のひび割れを検出する検出部と、
を備えた切羽面監視装置。
続きを表示(約 670 文字)
【請求項2】
前記検出部は、前記学習済みひび割れ検出モデルを用いて、前記ひび割れと、前記切羽面に装填されている爆薬の雷管の脚線とを特定し、特定された前記ひび割れと前記脚線とのうち、前記ひび割れを抽出して検出する、請求項1に記載の切羽面監視装置。
【請求項3】
前記撮像画像は、作業員、マンケージ又は作業機械の少なくとも1つを更に含む、請求項1又は2に記載の切羽面監視装置。
【請求項4】
前記撮像画像は、リアルタイム撮影された画像である、請求項1又は2に記載の切羽面監視装置。
【請求項5】
吹付コンクリートが施工された、山岳トンネルの切羽面の撮像画像を取得する撮像画像取得ステップと、
学習済み切羽面抽出モデルを用いて、前記撮像画像のうち前記切羽面を抽出し、切羽面画像を取得する切羽面画像取得ステップと、
前記切羽面画像及び学習済みひび割れ検出モデルを用いて前記切羽面のひび割れを検出する検出ステップと、
を含む切羽面監視方法。
【請求項6】
吹付コンクリートが施工された、山岳トンネルの切羽面の撮像画像を取得する撮像画像取得ステップと、
学習済み切羽面抽出モデルを用いて、前記撮像画像のうち前記切羽面を抽出し、切羽面画像を取得する切羽面画像取得ステップと、
前記切羽面画像及び学習済みひび割れ検出モデルを用いて前記切羽面のひび割れを検出する検出ステップと、
をコンピュータに実行させる切羽面監視プログラム。
発明の詳細な説明
【技術分野】
【0001】
本発明は、切羽面監視装置、切羽面監視方法及び切羽面監視プログラムに関する。
続きを表示(約 1,800 文字)
【背景技術】
【0002】
上記技術分野において、特許文献1には、山岳トンネルの切羽面の一部に再帰性反射塗料を塗布し、切羽面における該塗料が塗布された部分までの距離をレーザ距離計で随時計測し、レーザ距離計と切羽面との相対位置関係の変化に基づいて切羽面の崩落を予測する監視方法が開示されている(同文献の段落〔0026〕、〔0030〕、請求項1等参照)。
【先行技術文献】
【特許文献】
【0003】
特開2016-008871号公報
【発明の概要】
【発明が解決しようとする課題】
【0004】
しかしながら、上記特許文献1に記載の技術では、切羽面における、再帰性反射塗料が塗布された部分の変位量を監視しているので、切羽面の部分的な監視しかできず、切羽面を十分に監視することができなかった。
【課題を解決するための手段】
【0005】
上記目的を達成するため、本発明に係る切羽面監視装置は、
吹付コンクリートが施工された、山岳トンネルの切羽面の撮像画像を取得する撮像画像取得部と、
学習済み切羽面抽出モデルを用いて、前記撮像画像のうち前記切羽面を抽出し、切羽面画像を取得する切羽面画像取得部と、
前記切羽面画像及び学習済みひび割れ検出モデルを用いて前記切羽面のひび割れを検出する検出部と、
を備えた。
【0006】
また、上記目的を達成するため、本発明に係る切羽面監視方法は、
吹付コンクリートが施工された、山岳トンネルの切羽面の撮像画像を取得する撮像画像取得ステップと、
学習済み切羽面抽出モデルを用いて、前記撮像画像のうち前記切羽面を抽出し、切羽面画像を取得する切羽面画像取得ステップと、
前記切羽面画像及び学習済みひび割れ検出モデルを用いて前記切羽面のひび割れを検出する検出ステップと、
を含む。
【0007】
さらに、上記目的を達成するため、本発明に係る切羽面監視プログラムは、
吹付コンクリートが施工された、山岳トンネルの切羽面の撮像画像を取得する撮像画像取得ステップと、
学習済み切羽面抽出モデルを用いて、前記撮像画像のうち前記切羽面を抽出し、切羽面画像を取得する切羽面画像取得ステップと、
前記切羽面画像及び学習済みひび割れ検出モデルを用いて前記切羽面のひび割れを検出する検出ステップと、
をコンピュータに実行させる。
【発明の効果】
【0008】
本発明によれば、切羽面を十分に監視することができる。
【図面の簡単な説明】
【0009】
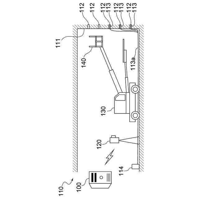
本発明の好ましい実施形態に係る切羽面監視装置による監視の概要を説明するための図である。
本発明の好ましい実施形態に係る切羽面監視装置の構成を説明するためのブロック図である。
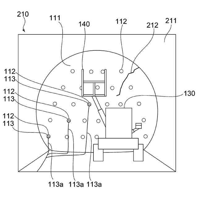
本発明の好ましい実施形態に係る切羽面監視装置が取得する撮像画像を模式的に示す図である。
本発明の好ましい実施形態に係る切羽面監視装置が取得する切羽面画像の一例を示す図である。
本発明の好ましい実施形態に係る切羽面監視装置がひび割れを特定した結果の一例を示す図である。
本発明の好ましい実施形態に係る切羽面監視装置が脚線を特定した結果の一例を示す図である。
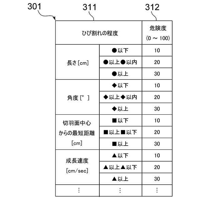
本発明の好ましい実施形態に係る切羽面監視装置が有する危険度テーブルの一例を説明するための図である。
本発明の好ましい実施形態に係る切羽面監視装置が有する警告テーブルの一例を説明するための図である。
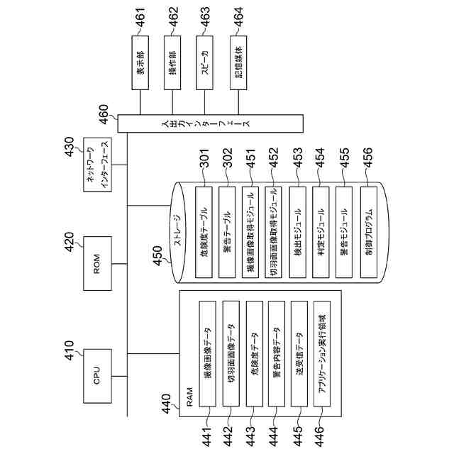
本発明の好ましい実施形態に係る切羽面監視装置のハードウェア構成を説明するための図である。
本発明の好ましい実施形態に係る切羽面監視装置の処理手順を説明するためのフローチャートである。
【発明を実施するための形態】
【0010】
以下に、本発明を実施するための形態について、図面を参照して、例示的に詳しく説明する。ただし、以下の実施形態に記載されている、構成、数値、処理の流れ、機能要素などは一例に過ぎず、その変形や変更は自由であって、本発明の技術範囲を以下の記載に限定する趣旨のものではない。
(【0011】以降は省略されています)
この特許をJ-PlatPat(特許庁公式サイト)で参照する
関連特許
株式会社奥村組
破砕装置
2か月前
株式会社奥村組
破砕装置
2か月前
株式会社奥村組
破砕装置
2か月前
株式会社奥村組
設置架台
1か月前
株式会社奥村組
制振機構
2か月前
株式会社奥村組
制振機構
2か月前
株式会社奥村組
運搬方法
2か月前
株式会社奥村組
吊り治具
2か月前
株式会社奥村組
施工管理装置
1か月前
株式会社奥村組
ケーソン工法
2か月前
株式会社奥村組
解体システム
2か月前
株式会社奥村組
施工管理装置
1か月前
株式会社奥村組
施工管理方法
1か月前
株式会社奥村組
爆薬装填装置
1か月前
株式会社奥村組
非開削推進工法
1か月前
株式会社奥村組
非開削推進工法
1か月前
株式会社奥村組
非開削推進工法
1か月前
株式会社奥村組
非開削推進工法
1か月前
株式会社奥村組
シールド掘進機
2か月前
株式会社奥村組
非開削推進工法
1か月前
株式会社奥村組
ケーソン刃口金物
2か月前
株式会社奥村組
廃棄物分類処理装置
1か月前
株式会社奥村組
外壁部施工用足場構造
1か月前
株式会社奥村組
洗浄器具および洗浄方法
2か月前
株式会社奥村組
圧入式オープンケーソン
2か月前
株式会社奥村組
継手部用スパイラル鉄筋
1か月前
株式会社奥村組
継手部用スパイラル鉄筋
1か月前
株式会社奥村組
バッテリーロコの充電方法
2か月前
株式会社奥村組
掘削機および非開削推進工法
1か月前
株式会社奥村組
ドラムカッタ用集塵カバー体
1か月前
株式会社奥村組
壁下地用胴縁の端部固定構造
2か月前
株式会社奥村組
免震用ダンパ装置の連結部構造
2か月前
株式会社奥村組
大規模建築物における骨組み構造
1か月前
国立大学法人 筑波大学
制振機構
2か月前
国立大学法人 筑波大学
制振機構
2か月前
国立大学法人 筑波大学
制振機構
2か月前
続きを見る
他の特許を見る