TOP
|
特許
|
意匠
|
商標
特許ウォッチ
Twitter
他の特許を見る
10個以上の画像は省略されています。
公開番号
2025133436
公報種別
公開特許公報(A)
公開日
2025-09-11
出願番号
2024031384
出願日
2024-03-01
発明の名称
破砕装置
出願人
株式会社奥村組
代理人
個人
,
個人
主分類
E04G
23/08 20060101AFI20250904BHJP(建築物)
要約
【課題】破砕装置と構造物の相対位置を容易に把握する。
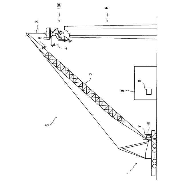
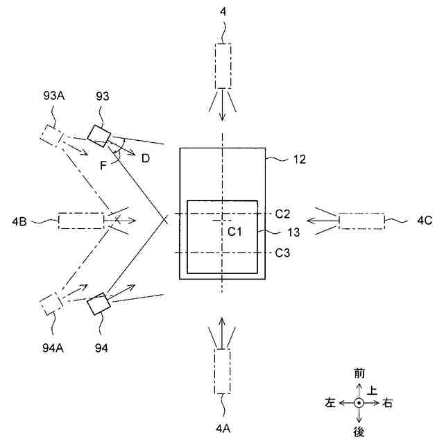
【解決手段】構造物Eを破砕するための破砕装置100は、基部11と、基部に、左右方向に延びる回動軸C3回りに回動可能に取り付けられ、前後方向に延びる固定破砕腕12と、固定破砕腕に回動可能に接続された可動破砕腕13と、基部に取り付けられたアーム95と、アームに取り付けられたカメラとを備える。カメラは、固定破砕腕の側方斜め前の上方から固定破砕腕を撮影するように配置された前部カメラ93と、固定破砕腕の側方斜め後の上方から固定破砕腕を撮影するように配置された後部カメラ94との少なくとも一方を含む。
【選択図】図6
特許請求の範囲
【請求項1】
構造物を破砕するための破砕装置であって、
基部と、
前記基部に回動可能に取り付けられた固定破砕腕と、
前記固定破砕腕に回動可能に接続された可動破砕腕と、
前記基部に取り付けられたアームと、
前記アームに取り付けられたカメラと、
を備え、
前記固定破砕腕は、水平かつ左右方向に延びる第1回動軸回りに回動可能となるよう前記基部に取り付けられると共に、左右方向に垂直で水平な前後方向に延び、
前記可動破砕腕は、前記第1回動軸に平行な第2回動軸回りに回動可能となるよう前記固定破砕腕に接続され、
前記カメラは、
前記固定破砕腕の側方斜め前の上方から前記固定破砕腕を撮影するように配置された前部カメラと、
前記固定破砕腕の側方斜め後の上方から前記固定破砕腕を撮影するように配置された後部カメラと、
の少なくとも一方を含む
ことを特徴とする破砕装置。
続きを表示(約 670 文字)
【請求項2】
前記カメラは、前記前部カメラと前記後部カメラの両方を含み、
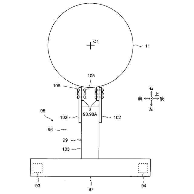
前記アームは、平面視でT字状に形成され、前記基部から側方に延びる第1アーム部と、前記第1アーム部の先端部から前方および後方に延びる第2アーム部とを備え、
前記第2アーム部の前端部に前記前部カメラが配置され、前記第2アーム部の後端部に前記後部カメラが配置される
請求項1に記載の破砕装置。
【請求項3】
前記第1アーム部は、その長手方向に伸縮可能である
請求項2に記載の破砕装置。
【請求項4】
前記第1アーム部は、前記基部に固定される第1アーム支持部と、前記第1アーム支持部に着脱可能に取り付けられる第1アーム本体部とを備え、
第1アーム支持部に対する前記第1アーム本体部の取付位置は、前記第1アーム部の長手方向に変更可能である
請求項2に記載の破砕装置。
【請求項5】
前記前部カメラは、前記固定破砕腕の左斜め前の上方から前記固定破砕腕を撮影するように配置され、
前記後部カメラは、前記固定破砕腕の左斜め後の上方から前記固定破砕腕を撮影するように配置される
請求項2に記載の破砕装置。
【請求項6】
前記前部カメラは、前記固定破砕腕の右斜め前の上方から前記固定破砕腕を撮影するように配置され、
前記後部カメラは、前記固定破砕腕の右斜め後の上方から前記固定破砕腕を撮影するように配置される
請求項2に記載の破砕装置。
発明の詳細な説明
【技術分野】
【0001】
本開示は破砕装置に係り、特に、構造物を破砕するための破砕装置に関する。
続きを表示(約 1,200 文字)
【背景技術】
【0002】
構造物、特に鉄筋コンクリートで造られた煙突等の塔状構造物を解体する際、構造物を破砕するために破砕装置が用いられる。破砕装置は、固定破砕腕と、固定破砕腕に回動可能に接続された可動破砕腕とを備え、固定破砕腕と可動破砕腕により構造物の上端部の壁を挟んで圧砕する。
【先行技術文献】
【特許文献】
【0003】
実開昭63-62548号公報
【発明の概要】
【発明が解決しようとする課題】
【0004】
破砕装置は、これを撮影するカメラの映像を見ながら、地上のオペレータによって操作される。
【0005】
一般的に、破砕装置には1台のカメラが設置され、このカメラは、固定破砕腕の正面前方かつ上方から、すなわち固定破砕腕の前方斜め上から、固定破砕腕を撮影し、破砕作業の様子を撮影する。
【0006】
しかし、このカメラで撮影された映像では、破砕装置と構造物の相対位置が把握し難い。
【0007】
そこで本開示は、かかる事情に鑑みて創案され、その目的は、破砕装置と構造物の相対位置を容易に把握できる破砕装置を提供することにある。
【課題を解決するための手段】
【0008】
本開示の一の態様によれば、
構造物を破砕するための破砕装置であって、
基部と、
前記基部に回動可能に取り付けられた固定破砕腕と、
前記固定破砕腕に回動可能に接続された可動破砕腕と、
前記基部に取り付けられたアームと、
前記アームに取り付けられたカメラと、
を備え、
前記固定破砕腕は、水平かつ左右方向に延びる第1回動軸回りに回動可能となるよう前記基部に取り付けられると共に、左右方向に垂直で水平な前後方向に延び、
前記可動破砕腕は、前記第1回動軸に平行な第2回動軸回りに回動可能となるよう前記固定破砕腕に接続され、
前記カメラは、
前記固定破砕腕の側方斜め前の上方から前記固定破砕腕を撮影するように配置された前部カメラと、
前記固定破砕腕の側方斜め後の上方から前記固定破砕腕を撮影するように配置された後部カメラと、
の少なくとも一方を含む
ことを特徴とする破砕装置が提供される。
【0009】
好ましくは、前記カメラは、前記前部カメラと前記後部カメラの両方を含み、
前記アームは、平面視でT字状に形成され、前記基部から側方に延びる第1アーム部と、前記第1アーム部の先端部から前方および後方に延びる第2アーム部とを備え、
前記第2アーム部の前端部に前記前部カメラが配置され、前記第2アーム部の後端部に前記後部カメラが配置される。
【0010】
好ましくは、前記第1アーム部は、その長手方向に伸縮可能である。
(【0011】以降は省略されています)
この特許をJ-PlatPat(特許庁公式サイト)で参照する
関連特許
株式会社奥村組
破砕装置
2か月前
株式会社奥村組
制振機構
1か月前
株式会社奥村組
破砕装置
2か月前
株式会社奥村組
設置架台
1か月前
株式会社奥村組
吊り治具
1か月前
株式会社奥村組
運搬方法
1か月前
株式会社奥村組
制振機構
1か月前
株式会社奥村組
施工管理装置
1か月前
株式会社奥村組
施工管理方法
1か月前
株式会社奥村組
施工管理装置
1か月前
株式会社奥村組
爆薬装填装置
1か月前
株式会社奥村組
ケーソン工法
1か月前
株式会社奥村組
解体システム
2か月前
株式会社奥村組
非開削推進工法
1か月前
株式会社奥村組
非開削推進工法
1か月前
株式会社奥村組
非開削推進工法
1か月前
株式会社奥村組
非開削推進工法
1か月前
株式会社奥村組
シールド掘進機
1か月前
株式会社奥村組
非開削推進工法
1か月前
株式会社奥村組
ケーソン刃口金物
1か月前
株式会社奥村組
廃棄物分類処理装置
1か月前
株式会社奥村組
外壁部施工用足場構造
1か月前
株式会社奥村組
洗浄器具および洗浄方法
1か月前
株式会社奥村組
圧入式オープンケーソン
1か月前
株式会社奥村組
継手部用スパイラル鉄筋
1か月前
株式会社奥村組
継手部用スパイラル鉄筋
1か月前
株式会社奥村組
掘削機および非開削推進工法
1か月前
株式会社奥村組
壁下地用胴縁の端部固定構造
1か月前
株式会社奥村組
ドラムカッタ用集塵カバー体
1か月前
株式会社奥村組
免震用ダンパ装置の連結部構造
1か月前
株式会社奥村組
大規模建築物における骨組み構造
1か月前
国立大学法人 筑波大学
制振機構
1か月前
国立大学法人 筑波大学
制振機構
1か月前
国立大学法人 筑波大学
制振機構
1か月前
株式会社奥村組
底部コンクリート構造体の撤去方法
1か月前
株式会社奥村組
PCa庇パネル部材の取付け施工方法
1か月前
続きを見る
他の特許を見る