TOP
|
特許
|
意匠
|
商標
特許ウォッチ
Twitter
他の特許を見る
公開番号
2025139265
公報種別
公開特許公報(A)
公開日
2025-09-26
出願番号
2024038101
出願日
2024-03-12
発明の名称
ケーソン刃口金物
出願人
株式会社奥村組
代理人
個人
主分類
E02D
23/00 20060101AFI20250918BHJP(水工;基礎;土砂の移送)
要約
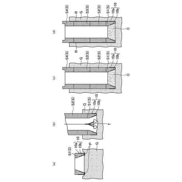
【課題】刃口部に設置されるケーソンの刃口金物と底盤コンクリートとの密着性を向上させる。
【解決手段】環状の外周枠部10aと、外周枠部10aと下端で接続されて上方が開口し、下端に向かって外側に広がるテーパ状になった環状の内周枠部10bと、内周枠部10bにおいて周方向に延びて形成され、内周枠部10bに囲まれた内部空間から見て凹状になった溝部Vとを有するケーソンの刃口金物10である。これによれば、打設された底盤コンクリートCが溝部V内に充填されることで底盤コンクリートCが溝部Vに引っ掛かった状態となり、ケーソン刃口金物10と底盤コンクリートCとの密着性が向上する。
【選択図】図3
特許請求の範囲
【請求項1】
地中に沈設されるケーソン躯体の最深部に位置する刃口部に設置される鋼製のケーソン刃口金物であって、
環状の外周枠部と、
前記外周枠部と下端で接続されて上方が開口し、下端に向かって外側に広がるテーパ状になった環状の内周枠部と、
前記内周枠部において周方向に延びて形成され、前記内周枠部に囲まれた内部空間から見て凹状になった溝部と、
を有することを特徴とするケーソン刃口金物。
続きを表示(約 430 文字)
【請求項2】
前記溝部は、全周にわたって連続して形成されている、
ことを特徴とする請求項1記載のケーソン刃口金物。
【請求項3】
前記内周枠部は、
上側に位置する上側内枠と、
前記上側内枠の下側に当該上側内枠と間隔を開けて設けられた下側内枠と、
前記上側内枠と前記下側内枠との間に取り付けられ、前記溝部を形成する溝部用鋼材と、
を備えることを特徴とする請求項2記載のケーソン刃口金物。
【請求項4】
前記溝部用鋼材は、
前記上側内枠と前記下側内枠とに跨がって取り付けられた板状の鋼材である、
ことを特徴とする請求項3記載のケーソン刃口金物。
【請求項5】
前記溝部用鋼材は、
凹部を内部空間に臨ませる方向で前記上側内枠と前記下側内枠との間に取り付けられたアングル鋼またはチャンネル鋼である、
ことを特徴とする請求項3記載のケーソン刃口部。
発明の詳細な説明
【技術分野】
【0001】
本発明は、地中に沈設されるケーソン躯体の最深部に位置する刃口部に設置されるケーソン刃口金物に関するものである。
続きを表示(約 1,200 文字)
【背景技術】
【0002】
橋脚や防波堤などの水中構造物や地下構造物を構築する際には、コンクリート製または鋼製のケーソンが用いられる。ケーソンは躯体の水平断面が矩形または円形となった筒状の構造物である。ケーソン工法とは、ケーソン躯体の中空内部の地盤を掘削して沈下させ、その上部にケーソン躯体を構築することを繰り返して基礎構造物を構築する工法である。
【0003】
ケーソンを用いた基礎構造物は、他の基礎構造物に比べて断面が大きいので剛性が大きく変位が小さくなる、水平抵抗力と鉛直支持力がともに大きく期待できる等の特徴を有している。
【0004】
さて、地盤を垂直に掘削して地中に沈設されるケーソン躯体の最深部に形成された刃口部は、沈下時に荷重が集中するため、鋼板で製作された刃口金物(ケーソン刃口金物)により保護されている。この刃口金物は環状の外周枠部と内周枠部とで構成されている。内周枠部は下端に向かって外側に広がるテーパ状になっており、内周枠部の地盤との接触面は、表面を平滑にして沈下時の抵抗とならないように製作されている。
【0005】
なお、ケーソンについては、例えば特許文献1(特許第6423045号公報)に記載された技術が知られている。
【先行技術文献】
【特許文献】
【0006】
特許第6423045号公報
【発明の概要】
【発明が解決しようとする課題】
【0007】
さて、ケーソンの刃口金物の内周枠部は、その表面が平滑なため、沈設後に打設するコンクリートとの密着性は不確実である。オープンケーソン工法(ケーソン躯体の中空内部を掘削しながら徐々に沈下させる工法)では、大気圧下で掘削して所定の深度到達後に中空内部の底面に底盤コンクリートを打設する。その際、底盤コンクリートがケーソンの刃口金物と一体化しない場合には、地下水が底盤コンクリートと刃口金物との間からケーソン内部へ流入する恐れがある。
【0008】
このため、刃口金物と底盤コンクリートとの密着性の向上が課題となっている。
【0009】
本発明は、上述の技術的背景からなされたものであって、刃口部に設置されるケーソン刃口金物と底盤コンクリートとの密着性を向上させることのできる技術を提供することを目的とする。
【課題を解決するための手段】
【0010】
上記課題を解決するため、請求項1に記載の発明に係るケーソン刃口金物は、地中に沈設されるケーソン躯体の最深部に位置する刃口部に設置される鋼製のケーソン刃口金物であって、環状の外周枠部と、前記外周枠部と下端で接続されて上方が開口し、下端に向かって外側に広がるテーパ状になった環状の内周枠部と、前記内周枠部において周方向に延びて形成され、前記内周枠部に囲まれた内部空間から見て凹状になった溝部と、を有することを特徴とする。
(【0011】以降は省略されています)
この特許をJ-PlatPat(特許庁公式サイト)で参照する
関連特許
株式会社奥村組
設置架台
1か月前
株式会社奥村組
施工管理装置
1か月前
株式会社奥村組
爆薬装填装置
1か月前
株式会社奥村組
施工管理装置
1か月前
株式会社奥村組
施工管理方法
1か月前
株式会社奥村組
非開削推進工法
1か月前
株式会社奥村組
非開削推進工法
1か月前
株式会社奥村組
非開削推進工法
1か月前
株式会社奥村組
非開削推進工法
1か月前
株式会社奥村組
非開削推進工法
1か月前
株式会社奥村組
廃棄物分類処理装置
1か月前
株式会社奥村組
外壁部施工用足場構造
1か月前
株式会社奥村組
継手部用スパイラル鉄筋
1か月前
株式会社奥村組
圧入式オープンケーソン
1か月前
株式会社奥村組
継手部用スパイラル鉄筋
1か月前
株式会社奥村組
壁下地用胴縁の端部固定構造
1か月前
株式会社奥村組
ドラムカッタ用集塵カバー体
1か月前
株式会社奥村組
掘削機および非開削推進工法
1か月前
株式会社奥村組
大規模建築物における骨組み構造
1か月前
株式会社奥村組
底部コンクリート構造体の撤去方法
1か月前
株式会社奥村組
PCa庇パネル部材を用いた足場構造
1か月前
株式会社奥村組
PCa庇パネル部材の取付け施工方法
1か月前
株式会社奥村組
スパイラル鉄筋を用いた継手部の配筋構造
1か月前
株式会社奥村組
スパイラル鉄筋を用いた継手部の配筋構造
1か月前
株式会社奥村組
スパイラル鉄筋を用いた継手部の配筋構造
1か月前
株式会社奥村組
スパイラル鉄筋を用いた継手部の配筋構造
1か月前
株式会社奥村組
スパイラル鉄筋を用いた継手部の配筋構造
1か月前
株式会社奥村組
スパイラル鉄筋を用いた継手部の配筋構造
1か月前
株式会社奥村組
大規模建築物における骨組み構造の施工方法
1か月前
株式会社奥村組
底部角部コンクリート構造体の解体撤去方法
1か月前
株式会社奥村組
ミニベンチカット工法用トンネルワークステーション
1か月前
株式会社奥村組
トンネルワークステーションによる山岳トンネル工法
1か月前
株式会社奥村組
トンネルワークステーションによる山岳トンネル工法
1か月前
株式会社奥村組
ミニベンチカット工法用トンネルワークステーション
1か月前
株式会社奥村組
トンネルワークステーションによる山岳トンネル工法
1か月前
株式会社奥村組
進路予測装置、進路予測方法および進路予測プログラム
1か月前
続きを見る
他の特許を見る