TOP
|
特許
|
意匠
|
商標
特許ウォッチ
Twitter
他の特許を見る
10個以上の画像は省略されています。
公開番号
2025153528
公報種別
公開特許公報(A)
公開日
2025-10-10
出願番号
2024056057
出願日
2024-03-29
発明の名称
非開削推進工法
出願人
株式会社奥村組
,
植村技研工業株式会社
代理人
個人
,
個人
主分類
E21D
9/04 20060101AFI20251002BHJP(地中もしくは岩石の削孔;採鉱)
要約
【課題】掘削作業を容易にする。
【解決手段】地中に埋設された箱形ルーフを函体に置換することにより函体を地中に埋設する非開削推進工法が提供される。非開削推進工法は、ルーフパイプ列における先頭ルーフパイプ93内に掘削機20を固定する固定ステップと、先頭ルーフパイプの前方に位置する地山を掘削機により掘削する掘削ステップと、掘削機による掘削後にルーフパイプ列を前進させる推進ステップとを備える。掘削ステップは、後面視において先頭ルーフパイプの外周面より外側に位置する地山の余掘削領域を掘削する余掘削ステップを含む。
【選択図】図3
特許請求の範囲
【請求項1】
複数のルーフパイプにより形成され地中に埋設された箱形ルーフを函体に置換することにより前記函体を地中に埋設する非開削推進工法であって、
前記箱形ルーフは、複数の前記ルーフパイプを直列に連結してなるルーフパイプ列を、前記函体の外縁に沿うよう並列に配置して構成され、
前記非開削推進工法は、
前記ルーフパイプ列における先頭の先頭ルーフパイプ内に掘削機を固定する固定ステップと、
前記先頭ルーフパイプの前方に位置する地山を前記掘削機により掘削する掘削ステップと、
前記掘削機による掘削後に前記ルーフパイプ列を前進させる推進ステップと、
を備え、
前記掘削機は、
前記ルーフパイプ内を走行可能でかつ前記先頭ルーフパイプ内に固定可能な固定部と、
前記固定部に対し前後方向に移動可能となるよう前記固定部に設けられた前後移動部と、
前記前後移動部に対し、上下方向に延びる第1軸の回りに回動可能となるよう前記前後移動部に設けられた旋回部と、
前記旋回部に対し、前後方向に延びる第2軸の回りに回転可能となるよう、前記旋回部に設けられた回転部と、
前記回転部に対し、左右方向に延びる第3軸の回りに回動可能となるよう、前記回転部に設けられた起伏部と、
前記起伏部に対し、左右方向に延びる第4軸の回りに回動可能となるよう、前記起伏部に設けられた器具取付部と、
前記器具取付部に取り付けられた掘削器具と、
を備え、
前記掘削ステップは、後面視において前記先頭ルーフパイプの外周面より外側に位置する地山の余掘削領域を掘削する余掘削ステップを含む
ことを特徴とする非開削推進工法。
続きを表示(約 1,000 文字)
【請求項2】
前記掘削ステップは、後面視において前記先頭ルーフパイプの外周面より内側に位置する地山の本掘削領域を掘削する本掘削ステップを含み、
前記余掘削ステップは、前記本掘削ステップと同時、または前記本掘削ステップの後に実行される
請求項1に記載の非開削推進工法。
【請求項3】
前記余掘削ステップは、前記起伏部を下降させ、前記掘削器具が下向きになるよう前記器具取付部を回動させ、前記前後移動部を後退させることにより、下側の前記余掘削領域を掘削することを含む
請求項1に記載の非開削推進工法。
【請求項4】
前記余掘削ステップは、前記回転部の回転により前記起伏部を180°回転させ、前記掘削器具が上向きになるよう前記器具取付部を回動させ、前記前後移動部を後退させることにより、上側の前記余掘削領域を掘削することを含む
請求項1に記載の非開削推進工法。
【請求項5】
前記余掘削ステップは、前記回転部の回転により前記起伏部を90°回転させ、前記掘削器具が横向きになるよう前記器具取付部を回動させ、前記前後移動部を後退させることにより、横側の前記余掘削領域を掘削することを含む
請求項1に記載の非開削推進工法。
【請求項6】
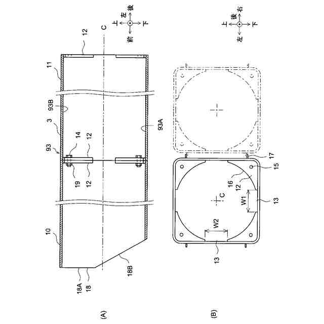
前記ルーフパイプは、その外周面から突出してパイプ長手方向に延びる継手部を有し、
前記継手部は、前記余掘削ステップにおいて掘削された前記余掘削領域に挿入可能である
請求項1に記載の非開削推進工法。
【請求項7】
前記掘削器具は、シャベルを含む
請求項1に記載の非開削推進工法。
【請求項8】
前記掘削器具は、平面視で四角形のシャベルを含み、
前記旋回部の回動により前記掘削器具が最も横側に旋回されたとき、前記掘削器具は横側の前記余掘削領域に挿入され、このとき前記掘削器具の前側と横側には三角状の第1および第2未掘削領域ができ、
前記余掘削ステップは、前記回転部の回転により前記起伏部を90°回転させ、前記掘削器具が横向きになるよう前記器具取付部を回動させ、前記前後移動部を後退させることにより、横側の前記余掘削領域と、前記第1および第2未掘削領域とを掘削することを含む
請求項1に記載の非開削推進工法。
発明の詳細な説明
【技術分野】
【0001】
本開示は非開削推進工法に関する。
続きを表示(約 1,900 文字)
【背景技術】
【0002】
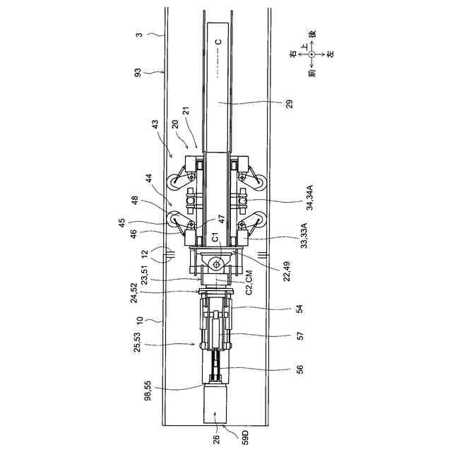
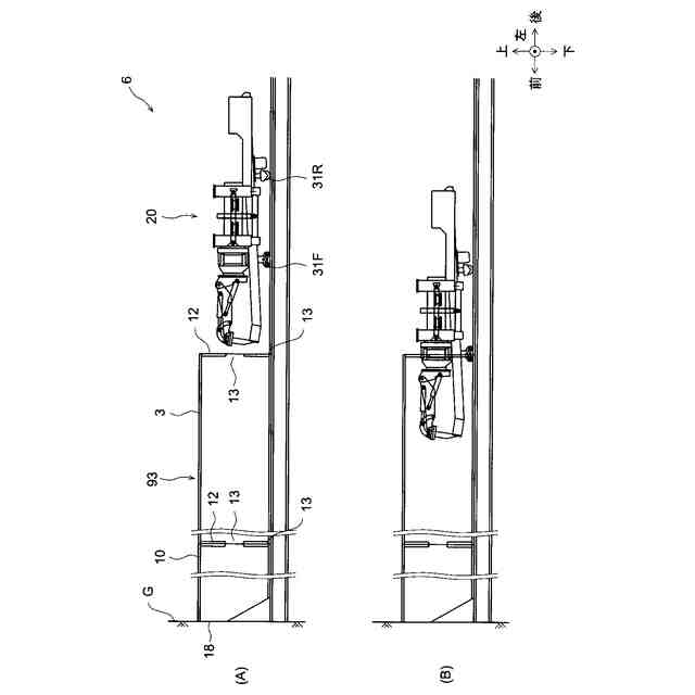
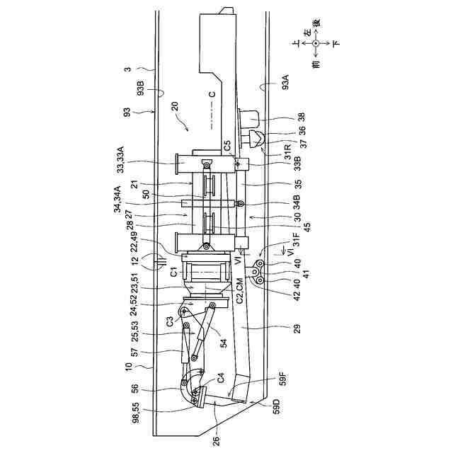
例えば既存の道路や線路等の地上対象物の地下に、これを横断するように地下道を構築する方法として、公知のR&C工法やSFT工法に代表されるような非開削推進工法が知られている。この非開削推進工法は、概して、複数のルーフパイプにより形成され地中に埋設された箱形ルーフを、地下構造物としての函体(ボックスカルバート)に置換することにより、函体を地中に埋設する工法である。箱形ルーフは、複数のルーフパイプを直列に連結してなるルーフパイプ列を、函体の外縁に沿うよう並列に配置して構成される。
【先行技術文献】
【特許文献】
【0003】
特開2018-172929号公報
【発明の概要】
【発明が解決しようとする課題】
【0004】
非開削推進工法においては、後方の発進側から前方の到達側に向かって地山の掘削とルーフパイプの挿入とを繰り返す。一方、地山の掘削は、先頭のルーフパイプ内に作業者が入って手作業で行っているのが現状である。掘削作業がはつり作業を中心とする困難な作業である上に、ルーフパイプ内のスペースが作業者にとって非常に狭いため、掘削作業は非常に困難な作業となっている。
【0005】
そこで本開示は、かかる事情に鑑みて創案され、その目的は、掘削作業を容易にすることができる非開削推進工法を提供することにある。
【課題を解決するための手段】
【0006】
本開示の一の態様によれば、
複数のルーフパイプにより形成され地中に埋設された箱形ルーフを函体に置換することにより前記函体を地中に埋設する非開削推進工法であって、
前記箱形ルーフは、複数の前記ルーフパイプを直列に連結してなるルーフパイプ列を、前記函体の外縁に沿うよう並列に配置して構成され、
前記非開削推進工法は、
前記ルーフパイプ列における先頭の先頭ルーフパイプ内に掘削機を固定する固定ステップと、
前記先頭ルーフパイプの前方に位置する地山を前記掘削機により掘削する掘削ステップと、
前記掘削機による掘削後に前記ルーフパイプ列を前進させる推進ステップと、
を備え、
前記掘削機は、
前記ルーフパイプ内を走行可能でかつ前記先頭ルーフパイプ内に固定可能な固定部と、
前記固定部に対し前後方向に移動可能となるよう前記固定部に設けられた前後移動部と、
前記前後移動部に対し、上下方向に延びる第1軸の回りに回動可能となるよう前記前後移動部に設けられた旋回部と、
前記旋回部に対し、前後方向に延びる第2軸の回りに回転可能となるよう、前記旋回部に設けられた回転部と、
前記回転部に対し、左右方向に延びる第3軸の回りに回動可能となるよう、前記回転部に設けられた起伏部と、
前記起伏部に対し、左右方向に延びる第4軸の回りに回動可能となるよう、前記起伏部に設けられた器具取付部と、
前記器具取付部に取り付けられた掘削器具と、
を備え、
前記掘削ステップは、後面視において前記先頭ルーフパイプの外周面より外側に位置する地山の余掘削領域を掘削する余掘削ステップを含む
ことを特徴とする非開削推進工法が提供される。
【0007】
好ましくは、前記掘削ステップは、後面視において前記先頭ルーフパイプの外周面より内側に位置する地山の本掘削領域を掘削する本掘削ステップを含み、
前記余掘削ステップは、前記本掘削ステップと同時、または前記本掘削ステップの後に実行される。
【0008】
好ましくは、前記余掘削ステップは、前記起伏部を下降させ、前記掘削器具が下向きになるよう前記器具取付部を回動させ、前記前後移動部を後退させることにより、下側の前記余掘削領域を掘削することを含む。
【0009】
好ましくは、前記余掘削ステップは、前記回転部の回転により前記起伏部を180°回転させ、前記掘削器具が上向きになるよう前記器具取付部を回動させ、前記前後移動部を後退させることにより、上側の前記余掘削領域を掘削することを含む。
【0010】
好ましくは、前記余掘削ステップは、前記回転部の回転により前記起伏部を90°回転させ、前記掘削器具が横向きになるよう前記器具取付部を回動させ、前記前後移動部を後退させることにより、横側の前記余掘削領域を掘削することを含む。
(【0011】以降は省略されています)
この特許をJ-PlatPat(特許庁公式サイト)で参照する
関連特許
株式会社奥村組
制振機構
1か月前
株式会社奥村組
設置架台
28日前
株式会社奥村組
施工管理装置
25日前
株式会社奥村組
爆薬装填装置
26日前
株式会社奥村組
施工管理装置
25日前
株式会社奥村組
施工管理方法
25日前
株式会社奥村組
非開削推進工法
25日前
株式会社奥村組
非開削推進工法
25日前
株式会社奥村組
非開削推進工法
25日前
株式会社奥村組
非開削推進工法
25日前
株式会社奥村組
非開削推進工法
25日前
株式会社奥村組
廃棄物分類処理装置
28日前
株式会社奥村組
外壁部施工用足場構造
26日前
株式会社奥村組
洗浄器具および洗浄方法
1か月前
株式会社奥村組
圧入式オープンケーソン
1か月前
株式会社奥村組
継手部用スパイラル鉄筋
21日前
株式会社奥村組
継手部用スパイラル鉄筋
21日前
株式会社奥村組
ドラムカッタ用集塵カバー体
28日前
株式会社奥村組
掘削機および非開削推進工法
25日前
株式会社奥村組
壁下地用胴縁の端部固定構造
1か月前
株式会社奥村組
免震用ダンパ装置の連結部構造
1か月前
株式会社奥村組
大規模建築物における骨組み構造
25日前
株式会社奥村組
底部コンクリート構造体の撤去方法
28日前
株式会社奥村組
PCa庇パネル部材を用いた足場構造
26日前
株式会社奥村組
PCa庇パネル部材の取付け施工方法
26日前
株式会社奥村組
木質部材のコンクリート面への接合工法
1か月前
株式会社奥村組
スパイラル鉄筋を用いた継手部の配筋構造
21日前
株式会社奥村組
スパイラル鉄筋を用いた継手部の配筋構造
21日前
株式会社奥村組
スパイラル鉄筋を用いた継手部の配筋構造
21日前
株式会社奥村組
スパイラル鉄筋を用いた継手部の配筋構造
21日前
株式会社奥村組
スパイラル鉄筋を用いた継手部の配筋構造
21日前
株式会社奥村組
スパイラル鉄筋を用いた継手部の配筋構造
21日前
株式会社奥村組
大規模建築物における骨組み構造の施工方法
25日前
株式会社奥村組
底部角部コンクリート構造体の解体撤去方法
28日前
株式会社奥村組
シールドジャッキのスプレッダによる当接部構造
1か月前
株式会社奥村組
木製柱の立設下端部のコンクリート面への接合部構造
1か月前
続きを見る
他の特許を見る