TOP
|
特許
|
意匠
|
商標
特許ウォッチ
Twitter
他の特許を見る
公開番号
2025145559
公報種別
公開特許公報(A)
公開日
2025-10-03
出願番号
2024045791
出願日
2024-03-22
発明の名称
敷板部材
出願人
鈴健興業株式会社
代理人
個人
主分類
E02D
7/16 20060101AFI20250926BHJP(水工;基礎;土砂の移送)
要約
【課題】互いを連結するための部材を別に用意することなく、簡単な構成で互いを安定して連結可能な敷板部材を提供する。
【解決手段】3辺以上を備え、そのうちの少なくとも1辺には、互いが嵌合可能な形状の突出部102または切り欠き部104が1以上設けられた敷板部材100であって、突出部102の下面には、上面から回動可能とされた回動部材108が設けられ、切り欠き部104の下面には、2つの敷板部材100の突出部102と切り欠き部104とが嵌合された際に、回動部材108が内側で隣接し、突出部102と切り欠き部104との水平方向への離間を阻害する係止部材106が設けられ、回動部材108が回動された際に、突出部102と切り欠き部104との上下方向への離間が阻害される。
【選択図】図1
特許請求の範囲
【請求項1】
3辺以上を備え、そのうちの少なくとも1辺には、互いが嵌合可能な形状の突出部または切り欠き部が1以上設けられた敷板部材であって、
前記突出部の下面には、上面から回動可能とされた回動部材が設けられ、
前記切り欠き部の下面には、2つの当該敷板部材の該突出部と該切り欠き部とが嵌合された際に、前記回動部材が内側で隣接し、該突出部と該切り欠き部との水平方向への離間を阻害する係止部材が設けられ、
前記回動部材が回動された際に、該突出部と該切り欠き部との上下方向への離間が阻害される
ことを特徴とする敷板部材。
続きを表示(約 560 文字)
【請求項2】
請求項1において、
当該敷板部材は、4辺を備え、そのうちの互いに平行な2辺にはそれぞれ、前記突出部と前記切り欠き部とが設けられ、残りの2辺のうち1辺には前記突出部が設けられ、残りの1辺には前記切り欠き部が設けられている
ことを特徴とする敷板部材。
【請求項3】
請求項1において、
当該敷板部材は、鉄製である
ことを特徴とする敷板部材。
【請求項4】
請求項1において、更に、
前記突出部の下面には、2つの当該敷板部材の該突出部と該切り欠き部とが嵌合された際に、該回動部材が前記係止部材に当接しないように制限する制限ピンが設けられている
ことを特徴とする敷板部材。
【請求項5】
請求項1において、更に、
2つの当該敷板部材の前記突出部と前記切り欠き部とが嵌合される際に、該突出部の上面から前記回動部材に脱着可能に取り付けられ、前記回動部材を回動停止させるフックボルトを備える
ことを特徴とする敷板部材。
【請求項6】
当該敷板部材は、4辺を備え、互いに平行な2辺にはそれぞれ、前記突出部と前記切り欠き部とが設けられ、点対称形状とされている
ことを特徴とする敷板部材。
発明の詳細な説明
【技術分野】
【0001】
本発明は敷板部材に関する。
続きを表示(約 2,000 文字)
【背景技術】
【0002】
作業現場が軟弱地盤であったりする場合が多く、作業をするうえで使用するクレーンや杭打ち機等の作業機械類の転倒防止のために、従来、複数の鉄製の敷板部材が作業現場に敷かれている。なお、単に複数の鉄製の敷板部材が作業現場に敷かれていても、相応に作業現場の足元を改善できるが、より安全な作業環境とするために、複数の敷板部材がしっかりと連結されていることが望ましい。
【0003】
そこで、例えば特許文献1に示す技術が提案されている。特許文献1には、敷板部材の1辺の下面に帯板を添着して、その帯板の一部を外方へ突出させ、この突出部に隣接する敷板部材を重合させて、その重合部にピンを貫通させて、敷板部材同士を連結させる技術が開示されている。また、特許文献1には、長方形の敷板部材を互いの長辺が接するように並べて敷きつめた際に、各敷板部材の短辺上の接合部に断面形状がコ字状の継手金具を外側より嵌合させて、その継手金具と各敷板部材との重合部にピンを貫通させて、敷板部材同士を連結させる技術が開示されている。このような構成により、敷板部材同士を確実に連結することが可能となっている。
【先行技術文献】
【特許文献】
【0004】
特開平5-339942公報
【発明の概要】
【発明が解決しようとする課題】
【0005】
しかしながら、特許文献1によれば、敷板部材同士を連結するには、ピンや継手金具を別に用意する必要がある。つまり、作業現場へ必要なピンや継手金具を持って行かなかったり、仮に作業現場にそれらを持って行っても紛失してしまったりすると、敷板部材同士を連結することができなくなってしまう。
【0006】
そこで、本発明は、前記問題点を解決するべくなされたもので、互いを連結するための部材を別に用意することなく、簡単な構成で互いを安定して連結可能な敷板部材を提供することを課題とする。
【課題を解決するための手段】
【0007】
本発明は、3辺以上を備え、そのうちの少なくとも1辺には、互いが嵌合可能な形状の突出部または切り欠き部が1以上設けられた敷板部材であって、前記突出部の下面には、上面から回動可能とされた回動部材が設けられ、前記切り欠き部の下面には、2つの当該敷板部材の該突出部と該切り欠き部とが嵌合された際に、前記回動部材が内側で隣接し、該突出部と該切り欠き部との水平方向への離間を阻害する係止部材が設けられ、前記回動部材が回動された際に、該突出部と該切り欠き部との上下方向への離間が阻害されたことにより、前記課題を解決したものである。
【0008】
本発明では、突出部の下面には、上面から回動可能とされた回動部材が設けられ、切り欠き部の下面には、2つの敷板部材の突出部と切り欠き部とが嵌合された際に、回動部材が内側で隣接し、突出部と該切り欠き部との水平方向への離間を阻害する係止部材が設けられている。つまり、突出部と切り欠き部に設けられた構造は簡素であり、2つの敷板部材の突出部と切り欠き部とが嵌合されるように配置された際には、2つの敷板部材は水平方向へは連結された状態となる。そして、回動部材が回動された際に、突出部と切り欠き部との上下方向への離間が阻害されるので、2つの敷板部材は上下方向でも連結された状態となる。
【発明の効果】
【0009】
本発明によれば、互いを連結するための部材を別に用意することなく、簡単な構成で互いを安定して連結可能な敷板部材を提供することが可能となる。
【図面の簡単な説明】
【0010】
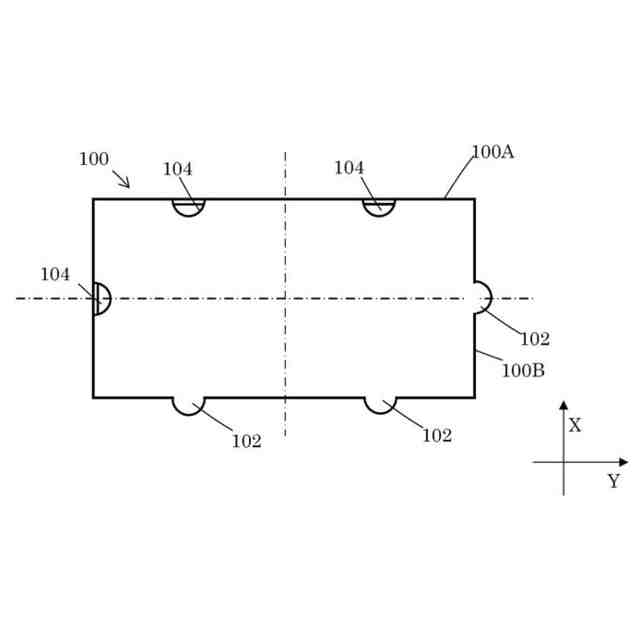
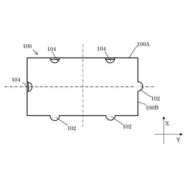
本発明の第1実施形態に係る敷板部材の1例を示す上面模式図
図1の敷板部材を互いに連結した1例を示す上面模式図
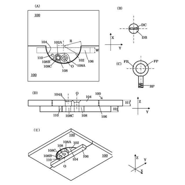
図1の突出部と切り欠き部とが連結した状態を示す図(図2の部分Aの突出部近傍の上面透視図(A)、回動軸Oに設けられるボルトの図(B)、図2の部分Aの突出部近傍の側面図(C)、図2の部分Aの突出部近傍の下面斜視図(D))
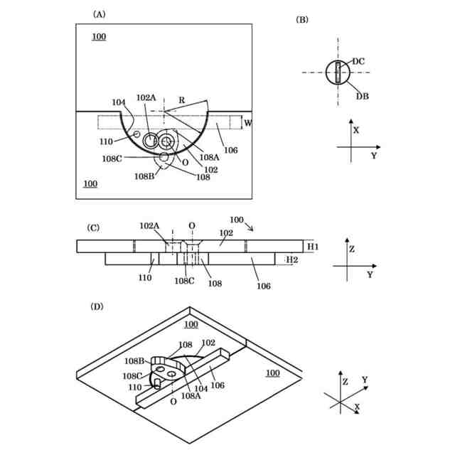
図1の突出部と切り欠き部とを単に嵌合させた状態を示す図(図2の部分Aの突出部近傍の上面透視図(A)、回動軸Oに設けられるボルトの図(B)、貫通孔を介して回動部材に取付けられるフックボルトの図(C)、図2の部分Aの突出部近傍の側面図(D)、図2の部分Aの突出部近傍の下面斜視図(E))
本発明の第2実施形態に係る敷板部材の1例を示す上面模式図
本発明の第3実施形態に係る敷板部材の1例を示す上面模式図
【発明を実施するための形態】
(【0011】以降は省略されています)
この特許をJ-PlatPat(特許庁公式サイト)で参照する
関連特許
鈴健興業株式会社
敷板部材
2か月前
鹿島建設株式会社
接続方法
19日前
株式会社郷土開発
傾斜地の切土工法
18日前
ウエダ産業株式会社
アタッチメント
10日前
日立建機株式会社
建設機械
5日前
日本車輌製造株式会社
建設機械
3日前
日立建機株式会社
作業機械
1か月前
エポコラム機工株式会社
地盤改良装置
3日前
株式会社クボタ
作業機
18日前
ナブテスコ株式会社
ドーザブレード駆動機構
1か月前
株式会社大林組
掘削支援装置及び掘削支援方法
12日前
エポコラム機工株式会社
地盤改良装置及び地盤改良工法
3日前
エポコラム機工株式会社
地盤改良装置及び地盤改良工法
3日前
ヤンマーホールディングス株式会社
作業機械
18日前
ヤンマーホールディングス株式会社
作業機械
18日前
コベルコ建機株式会社
建設機械
5日前
コベルコ建機株式会社
建設機械
5日前
ジャパンパイル株式会社
基礎構造の設計方法及び基礎構造
5日前
鹿島建設株式会社
生態系環境改善部材及び生態系環境改善構造
1か月前
個人
斜面保護構造、及び、斜面保護構造施工方法
1か月前
鹿島建設株式会社
基礎構造および構築方法
10日前
住友重機械工業株式会社
作業機械用の遠隔操作システム
1か月前
日本製紙株式会社
紙製ドレーン
12日前
株式会社サンワールド
地盤改良装置
3日前
大成建設株式会社
地盤計測システム
1か月前
株式会社大林組
解析システム、解析方法及び解析プログラム
11日前
住友重機械工業株式会社
ショベル、ショベルの操作システム
26日前
ヤンマーホールディングス株式会社
作業機械
1か月前
ヤンマーホールディングス株式会社
作業機械
1か月前
株式会社 林物産発明研究所
発電装置付洪水防止装置及び工事代金償還方法
4日前
清水建設株式会社
地中連続壁の終局せん断耐力算定方法
1か月前
ヤンマーホールディングス株式会社
作業機械
1か月前
株式会社三和
流動化処理土
3日前
株式会社大林組
バーチカルドレーン先端の粘性土の侵入長さの推定方法
5日前
株式会社小松製作所
作業機械および作業機械の制御方法
18日前
株式会社小松製作所
作業機械および作業機械の制御方法
18日前
続きを見る
他の特許を見る