TOP
|
特許
|
意匠
|
商標
特許ウォッチ
Twitter
他の特許を見る
10個以上の画像は省略されています。
公開番号
2025177278
公報種別
公開特許公報(A)
公開日
2025-12-05
出願番号
2024083948
出願日
2024-05-23
発明の名称
地盤改良装置
出願人
株式会社サンワールド
,
株式会社サン・エンジニア
代理人
個人
主分類
E02D
3/12 20060101AFI20251128BHJP(水工;基礎;土砂の移送)
要約
【課題】地盤改良の対象が粘性土等の共回り現象の生じ易い土壌であっても、共回り等が生じ難く、掘削や撹拌混合を良好に行なうことができ、しかも、押し進める抵抗もなく攪拌することができ、しかも“だま”にならずに効率良く攪拌することができるので攪拌を確実に行える地盤改良装置を提供する。
【解決手段】建設機械の作業用アームの先端から垂下させる支持体に回転する撹拌翼を回転自在に取り付けた地盤改良装置において、回転する撹拌翼は駆動スプロケット及び従動スプロケットと、これらのスプロケット間に掛架される無端チェーンを備え、無端チェーンの外周面上に所定の間隔で攪拌翼体を固設したチェーン型攪拌翼装置であり、左右に配置する第1,第2のチェーン型攪拌翼装置に対して、その間に第3のチェーン型攪拌翼装置を設け、これら第1,第2のチェーン型攪拌翼装置と第3のチェーン型攪拌翼装置とは相互に逆の回転とした。
【選択図】図1
特許請求の範囲
【請求項1】
建設機械の作業用アームの先端から垂下させる支持体に回転する撹拌翼を回転自在に取り付けた地盤改良装置において、回転する撹拌翼は駆動スプロケット及び従動スプロケットと、これらのスプロケット間に掛架される無端チェーンを備え、無端チェーンの外周面上に所定の間隔で攪拌翼体を固設したチェーン型攪拌翼装置であり、左右に配置する第1,第2のチェーン型攪拌翼装置に対して、その間に第3のチェーン型攪拌翼装置を設け、これら第1,第2のチェーン型攪拌翼装置と第3のチェーン型攪拌翼装置とは相互に逆の回転としたことを特徴とした地盤改良装置。
続きを表示(約 110 文字)
【請求項2】
第1,第2のチェーン型攪拌翼装置の駆動スプロケットを設ける回転支軸と第3のチェーン型攪拌翼装置の駆動スプロケットを設ける回転支軸とを駆動歯車と従動歯車との噛合により連係させる請求項1記載の地盤改良装置。
発明の詳細な説明
【技術分野】
【0001】
本発明は、地表面において、軟弱地盤の浅層から中層部分までを固化処理する地盤改良装置に関する。
続きを表示(約 1,800 文字)
【背景技術】
【0002】
軟弱地盤の改良工法は、改良深さにより表層地盤改良工法と深層地盤改良工法に大別されるが、前者の表層地盤改良工法の1つとして化学的改良工法(表層固化工法)が知られている。
【0003】
この工法は表層地盤を掘削しながら地盤中にセメントや石灰等の固化材を添加し、撹拌混合することにより地盤を化学的に固化する工法であり、使用する地盤改良機として、エンドレスなチェーンに複数の撹拌翼を装着し、これらを地中で周回移動させることにより地盤の掘削と撹拌混合処理を行うチェーン型攪拌翼装置によるトレンチャー式地盤改良機械が知られている。
【0004】
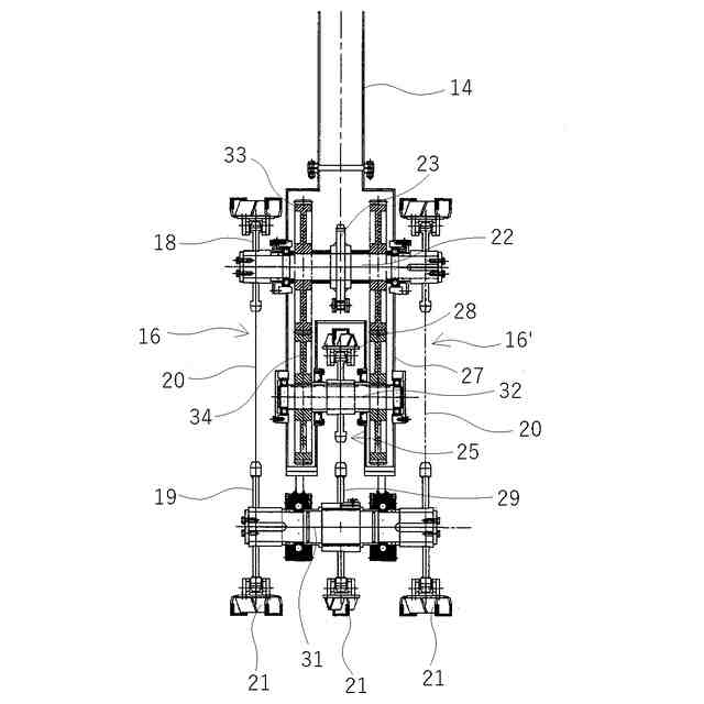
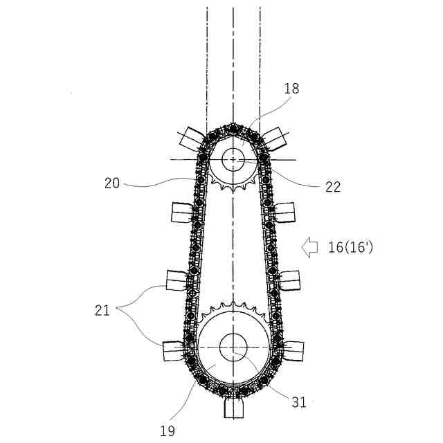
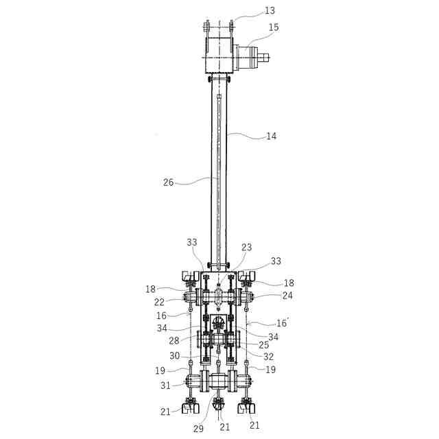
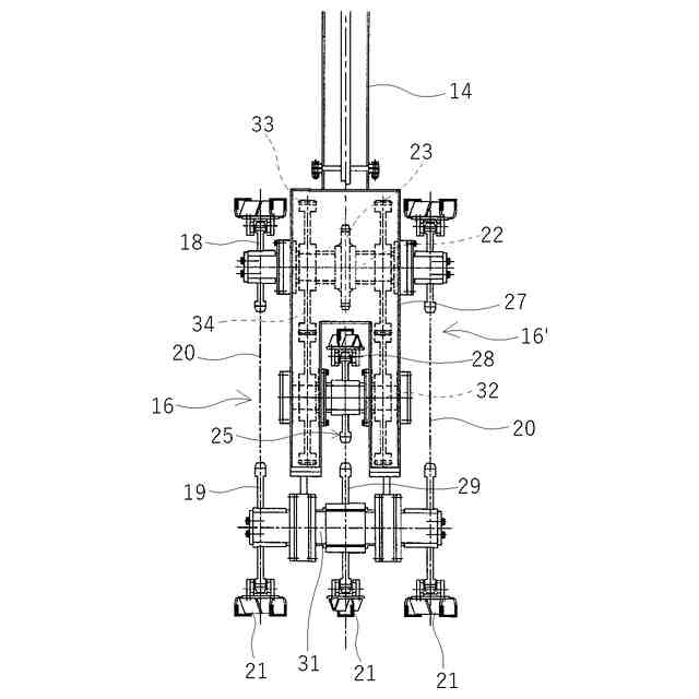
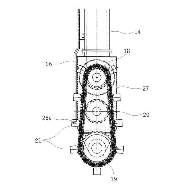
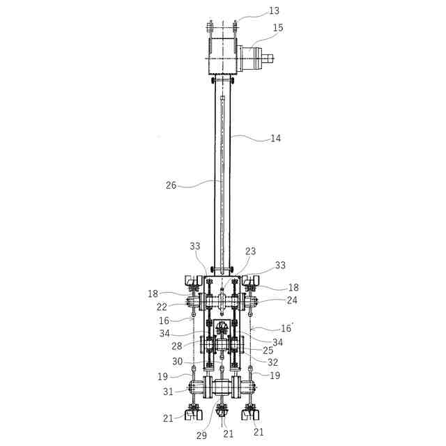
下記特許文献もその一つであり、図10、図11に示すように、地盤改良装置1は、作業車両2から延設された可動アーム3の下端に取り付けるための支持体10と、支持体10の上部に配設された駆動スプロケット11と、支持体10の下部に配設された従動スプロケット12と、これらスプロケット11,12の間に掛架された無端チェーン43と、無端チェーン43の外周面上に設けられた複数の回転自在翼44とを含むチェーン型攪拌翼装置を備えた。
特開2005-97997号公報公報
【0005】
作業車両2から延設された可動アーム3の下端に装着されており、可動アーム3が上下方向に移動するのに伴って地中を昇降し、軟弱土等からなる地盤5を掘削して、土壌と後述の固化材とを撹拌混合し、建造物基礎等に適する改良土6にする。
【0006】
作業車両2には、スラリー状または粉体状のセメント等の固化材を貯留タンクから掘削場所に供給するための固化材供給管4が導かれている。固化材供給管4は、作業車両2から可動アーム3を伝って地盤改良装置1の従動スプロケット12付近に達し、固化材を地中に吐出する。
【発明の開示】
【発明が解決しようとする課題】
【0007】
前記チェーン型攪拌翼装置による地盤改良装置では、地盤改良の対象となる地盤が、粘着力のやや大きい粘性土や火山灰質の粘性土(ローム土)等の土質から成る場合には、粘着力の大きな土壌が付着したままの状態となって、掘削や撹拌の能力の低下を招いたり、あるいは、固定された撹拌翼全体を包み込むように多量の土壌が付着し、無端チェーンが地中を空回りして土壌の撹拌混合を行なうことができなくなるいわゆる共回り現象が生じるという問題がある。
【0008】
特許文献1の地盤改良装置では、無端チェーンの外周面上に設けられた複数の回転自在翼が、無端チェーンに取り付けるための枠体と、該枠体に回転自在に支持された軸体と、該軸体に固着された放射状に延びる複数の撹拌棒を備えたものとして、回転自在な軸体に固着された放射状に延びる複数の撹拌棒が、無端チェーンの周回に伴う移動とは別に、軸体の回転による回動によって土壌を撹拌するので、地盤改良の対象が粘性土等であっても、回転自在翼全体に多量の土壌が付着して共回りする現象等が生じ難く、掘削や撹拌混合を良好な状態で行なうことができるとしているが、不十分なものであった。
【0009】
本発明の目的は前記従来例の不都合を解消し、 地盤改良の対象が粘性土等の共回り現象の生じ易い土壌であっても、共回り等が生じ難く、掘削や撹拌混合を良好に行なうことができ、しかも、押し進める抵抗もなく攪拌することができ、しかも“だま”にならずに効率良く攪拌することができるので攪拌を確実に行える地盤改良装置を提供することにある。
【課題を解決するための手段】
【0010】
前記目的を達成するため請求項1記載の本発明は、建設機械の作業用アームの先端から垂下させる支持体に回転する撹拌翼を回転自在に取り付けた地盤改良装置において、回転する撹拌翼は駆動スプロケット及び従動スプロケットと、これらのスプロケット間に掛架される無端チェーンを備え、無端チェーンの外周面上に所定の間隔で攪拌翼を固設したチェーン型攪拌翼装置であり、左右に配置する第1,第2のチェーン型攪拌翼装置に対して、その間に第3のチェーン型攪拌翼装置を設け、これら第1,第2のチェーン型攪拌翼装置と第3のチェーン型攪拌翼装置とは相互に逆の回転としたことを要旨とするものである。
(【0011】以降は省略されています)
この特許をJ-PlatPat(特許庁公式サイト)で参照する
関連特許
株式会社サンワールド
地盤改良装置
今日
個人
バケット
1か月前
個人
建物の不同沈下の修正方法
1か月前
鹿島建設株式会社
接続方法
16日前
株式会社大林組
操縦装置
1か月前
千代田工営株式会社
回転貫入杭
1か月前
株式会社富田製作所
継手部構造
1か月前
株式会社熊谷組
山留壁用親杭
1か月前
株式会社郷土開発
傾斜地の切土工法
15日前
ウエダ産業株式会社
アタッチメント
7日前
日立建機株式会社
作業機械
1か月前
日本車輌製造株式会社
建設機械
1か月前
日立建機株式会社
建設機械
2日前
日立建機株式会社
作業車両
1か月前
ヤンマーホールディングス株式会社
作業機械
1か月前
日立建機株式会社
建設機械
29日前
ヤンマーホールディングス株式会社
作業機械
1か月前
日本車輌製造株式会社
建設機械
今日
エポコラム機工株式会社
地盤改良装置
今日
日立建機株式会社
作業機械
28日前
株式会社クボタ
作業機
15日前
FKS株式会社
擁壁及び擁壁の築造方法
1か月前
株式会社三誠
建物の免震構造
1か月前
株式会社次世代一次産業実践所
登山道の施工装置
1か月前
鹿島建設株式会社
接続方法および接続構造
1か月前
山形新興株式会社
建築物の基礎及び基礎成形型
1か月前
日本車輌製造株式会社
杭打機の表示システム
1か月前
個人
アンカーボルト支持装置
1か月前
ナブテスコ株式会社
ドーザブレード駆動機構
28日前
日本車輌製造株式会社
杭打機の制御システム
1か月前
日本車輌製造株式会社
建設機械の電源システム
1か月前
株式会社大林組
評価支援装置及び評価支援方法
1か月前
株式会社大林組
施工支援装置及び施工支援方法
1か月前
株式会社大林組
施工支援装置及び施工支援方法
1か月前
株式会社大林組
掘削支援装置及び掘削支援方法
9日前
株式会社大林組
施工支援装置及び施工支援方法
1か月前
続きを見る
他の特許を見る