TOP
|
特許
|
意匠
|
商標
特許ウォッチ
Twitter
他の特許を見る
10個以上の画像は省略されています。
公開番号
2025136485
公報種別
公開特許公報(A)
公開日
2025-09-19
出願番号
2024035099
出願日
2024-03-07
発明の名称
シールド掘進機およびシールド掘進方法
出願人
株式会社奥村組
代理人
個人
主分類
E21D
9/06 20060101AFI20250911BHJP(地中もしくは岩石の削孔;採鉱)
要約
【課題】シールド掘進機による掘削工事において、地山探査の確実性を維持しつつ、地山の探査時間を短縮することが可能になる。
【解決手段】超音波を用いた非接触式の地山探査装置15と、貫入棒16rを用いた接触式の地山崩壊探査装置16とを泥土圧シールド掘進機1に設け、掘進動作を続けながら非接触式の地山探査装置15により地山を常時探査し、その探査結果について詳細を確認したいときに、掘進動作を停止して接触式の地山崩壊探査装置16により地山を探査する。
【選択図】図21
特許請求の範囲
【請求項1】
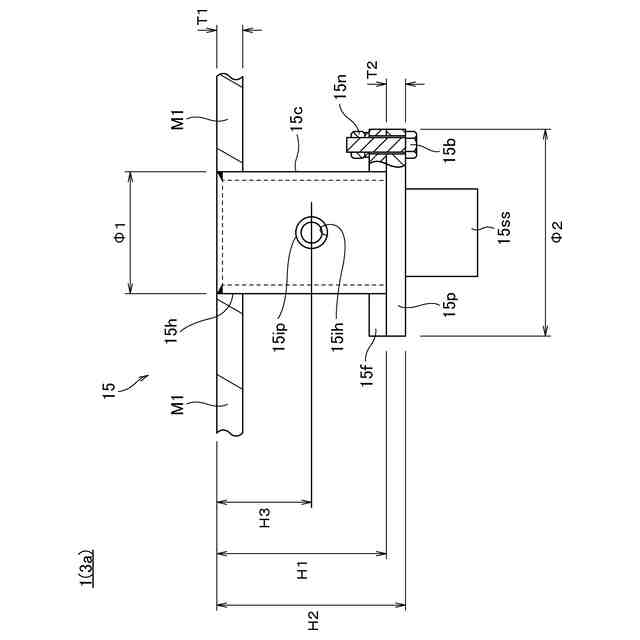
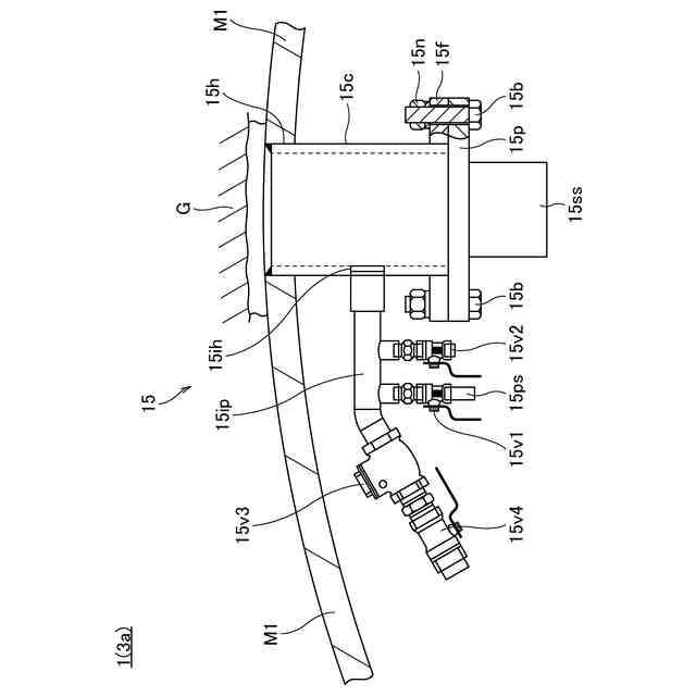
スキンプレートの頂上部に前記スキンプレートの内外を貫通した状態で設けられた第1の貫通孔と、
前記第1の貫通孔の内周面に上端部の外周面を接続させた状態で設けられた第1の筒状体と、
前記第1の筒状体の外周面に前記第1の筒状体の内外を貫通した状態で設けられた注入孔と、
前記注入孔に接続された注入配管と、
前記注入配管を通じて前記第1の筒状体の内部に地山保持材を圧送する注入ポンプと、
前記注入配管の内部の注入圧を検出する第1の圧力検出手段と、
前記第1の筒状体の下端面に取り付けられた板状体と、
前記板状体の下面に取り付けられた超音波センサと、
を有する非接触式の地山探査装置と、
前記スキンプレートの頂上部に前記スキンプレートの内外を貫通した状態で設けられた第2の貫通孔と、
前記第2の貫通孔の内周面に上端部の外周面を接続させた状態で設けられた第2の筒状体と、
前記第2の筒状体の外内に出没自在の状態で設けられた貫入棒と、
前記貫入棒を出没させる貫入棒出没手段と、
前記スキンプレートの外周面から前記貫入棒が突出する長さを測定する突出長測定手段と、
前記貫入棒にかかる圧力を検出する第2の圧力検出手段と、
を有する接触式の地山探査装置と、
を備えることを特徴とするシールド掘進機。
続きを表示(約 1,400 文字)
【請求項2】
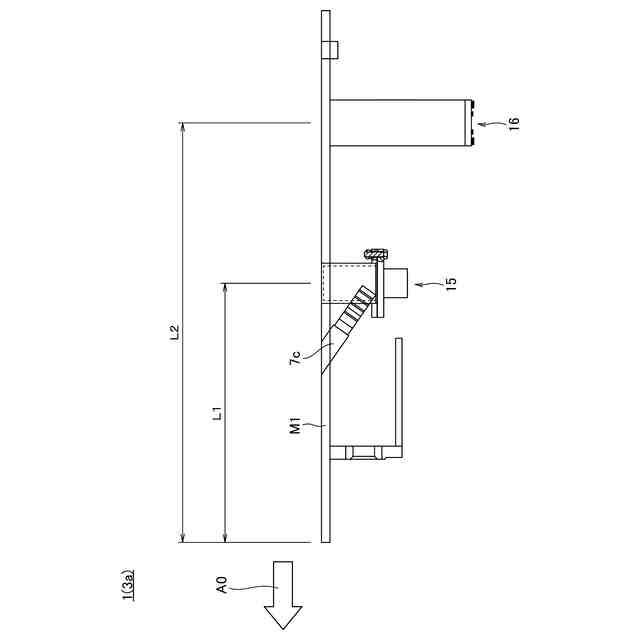
前記非接触式の地山探査装置および前記接触式の地山探査装置は、前記シールド掘進機の掘進方向に沿って同一軸上に並んで配置されているとともに、前記非接触式の地山探査装置は、前記接触式の地山探査装置よりも前記シールド掘進機の掘進方向に向かって前方に配置されていることを特徴とする請求項1記載のシールド掘進機。
【請求項3】
前記非接触式の地山探査装置および前記接触式の地山探査装置は、前記シールド掘進機の掘進方向に直交する線上に沿って並んで配置されていることを特徴とする請求項1記載のシールド掘進機。
【請求項4】
地山の内壁面に接触することなく超音波センサを用いて地山の内壁面の状態を探査する非接触式の地山探査装置によってシールド掘進機の上方の地山の内壁面の状態を常時探査する過程と、
前記非接触式の地山探査装置による探査の結果、詳細確認が必要とされたとき、前記シールド掘進機の掘進を停止した後、地山の内壁面に貫入棒を接触させることにより地山の内壁面の状態を探査する接触式の地山探査装置によって前記詳細確認が必要とされた箇所を探査する過程と、
を有することを特徴とするシールド掘進方法。
【請求項5】
前記非接触式の地山探査装置は、
前記シールド掘進機のスキンプレートの頂上部に前記スキンプレートの内外を貫通した状態で設けられた第1の貫通孔と、
前記第1の貫通孔の内周面に上端部の外周面を接続させた状態で設けられた第1の筒状体と、
前記第1の筒状体の外周面に前記第1の筒状体の内外を貫通した状態で設けられた注入孔と、
前記注入孔に接続された注入配管と、
前記注入配管を通じて前記第1の筒状体の内部に地山保持材を圧送する注入ポンプと、
前記注入配管の内部の注入圧を検出する第1の圧力検出手段と、
前記第1の筒状体の下端面に取り付けられた板状体と、
前記板状体の下面に取り付けられた超音波センサと、
を備え、
前記接触式の地山探査装置は、
前記スキンプレートの頂上部に前記スキンプレートの内外を貫通した状態で設けられた第2の貫通孔と、
前記第2の貫通孔の内周面に上端部の外周面を接続させた状態で設けられた第2の筒状体と、
前記第2の筒状体の外内に出没自在の状態で設けられた貫入棒と、
前記貫入棒を出没させる貫入棒出没手段と、
前記スキンプレートの外周面から前記貫入棒が突出する長さを測定する突出長測定手段と、
前記貫入棒にかかる圧力を検出する第2の圧力検出手段と、
を備えることを特徴とする請求項4記載のシールド掘進方法。
【請求項6】
前記非接触式の地山探査装置および前記接触式の地山探査装置は、前記シールド掘進機の掘進方向に沿って同一軸上に並んで配置されているとともに、前記非接触式の地山探査装置は、前記接触式の地山探査装置よりも前記シールド掘進機の掘進方向に向かって前方に配置されていることを特徴とする請求項4記載のシールド掘進方法。
【請求項7】
前記非接触式の地山探査装置および前記接触式の地山探査装置は、前記シールド掘進機の掘進方向に直交する線上に沿って並んで配置されていることを特徴とする請求項4記載のシールド掘進方法。
発明の詳細な説明
【技術分野】
【0001】
本発明は、シールド掘進機およびシールド掘進方法に関し、例えば、シールド掘進機の直上の地山の内壁面の状態を探査する地山探査技術に関するものである。
続きを表示(約 1,800 文字)
【背景技術】
【0002】
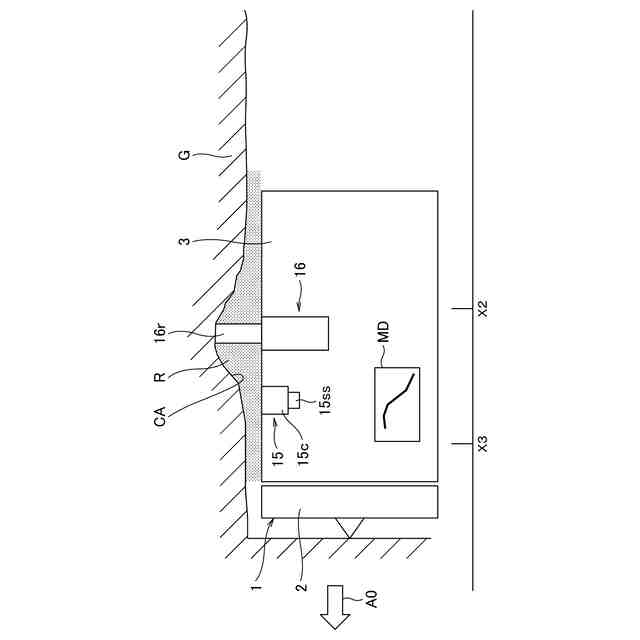
シールド掘進機により地山を掘削する際に、シールド掘進機の直上の掘削坑の内壁面に著しい緩みや空洞があると地盤沈下等の可能性があるので、その対策として当該地山の内壁面の状態を地山探査装置により常時、測定およびモニタリングすることで地盤沈下等を早期の段階で発見し、対処するようにしている。
【0003】
このような地山探査装置については、例えば、特許文献1に記載があり、シールドマシン内に設置された水流発生装置の噴射口から地山に向けて噴射された水により形成された水柱内に、当該噴射口の噴射方向後端に配設された超音波センサから超音波を発することにより、シールドマシンの周囲の余堀り量を測定する技術が開示されている。
【先行技術文献】
【特許文献】
【0004】
特開2021-134549号公報
【発明の概要】
【発明が解決しようとする課題】
【0005】
ところで、シールド掘進機による掘削工事に際して、掘削坑内の地山の内壁面に貫入棒を接触させることにより地山の内壁面の状態を探査する接触式の地山探査の場合、地山探査の確実性は高いが、定期的または不定期的に実施する地山探査の度に、シールド掘進機の掘進を停止し、掘進動作の停止および再開の指示を作業者全員に確実に伝達しなければならないので、地山の探査に時間を要する、という課題がある。
【0006】
一方、掘削坑内の地山の内壁面の状態を超音波によって探査する非接触式の地山探査の場合は、地山探査においてシールド掘進機の掘進を停止させる必要がないので、地山の探査時間を短縮することができるが、接触式の地山探査に比べて確実性が低下する、という課題がある。
【0007】
本発明は、上述の技術的背景からなされたものであって、シールド掘進機による掘削工事において、地山探査の確実性を維持しつつ、地山の探査時間を短縮することができる技術を提供することを目的とする。
【課題を解決するための手段】
【0008】
上記課題を解決するため、請求項1に記載の本発明のシールド掘進機は、スキンプレートの頂上部に前記スキンプレートの内外を貫通した状態で設けられた第1の貫通孔と、前記第1の貫通孔の内周面に上端部の外周面を接続させた状態で設けられた第1の筒状体と、前記第1の筒状体の外周面に前記第1の筒状体の内外を貫通した状態で設けられた注入孔と、前記注入孔に接続された注入配管と、前記注入配管を通じて前記第1の筒状体の内部に地山保持材を圧送する注入ポンプと、前記注入配管の内部の注入圧を検出する第1の圧力検出手段と、前記第1の筒状体の下端面に取り付けられた板状体と、前記板状体の下面に取り付けられた超音波センサと、を有する非接触式の地山探査装置と、前記スキンプレートの頂上部に前記スキンプレートの内外を貫通した状態で設けられた第2の貫通孔と、前記第2の貫通孔の内周面に上端部の外周面を接続させた状態で設けられた第2の筒状体と、前記第2の筒状体の外内に出没自在の状態で設けられた貫入棒と、前記貫入棒を出没させる貫入棒出没手段と、前記スキンプレートの外周面から前記貫入棒が突出する長さを測定する突出長測定手段と、前記貫入棒にかかる圧力を検出する第2の圧力検出手段と、を有する接触式の地山探査装置と、を備えることを特徴とする。
【0009】
請求項2に記載の本発明のシールド掘進機は、上記請求項1に記載の発明において、前記非接触式の地山探査装置および前記接触式の地山探査装置は、前記シールド掘進機の掘進方向に沿って同一軸上に並んで配置されているとともに、前記非接触式の地山探査装置は、前記接触式の地山探査装置よりも前記シールド掘進機の掘進方向に向かって前方に配置されていることを特徴とする。
【0010】
請求項3に記載の本発明のシールド掘進機は、上記請求項1に記載の発明において、前記非接触式の地山探査装置および前記接触式の地山探査装置は、前記シールド掘進機の掘進方向に直交する線上に沿って並んで配置されていることを特徴とする。
(【0011】以降は省略されています)
この特許をJ-PlatPat(特許庁公式サイト)で参照する
関連特許
株式会社奥村組
継手部用スパイラル鉄筋
23日前
個人
掘削機
4か月前
日特建設株式会社
切断装置
15日前
株式会社奥村組
地山探査装置
2か月前
株式会社奥村組
地山探査装置
2か月前
株式会社奥村組
地山探査装置
2か月前
株式会社奥村組
地山探査方法
2か月前
株式会社奥村組
シールド掘進機
1か月前
株式会社奥村組
シールド掘進機
5か月前
株式会社笠原建設
横孔形成方法
6か月前
日特建設株式会社
ボーリング装置
7か月前
花王株式会社
岩盤の掘削方法
4か月前
岐阜工業株式会社
トンネルセントル
1か月前
株式会社奥村組
泥土圧シールド掘進機
5か月前
株式会社熊谷組
天井板撤去装置
6か月前
株式会社奥村組
セグメントの組立方法
1か月前
個人
掘削機、及び、資源回収システム
6か月前
個人
オープンシールド機
2か月前
個人
オープンシールド機
2か月前
個人
箱形ルーフおよびその施工法
1か月前
大阪瓦斯株式会社
牽引装置
5か月前
株式会社ケー・エフ・シー
剥落防止構造
7か月前
株式会社金澤製作所
発進坑口のエントランス装置
5か月前
デンカ株式会社
静的破砕方法
2か月前
地中空間開発株式会社
トンネル掘削機
27日前
大成建設株式会社
トンネルの褄部構造
7か月前
個人
メタンハイドレート等海底鉱物資源の採取方法
3か月前
大阪瓦斯株式会社
切欠開裂治具
6か月前
岐阜工業株式会社
トンネルセントルの妻板装置
2か月前
戸田建設株式会社
掘削機切削部側壁
4か月前
株式会社奥村組
地山探査装置に用いる地山保持材
2か月前
大栄工機株式会社
トンネル防水工法
7か月前
大成建設株式会社
トンネルとその施工方法
6か月前
古河ロックドリル株式会社
穿孔機械
7か月前
株式会社神島組
小割用工具および小割方法
7か月前
日鉄建材株式会社
構造物用補強リング及び構造物
1か月前
続きを見る
他の特許を見る