TOP
|
特許
|
意匠
|
商標
特許ウォッチ
Twitter
他の特許を見る
公開番号
2025065770
公報種別
公開特許公報(A)
公開日
2025-04-22
出願番号
2023175194
出願日
2023-10-10
発明の名称
トンネルとその施工方法
出願人
大成建設株式会社
代理人
個人
,
個人
主分類
E21D
11/10 20060101AFI20250415BHJP(地中もしくは岩石の削孔;採鉱)
要約
【課題】地山の掘削量、覆工コンクリートの覆工厚、及び鋼製支保工の鋼材量の増加を抑制でき、支保構造の中で最も坑内側に突設している箇所を計測により特定する際の手間を解消できる、トンネルとその施工方法を提供する。
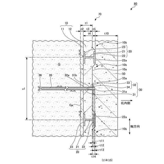
【解決手段】支保構造体70と覆工コンクリート50とを有するトンネル80であり、支保構造体70は、一次吹付けコンクリート11と、H形鋼からなる鋼製支保工20と、間隔を置いて隣り合う鋼製支保工20の間で地山側へ窪んだ凹面10aを備えている二次吹付けコンクリート12と、凹面10aにおいて地山Gへ打ち込まれているボルト本体31と、定着体32とを備えているロックボルト30とを有し、覆工コンクリート50は、坑内側フランジ22の表面22aと定着体32を巻き込みながら形成され、ボルト本体31の頭部31aと定着体32の双方が坑内側フランジ22の表面22aと凹面10aとの段差内に収容されている。
【選択図】図2
特許請求の範囲
【請求項1】
支保構造体と覆工コンクリートとを有する、トンネルであって、
前記支保構造体は、
地山が掘削された掘削面に形成されている、一次吹付けコンクリートと、
前記一次吹付けコンクリートの表面において、トンネルの軸方向に間隔を置いて設置されている、H形鋼からなる鋼製支保工と、
前記H形鋼の坑内側フランジの表面を除く該H形鋼の全域を巻き込みながら、前記一次吹付けコンクリートの表面に形成され、前記間隔を置いて隣り合う前記鋼製支保工の間で地山側へ窪んだ凹面を備えている、二次吹付けコンクリートと、
前記凹面において地山へ打ち込まれているボルト本体と、該ボルト本体を前記地山に定着する定着体とを備えている、ロックボルトとを有し、
前記覆工コンクリートは、前記坑内側フランジの表面と前記定着体を巻き込みながら形成されており、
前記ボルト本体の頭部と前記定着体の双方が、前記坑内側フランジの表面と前記凹面との段差内に収容されていることを特徴とする、トンネル。
続きを表示(約 1,000 文字)
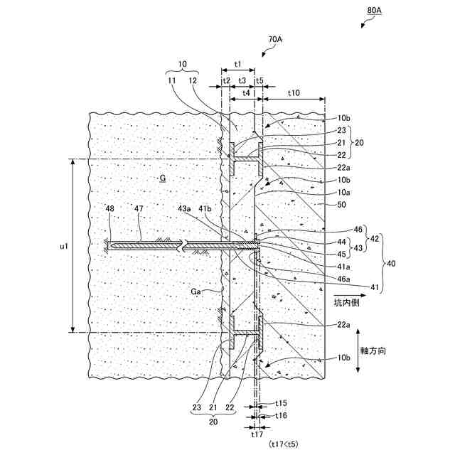
【請求項2】
前記ボルト本体の少なくとも頭部の外周には雄ネジが設けられ、
前記定着体は、
頭体と、該頭体よりも平面寸法の小さなシャフトを備え、該頭体から該シャフトに亘って連続する雌ネジが設けられている、ナットと、
前記シャフトが挿通され、前記頭体よりも平面寸法の小さな挿通孔が開設されている、座金とを有し、
前記雄ネジが前記頭体から突設しない状態で、前記雌ネジに対して該雄ネジが螺合していることを特徴とする、請求項1に記載のトンネル。
【請求項3】
前記ボルト本体の少なくとも頭部の外周には雄ネジが設けられ、
前記定着体は、
頭体と、該頭体よりも平面寸法の小さなシャフトとを備え、該頭体から該シャフトに亘って連続する雌ネジが設けられている、ナットであり、
前記頭体は、平板状に広がるフランジであり、
前記雄ネジが、前記頭体から突設しない状態で前記雌ネジに螺合していることを特徴とする、請求項1に記載のトンネル。
【請求項4】
前記H形鋼の高さが125mmであり、
前記二次吹付けコンクリートの前記凹面のうち、前記ロックボルトが打ち込まれる領域の厚みが100mmであり、
前記段差が25mmであることを特徴とする、請求項1に記載のトンネル。
【請求項5】
掘削された地山の掘削面に一次吹付けコンクリートを施工し、該一次吹付けコンクリートの表面において、トンネルの軸方向に間隔を置いてH形鋼からなる鋼製支保工を設置し、該H形鋼の坑内側フランジの表面を除く該H形鋼の全域を巻き込みながら、前記一次吹付けコンクリートの表面に、前記間隔を置いて隣り合う前記鋼製支保工の間で地山側へ窪んだ凹面を備えた状態で二次吹付けコンクリートを施工し、前記凹面から地山にボアホールを穿孔し、該ボアホールにグラウトを注入し、該ボアホールに対して、ロックボルトを形成するボルト本体を打ち込み、該ロックボルトを形成する定着体を該ボルト本体に取り付け、該グラウトを養生して、該ボルト本体を前記地山に定着することにより、支保構造体を施工する、A工程と、
前記坑内側フランジの表面と前記定着体を巻き込みながら覆工コンクリートを施工する、B工程とを有し、
前記A工程では、前記ボルト本体の頭部と前記定着体の双方を、前記坑内側フランジの表面と前記凹面との段差内に収容することを特徴とする、トンネルの施工方法。
発明の詳細な説明
【技術分野】
【0001】
本発明は、トンネルとその施工方法に関する。
続きを表示(約 2,200 文字)
【背景技術】
【0002】
トンネル(山岳トンネル等)の施工では、発破等によって地山を掘削し、吹付けコンクリートの施工と鋼製支保工の施工を行った後に、吹付けコンクリートの表面から地山に対して複数のロックボルトを打ち込んで地山に定着させて支保構造体を構築し、これをトンネルの軸方向に繰り返した後、支保構造体の坑内側に所定の覆工厚の覆工コンクリートを施工することにより、所定延長のトンネルを施工する方法が一般に適用される。
吹付けコンクリートには、一次吹付けコンクリートと二次吹付けコンクリートが含まれ、地山の掘削後に速やかに一次吹付けコンクリートを施工し、一次吹付けコンクリートの表面にトンネルの軸方向に間隔を置いて鋼製支保工を設置し、一次吹付けコンクリートの表面に鋼製支保工を巻き込むようにして二次吹付けコンクリートを施工した後に、二次吹付けコンクリートの表面から地山に対してロックボルトの打ち込みを行う。
ロックボルトを含む支保構造体は、例えば崩壊や過度な変形の恐れのある地山に対して構造安定性の高い支保構造となる。
【0003】
ここで、特許文献1には、トンネルの周辺の地山に打ち込まれたロックボルトにおける、トンネル内へ突出した突出端部をトンネル壁面に定着させる、ロックボルト端部定着装置が提案されている。この定着装置は、突出端部を通す挿通穴を有してトンネル壁面に当接される受圧板と、突出端部に螺合されたナットと、受圧板とナットとの間に挟まれ、押圧力に応じて変色される樹脂又はゴムからなる変色性部材とを備えている。
【先行技術文献】
【特許文献】
【0004】
特開2021-80732号公報
【発明の概要】
【発明が解決しようとする課題】
【0005】
特許文献1に記載のロックボルをはじめとして、従来のロックボルトは、受圧板(座金)やナットが吹付けコンクリートの表面から大きく突設し、ナットからロックボルトのボルト本体の頭部がさらに突設する。そのために、様々な課題が生じ得る。
【0006】
ここで、図1を参照して、この様々な課題について説明する。図1は、ロックボルトを含む従来の支保構造体を備えたトンネルの一例の一部を拡大した横断面図である。
【0007】
地山Gが掘削されてできた掘削面Gaに対して、吹付けコンクリートC1が施工される。図示例では、掘削面Gaに不図示の溶接金網を設置した後、吹付けコンクリートC1を形成する厚みt2の一次吹付けコンクリートC2が施工され、H形鋼からなる鋼製支保工Dがトンネルの軸方向に間隔u1を置いて設置され、鋼製支保工Hを巻き込むようにして一次吹付けコンクリートC1の表面に厚みt2の二次吹付けコンクリートC3が施工される。吹付けコンクリートC1の厚みt1は、厚みt2,t3の総計となる。
【0008】
吹付けコンクリートC1を施工した後、吹付けコンクリートC1の表面Caから地山にボアホールHを削孔し、ボアホールHの内部にモルタル等のグラウトMを充填した後、ボアホールHの内部にロックボルトRを形成するボルト本体Bを打ち込み、ボルト本体Bの頭部Baを吹付けコンクリートC1の表面Caから突設させる。次に、座金Wのボルト孔Waに頭部Baを挿通させながら座金Wを設置し、ナットNを締め付け、グラウトMの養生を図ることにより、ボルト本体Bを地山Gに定着させる。
このように、ボルト本体Bを地山Gに定着させる座金WとナットNは、定着体Eを形成する。座金Wの厚みはt6,ナットNの厚みはt7,ナットNからの頭部Baの突設長はt8であり、これらを加算した高さはt9となる。
定着体Eやボルト本体Bの頭部Baを巻き込むようにして覆工コンクリートC4が施工されることにより、支保構造体Fを備えたトンネルTが施工されることになる。
【0009】
この覆工コンクリートC4の覆工厚t10の算定において、図示例のようにボルト本体Bの頭部BaがH形鋼Dの坑内側フランジD1よりも坑内側に突設している(高さt9が、覆工コンクリートC1の表面Caから坑内側フランジD1までの高さt5よりも大きい:t9>t5)際に、当該頭部Baから設計値以上の覆工厚t10の覆工コンクリートC4を施工することが要求される場合がある。
このような場合には、吹付けコンクリートC1の厚みt1も設計値を充足するように施工した上で、ボルト本体Bの頭部Baから設計値以上の覆工厚t10の覆工コンクリートC4を施工することから、必然的に地山Gの掘削量が増加するといった課題が生じる。
【0010】
また、吹付けコンクリートC1の表面Caと覆工コンクリートC4の間には、座金Wの厚みt6とナットNの厚みt7とボルト本体Bの頭部Baの突設長t8を加算した高さt9の空間(突設空間S)が形成され、この突設空間Sは覆工コンクリートC4の施工時にコンクリートを充填して閉塞する必要があることから、結果として覆工コンクリートC4を厚みt8,t7を加算した高さt9で施工することが余儀なくされるため、高さt9が高くなるに従い覆工コンクリートC4の覆工厚が増加し、覆工コンクリートC4のコンクリート量が増加するといった課題も生じる。
(【0011】以降は省略されています)
この特許をJ-PlatPat(特許庁公式サイト)で参照する
関連特許
大成建設株式会社
推定方法
12日前
大成建設株式会社
木質複合構造
1か月前
大成建設株式会社
摩擦制振ダンパー
1か月前
大成建設株式会社
ペレット製造装置
1か月前
大成建設株式会社
既存建物の解体方法
1か月前
大成建設株式会社
木材性状推定システム
27日前
大成建設株式会社
床版接合部の設計方法
1か月前
大成建設株式会社
杭の施工方法および杭
1か月前
大成建設株式会社
足場装置および足場構築方法
13日前
大成建設株式会社
木材縦弾性係数推定システム
27日前
大成建設株式会社
仮設鋼床版および床版取替工法
今日
大成建設株式会社
土壌改良剤、及び土壌改良方法
21日前
大成建設株式会社
地下水排水構造と地下水排水方法
1か月前
大成建設株式会社
免震基礎構造およびその構築方法
25日前
大成建設株式会社
到達立坑における掘進機の回収方法
1か月前
大成建設株式会社
異種コンクリートの切替り特定方法
1か月前
大成建設株式会社
単杭の極限先端支持力度の評価方法
18日前
大成建設株式会社
凍結地盤の掘削土の排土装置と排土方法
1か月前
大成建設株式会社
既設トンネルの坑口補強構造と坑口補強方法
1か月前
大成建設株式会社
内空変位計測システム及び内空変位計測方法
11日前
大成建設株式会社
吊荷向き制御システムおよびブレード設置方法
1か月前
大成建設株式会社
消音設計支援システム、防振設計支援システム
11日前
大成建設株式会社
既設トンネルと分岐トンネルの接合構造と接合方法
1か月前
大成建設株式会社
上面増厚床版の非破壊評価方法及び非破壊評価システム
1か月前
大成建設株式会社
上下の既設トンネルを繋ぐ接合トンネルとその施工方法
1か月前
大成建設株式会社
鋼管により形成される立坑の坑口補強構造と坑口補強方法
1か月前
大成建設株式会社
作業環境監視システム及び作業環境監視システムの監視方法
1か月前
大成建設株式会社
インバート変位計測システムおよびインバート変位計測方法
12日前
大成建設株式会社
遊離脂肪酸の分離方法および遊離脂肪酸生産微生物の培養方法
1か月前
大成建設株式会社
積層体部材、構造体、積層体部材を用いて構造体を構築する方法
11日前
大成建設株式会社
半潜水浮体式基礎
1か月前
大成建設株式会社
塔体の建て起こし装置
1か月前
アキレス株式会社
養生シート製品、養生区画、及び養生区画の構築方法
18日前
大成建設株式会社
既設橋脚におけるアンカーボルトの施工方法およびブラケットの取付構造
14日前
大成建設株式会社
分岐トンネル施工用の発進設備と、分岐トンネル施工用の掘進機の発進方法
1か月前
株式会社渋谷潜水工業
切断装置
20日前
続きを見る
他の特許を見る