TOP
|
特許
|
意匠
|
商標
特許ウォッチ
Twitter
他の特許を見る
10個以上の画像は省略されています。
公開番号
2025144845
公報種別
公開特許公報(A)
公開日
2025-10-03
出願番号
2024044724
出願日
2024-03-21
発明の名称
異種コンクリートの切替り特定方法
出願人
大成建設株式会社
代理人
個人
,
個人
主分類
E02D
15/04 20060101AFI20250926BHJP(水工;基礎;土砂の移送)
要約
【課題】異種コンクリートの切替りを精度よく特定することのできる、異種コンクリートの切替り特定方法を提供する。
【解決手段】下方コンクリートC1の上面Caよりも下方から異種の上方コンクリートC2を打設する際に、双方の切替りを特定する異種コンクリートの切替り特定方法であり、コンクリートの実際の打設施工において、錘体42に接続されるワイヤ41を2段階の引き上げ速度で変化させながら所定高さ引き上げる際の引き上げ力を測定して測定データを取得し、降伏値と塑性粘度を縦軸及び横軸とする座標系に対して測定データに基づく降伏値と塑性粘度をプロットして分布図を作成し、降伏値と塑性粘度を判別ラインに照合して切替りを特定するものとし、判定ラインを、2段階の引き上げ速度で変化させながら所定高さ引き上げて測定データを収集し、分布図において異種コンクリートの切替るラインとして設定する。
【選択図】図10C
特許請求の範囲
【請求項1】
所定の高さまで下方コンクリートを打設した後、該下方コンクリートの上面よりも下方から該下方コンクリートとは異種の上方コンクリートを打設する際に、該下方コンクリートと該上方コンクリートとの切替りを特定する、異種コンクリートの切替り特定方法であって、
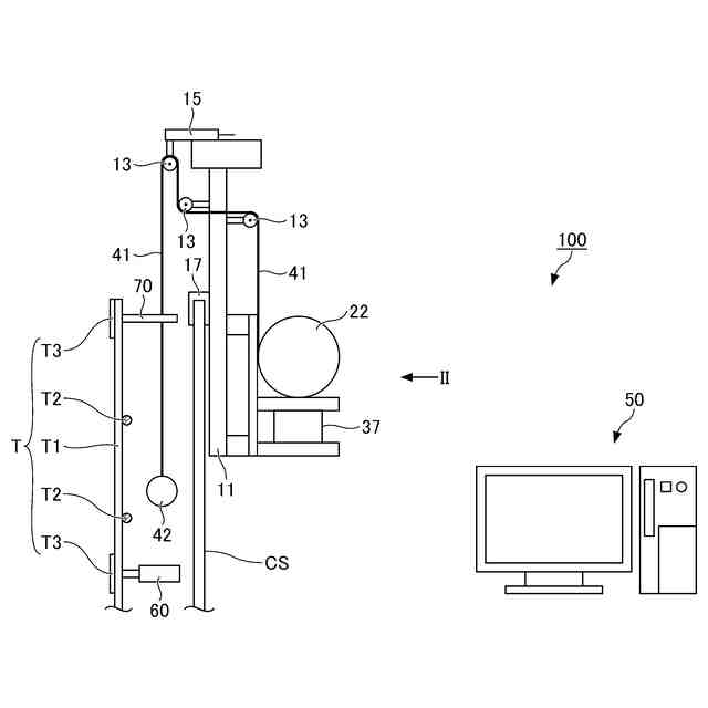
ワイヤに接続されている錘体を、前記下方コンクリートから前記上方コンクリートへ引き上げる前後の該ワイヤの引き上げ力が相違することに着目し、
コンクリートの実際の打設施工において、前記錘体に接続される前記ワイヤを、2段階の引き上げ速度で変化させながら所定高さ引き上げ、該所定高さの引き上げを繰り返し実行し、引き上げる際の引き上げ力を測定して測定データを取得し、
前記上方コンクリートと前記下方コンクリートをビンガム流体とした特性値である、降伏値と塑性粘度を前記測定データから算出し、
前記降伏値と前記塑性粘度を判別ラインに照合して前記切替りを特定し、
前記判別ラインを、
前記上方コンクリートと同種のコンクリートと、前記下方コンクリートと同種のコンクリートに対してそれぞれ、前記錘体の引き上げ速度を2段階の引き上げ速度で変化させながら所定高さ引き上げ、それぞれの引き上げ速度で引き上げた際の引き上げ力を測定して測定データを収集し、前記降伏値と前記塑性粘度を縦軸及び横軸とする座標系に対して複数の該測定データに基づく該降伏値及び該塑性粘度をプロットして分布図を作成し、該分布図において、前記下方コンクリートと前記上方コンクリートの切替るラインとして設定することを特徴とする、異種コンクリートの切替り特定方法。
続きを表示(約 590 文字)
【請求項2】
前記所定高さには、前記2段階の引き上げ速度で引き上げられるそれぞれの分割高さが設定されており、
各分割高さのうち、各引き上げ速度で引き上げられる際の引き上げ力が安定している高さ範囲における引き上げ力の平均値を、各引き上げ速度の引き上げ力とすることを特徴とする、請求項1に記載の異種コンクリートの切替り特定方法。
【請求項3】
コンクリートの打設計画において設定されている、前記下方コンクリートの打設終了高さ、もしくは、前記上方コンクリートの打設開始高さ、もしくは、前記下方コンクリートと前記上方コンクリートが完全に切替ると設計している高さに基づき、前記ワイヤを引き上げて前記引き上げ力を測定する測定範囲を設定することを特徴とする、請求項1に記載の異種コンクリートの切替り特定方法。
【請求項4】
安定液で満たされた削孔内に鉄筋籠を建込み、該鉄筋籠の内部にトレミー管を挿入して、該削孔の下方からコンクリートが打設される場所打ちコンクリートの施工において、前記上方コンクリートの打設の際に、削孔の中央領域に比べて、前記鉄筋籠の側方のかぶり領域において前記下方コンクリートが競り上がってくる現象に着目し、この競り上がり量をさらに加味して、前記測定範囲を設定することを特徴とする、請求項3に記載の異種コンクリートの切替り特定方法。
発明の詳細な説明
【技術分野】
【0001】
本発明は、異種コンクリートの切替り特定方法に関する。
続きを表示(約 3,500 文字)
【背景技術】
【0002】
例えば地中におけるコンクリート構造物は、深度に応じてコンクリート構造物に生じる応力が異なり、例えば場所打ちコンクリート杭においては、一般に杭頭部ほど地震時の応力が大きくなることに鑑み、杭頭部において必要となる曲げ耐力やせん断耐力を確保できるコンクリート強度と断面寸法にて場所打ちコンクリート杭の全体の設計及び施工が行われている。
そのため、杭頭部において必要とされる設計耐力は、杭頭部以外の領域において実際には必要ないことから、杭頭部以外の多くの領域は過大な設計耐力を有した状態で施工されることになる。このように、最大応力が生じる領域を基準にコンクリート構造物の全体を設計及び施工することにより、コンクリート構造物全体の過大設計に基づく施工に繋がり、施工コストが徒らに高騰することから好ましくない。
【0003】
そこで、特許文献1には、杭体底部、杭体中間部、及び杭体頭部に向かってコンクリート中のセメント量を増加させ、応力に応じて場所ごとにセメント量が変化している場所打ちコンクリート杭が提案されている。
また、この場所打ちコンクリート杭の施工方法は、コンクリート打設時におけるトレミー管の既打設コンクリート中への管入長さを2m内外に維持し、杭体底部と杭体中間部との境の部分、および杭体中間部と杭体頭部との境の部分のそれぞれ2mほど下部より、コンクリートの調合を変化させる施工方法である。
この2mの管入長さは、先行打設されたコンクリートの高さから、後行打設されるコンクリートの打設面が2m程度上昇した段階で、セメント量の異なる後行打設のコンクリートに完全に切り替わるとした、経験則に基づく長さである。
【先行技術文献】
【特許文献】
【0004】
特開2006-16787号公報
【発明の概要】
【発明が解決しようとする課題】
【0005】
特許文献1に記載の施工方法により施工される場所打ちコンクリート杭によれば、深度に応じた耐力を有し、過大設計に基づく施工が解消された場所打ちコンクリート杭となる。
しかしながら、その施工管理において経験則から2mの管入長さを設定しているものの、場所打ちコンクリート杭の杭径やコンクリートの仕様等に応じて、下方コンクリートと上方コンクリートが完全に切替るタイミング(高さ)は様々に変化し得ることに鑑みると、経験則に基づく2mの管入長さを前提とした異種コンクリートの打設方法は、あらゆる場所打ちコンクリート杭等のコンクリート構造物に対して汎用的に適用できるとは言い難い。
従って、実際には、下方コンクリートから上方コンクリートへの切替りの高さを正確に特定するべく、原位置においてフレッシュコンクリートを採取して切替り位置を特定する方法や、コンクリートが硬化した後にコアボーリングを行ってコアを採取し、コアに対して圧縮試験を行うことで切替り位置を特定する方法などが必要となるが、このような試験には手間と時間を要する。
より具体的には、フレッシュコンクリートの採取により異種コンクリートの切替りを特定する方法では、複数深度での実際の試料採取が困難かつ煩雑であることに加えて、例えば削孔内を満たす安定液がフレッシュコンクリートに混入されることで、水セメント比等が変化し、下方コンクリートや上方コンクリートの配合推定ができなくなる恐れがある。
一方、コアを採取して圧縮試験を実施し、異種コンクリートの切替りを特定する方法では、コンクリート構造物そのものを痛めるとともにその補修が必要になる。
【0006】
本発明は、異種コンクリートを高さ方向に連続して打設する際に、異種コンクリートの切替りを精度よく特定することのできる、異種コンクリートの切替り特定方法を提供することを目的としている。
【課題を解決するための手段】
【0007】
前記目的を達成すべく、本発明による異種コンクリートの切替り特定方法の一態様は、
所定の高さまで下方コンクリートを打設した後、該下方コンクリートの上面よりも下方から該下方コンクリートとは異種の上方コンクリートを打設する際に、該下方コンクリートと該上方コンクリートとの切替りを特定する、異種コンクリートの切替り特定方法であって、
ワイヤに接続されている錘体を、前記下方コンクリートから前記上方コンクリートへ引き上げる前後の該ワイヤの引き上げ力が相違することに着目し、
コンクリートの実際の打設施工において、前記錘体に接続される前記ワイヤを、2段階の引き上げ速度で変化させながら所定高さ引き上げ、該所定高さの引き上げを繰り返し実行し、引き上げる際の引き上げ力を測定して測定データを取得し、
前記上方コンクリートと前記下方コンクリートをビンガム流体とした特性値である、降伏値と塑性粘度を前記測定データから算出し、
前記降伏値と前記塑性粘度を判別ラインに照合して前記切替りを特定し、
前記判別ラインを、
前記上方コンクリートと同種のコンクリートと、前記下方コンクリートと同種のコンクリートに対してそれぞれ、前記錘体の引き上げ速度を2段階の引き上げ速度で変化させながら所定高さ引き上げ、それぞれの引き上げ速度で引き上げた際の引き上げ力を測定して測定データを収集し、前記降伏値と前記塑性粘度を縦軸及び横軸とする座標系に対して複数の該測定データに基づく該降伏値及び該塑性粘度をプロットして分布図を作成し、該分布図において、前記下方コンクリートと前記上方コンクリートの切替るラインとして設定することを特徴とする。
【0008】
本態様によれば、ワイヤに接続されている錘体を下方コンクリートから上方コンクリートへ引き上げる前後のワイヤの引き上げ力が相違することに着目し、コンクリートの実際の打設施工において、錘体に接続されるワイヤを2段階の引き上げ速度で引き上げ、これを繰り返し実行し、引き上げ力に関する測定データを取得した後、上方コンクリートと下方コンクリートをビンガム流体とした特性値である、降伏値と塑性粘度を測定データから算出して、降伏値と塑性粘度を判別ラインに照合して切替りを特定するものとし、この際に適用される判別ラインを、打設施工の際と同種の上方コンクリート及び下方コンクリートに対して2段階の引き上げ速度(コンクリートの実際の打設施工と同じ2段階の引き上げ速度でもよいし、実際の打設施工とは異なる2段階の引き上げ速度でもよい)で変化させながら錘体を所定高さ引き上げて引き上げ力に関する測定データ取得し、降伏値と塑性粘度を縦軸及び横軸とする座標系に対して複数の測定データに基づく降伏値及び塑性粘度をプロットして作成した分布図において、下方コンクリートと上方コンクリートの切替るラインとして設定することにより、異種コンクリートの切替り位置を高い精度でリアルタイムに特定することが可能になる。また、このことにより、切替り位置に関する定量的なエビデンスを取得することが可能になる。すなわち、特定される「切替り」とは、定性的な文字通りの切替りの他に、定量的な切替り位置や切替り深度のことを意味している。
【0009】
ここで、「2段階の引き上げ速度」とは、例えば100mm/秒以上の高速と、数mm/秒程度の低速といった具合に、速度差の大きな2段階の引き上げ速度を意味しており、本発明者等による検証結果に基づき、高強度コンクリートと普通コンクリートともに、高速と低速の双方の引き上げ速度による引き上げの際にそれぞれある程度固有の引き上げ力が特定されることに依拠している。
【0010】
ここで、「異種コンクリート」とは、相互にFc(設計基準強度)の異なるコンクリートで、例えば、Fc36超の高強度コンクリートとFc36以下の普通コンクリート、普通コンクリートの中でも設計基準強度が相互に異なるコンクリート、混和剤等の添加量の相違や添加の有無、粗骨材量や細骨材量、水セメント比等の相違により、性能や強度が様々に異なる、普通コンクリートと流動化コンクリート(高流動コンクリートを含む)、マスコンクリート、水密コンクリートといった様々な異種コンクリートの組合せが含まれる。
(【0011】以降は省略されています)
この特許をJ-PlatPat(特許庁公式サイト)で参照する
関連特許
大成建設株式会社
木質複合構造
23日前
大成建設株式会社
ペレット製造装置
10日前
大成建設株式会社
摩擦制振ダンパー
17日前
大成建設株式会社
既存建物の解体方法
9日前
大成建設株式会社
木材性状推定システム
4日前
大成建設株式会社
床版接合部の設計方法
13日前
大成建設株式会社
杭の施工方法および杭
13日前
大成建設株式会社
浚渫用施設および浚渫方法
1か月前
大成建設株式会社
木材縦弾性係数推定システム
4日前
大成建設株式会社
免震基礎構造およびその構築方法
2日前
大成建設株式会社
地下水排水構造と地下水排水方法
9日前
大成建設株式会社
異種コンクリートの切替り特定方法
9日前
大成建設株式会社
到達立坑における掘進機の回収方法
13日前
大成建設株式会社
水槽構造物および水槽構造物の施工方法
1か月前
大成建設株式会社
凍結地盤の掘削土の排土装置と排土方法
9日前
大成建設株式会社
既設トンネルの坑口補強構造と坑口補強方法
9日前
大成建設株式会社
吊荷向き制御システムおよびブレード設置方法
24日前
大成建設株式会社
既設トンネルと分岐トンネルの接合構造と接合方法
9日前
大成建設株式会社
上下の既設トンネルを繋ぐ接合トンネルとその施工方法
9日前
大成建設株式会社
上面増厚床版の非破壊評価方法及び非破壊評価システム
10日前
大成建設株式会社
鋼管により形成される立坑の坑口補強構造と坑口補強方法
13日前
大成建設株式会社
作業環境監視システム及び作業環境監視システムの監視方法
10日前
大成建設株式会社
遊離脂肪酸の分離方法および遊離脂肪酸生産微生物の培養方法
11日前
大成建設株式会社
接触回避システム
1か月前
大成建設株式会社
半潜水浮体式基礎
9日前
大成建設株式会社
塔体の建て起こし装置
12日前
大成建設株式会社
分岐トンネル施工用の発進設備と、分岐トンネル施工用の掘進機の発進方法
13日前
株式会社カネカ
状態改善システム、状態改善方法、状態改善装置、状態改善プログラム
17日前
大成建設株式会社
耐硫酸性グラウト組成物、耐硫酸性モルタル組成物、耐硫酸性コンクリート組成物、およびこれらの製造方法
3日前
個人
鋼管
24日前
FKS株式会社
擁壁
13日前
鈴健興業株式会社
敷板部材
9日前
株式会社クボタ
作業車
11日前
株式会社奥村組
ケーソン工法
16日前
株式会社クボタ
作業車
11日前
株式会社ネクステリア
平板基礎
9日前
続きを見る
他の特許を見る