TOP
|
特許
|
意匠
|
商標
特許ウォッチ
Twitter
他の特許を見る
10個以上の画像は省略されています。
公開番号
2025138061
公報種別
公開特許公報(A)
公開日
2025-09-25
出願番号
2024036810
出願日
2024-03-11
発明の名称
摩擦制振ダンパー
出願人
大成建設株式会社
代理人
園田・小林弁理士法人
主分類
F16F
15/02 20060101AFI20250917BHJP(機械要素または単位;機械または装置の効果的機能を生じ維持するための一般的手段)
要約
【課題】コンパクトとしつつも、高い減衰力をもつ摩擦制振ダンパーを提供する。
【解決手段】摩擦制振ダンパー10は、一端10aと他端10bが建物の異なる部分に接合され、当該異なる部分間の相対移動を減衰させて建物の揺れを低減させるものであり、一端側に設けられる第1板体11と、他端側に設けられ第1板体11を挟み込むように、第1板体11に対して相対移動可能に設けられた、一対の第2板体21と、一対の第2板体21の各々を、第1板体11との間で挟み込むように、第1板体11に対して相対移動不能に設けられた、一対の第3板体31と、を備え、一対の第2板体21の表面と、対向する第1板体11及び一対の第3板体31の表面の間の各々において、摩擦材40とすべり材50が互いに圧接されるように、一対の第3板体31間に押圧力を作用させる、押圧機構60を更に備え、第1板体11と第3板体31の間で、2面の摩擦面が形成されている。
【選択図】図5
特許請求の範囲
【請求項1】
一端と他端がそれぞれ建物の異なる部分に接合され、当該異なる部分間の相対移動を減衰させて前記建物の揺れを低減させる、摩擦制振ダンパーであって、
前記一端の側に設けられ、前記他端に向けて延伸して設けられる第1板体と、
前記他端の側に設けられ、前記一端に向けて延伸して、前記第1板体を挟み込むように、前記第1板体に対して相対移動可能に設けられた、一対の第2板体と、
一対の前記第2板体の各々を、前記第1板体との間で挟み込むように、前記第1板体に対して相対移動不能に設けられた、一対の第3板体と、
を備え、
一対の前記第2板体の表面と、当該表面に対向する前記第1板体及び一対の前記第3板体の表面の間の各々において、いずれか一方の前記表面には摩擦材が、他方の前記表面にはすべり材が、それぞれ接合され、
前記摩擦材と前記すべり材が互いに圧接されるように、一対の前記第3板体間に押圧力を作用させる、押圧機構を更に備え、
一対の前記第2板体の各々において、当該第2板体を挟んで設けられる前記第1板体と前記第3板体の間で、2面の摩擦面が形成されている
ことを特徴とする摩擦制振ダンパー。
続きを表示(約 470 文字)
【請求項2】
一対の前記第2板体の間で、前記一端と前記他端とを結ぶ軸線方向に直交する幅方向の各々において、前記軸線方向に延在する端辺どうしを連結するように、一対の前記第2板体の各々に接合して設けられた、一対の第2板体連結板と、
一対の前記第3板体の間で、前記幅方向の各々において、前記軸線方向に延在する端辺どうしを連結するように、一対の前記第3板体の各々に接合して設けられた、一対の第3板体連結板と、
を更に備えることを特徴とする請求項1に記載の摩擦制振ダンパー。
【請求項3】
前記一端と前記他端がそれぞれ、前記建物を構成する柱梁架構の内側に接合されることで、ブレースとして配置されているか、または、
前記建物が上部躯体、下部躯体、及び前記上部躯体と前記下部躯体の間に位置する免震層を備え、前記一端が、前記上部躯体と前記下部躯体のいずれか一方に、前記他端が前記上部躯体と前記下部躯体の他方に、それぞれピン接合されている
ことを特徴とする請求項1または2に記載の摩擦制振ダンパー。
発明の詳細な説明
【技術分野】
【0001】
本発明は、摩擦制振ダンパーに関する。
続きを表示(約 5,200 文字)
【背景技術】
【0002】
建物においては、地震や強風により生じる揺れを減衰、低減するために、摩擦制振ダンパーが広く用いられている。
【0003】
これに関し、例えば特許文献1には、水平架構側の第1圧接板と、下方構造体側の第2圧接板とを重合して、両圧接板間に相対移動を可能にしてボルト軸力が付加されるとともに、対をなす摩擦板と滑動板とが挟み込まれて構成される、摩擦ダンパーが記載されている。特許文献1の摩擦ダンパーは、特定階を形成する水平架構側の梁架構から垂下される上方柱部と、上方柱部の下方に位置して同階を形成する基礎側の梁架構から立設される下方柱部との間に設けられている。上方柱部のウェブが、第1圧接板をなしている。また、第2圧接板は、下方柱部のウェブと、第1圧接板を挟むように、2枚が設けられている。
また、特許文献2には、下部構造物に固定したベースプレートに中央板が起立状態で取り付けられ、その中央板の両側に摩擦材、滑り板、摩擦材、押え板及び皿ばねが順次重ねられ、ルーズホールが設けられた滑り板が中央板と押え板に対して横移動可能な状態でこれらが滑り板のルーズホールを通るボルトによって締め付けられ、押え板と中央板の相対的な水平変位はこのボルトのみにより拘束されており、上部構造物に固定されたベースプレート上にガセットプレートが起立状態で取り付けられ、そのガセットプレートに滑り板の上端部が連結されている、摩擦ダンパーが記載されている。特許文献2においては、1枚の中央板に対し、一対の滑り板が設けられた構成が開示されている。
更に、特許文献3には、相対移動したときの摩擦力により制振作用を得る第1及び第2の板体と、これら第1及び第2の板体を、互いに接近させる方向に締結する締結部材と、該締結部材と第1又は第2の板体の間に介装され、該締結部材の押圧力を前記第1又は第2の板体に伝達する、第1及び第2の支圧板とを備え、前記第1又は第2の支圧板の対向する面の一方に、前記相対移動する方向に延びる凸条を備える、摩擦ダンパーが記載されている。特許文献3において、第1及び第2の板体は、滑り板と摩擦板である。特許文献3においては、1枚の中板を、一対の添板が挟み込むように設けられ、これら中板と添板の間に、第1及び第2の板体が設けられた構成が開示されている。
【0004】
摩擦制振ダンパーにおいては、コンパクトな構成としつつも、減衰力をより高いものとすることが、望まれている。
【先行技術文献】
【特許文献】
【0005】
特開2001-173264号公報
特開2009-68668号公報
特許第6437328号公報
【発明の概要】
【発明が解決しようとする課題】
【0006】
本発明が解決しようとする課題は、コンパクトな構成としつつも、減衰力を高いものとすることが可能な、摩擦制振ダンパーを提供することである。
【課題を解決するための手段】
【0007】
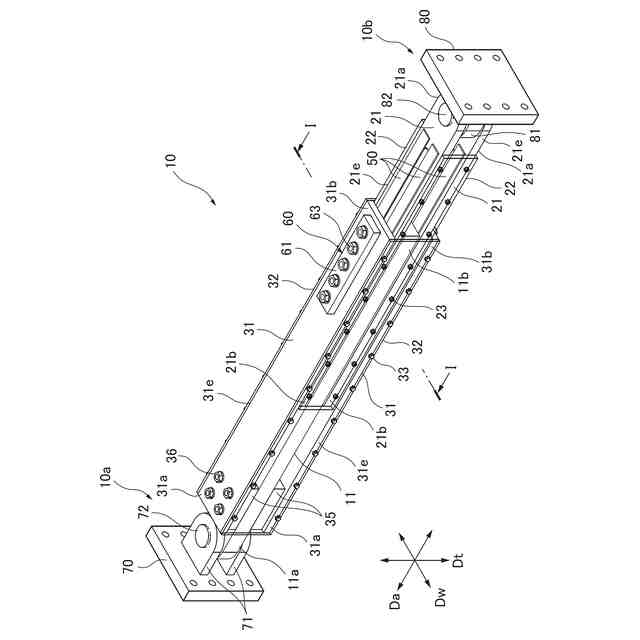
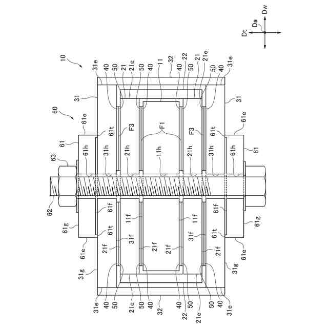
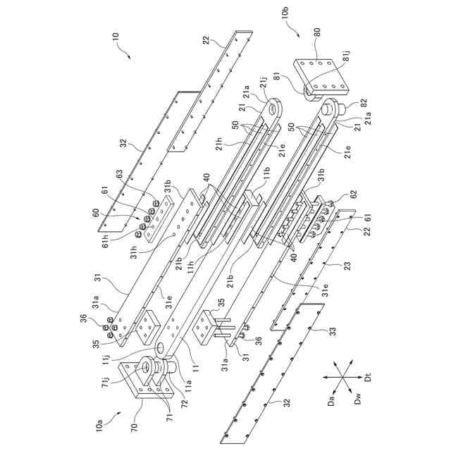
本発明は、上記課題を解決するため、以下の手段を採用する。すなわち、本発明は、一端と他端がそれぞれ建物の異なる部分に接合され、当該異なる部分間の相対移動を減衰させて前記建物の揺れを低減させる、摩擦制振ダンパーであって、前記一端の側に設けられ、前記他端に向けて延伸して設けられる第1板体と、前記他端の側に設けられ、前記一端に向けて延伸して、前記第1板体を挟み込むように、前記第1板体に対して相対移動可能に設けられた、一対の第2板体と、一対の前記第2板体の各々を、前記第1板体との間で挟み込むように、前記第1板体に対して相対移動不能に設けられた、一対の第3板体と、を備え、一対の前記第2板体の表面と、当該表面に対向する前記第1板体及び一対の前記第3板体の表面の間の各々において、いずれか一方の前記表面には摩擦材が、他方の前記表面にはすべり材が、それぞれ接合され、前記摩擦材と前記すべり材が互いに圧接されるように、一対の前記第3板体間に押圧力を作用させる、押圧機構を更に備え、一対の前記第2板体の各々において、当該第2板体を挟んで設けられる前記第1板体と前記第3板体の間で、2面の摩擦面が形成されていることを特徴とする、摩擦制振ダンパーを提供する。
上記のような構成によれば、摩擦制振ダンパーの一端の側には、他端に向けて延伸するように、第1板体が設けられている。また、摩擦制振ダンパーの他端の側には、一端に向けて延伸するように、第2板体が設けられている。第2板体は、第1板体を挟み込むように、一対が設けられている。更に、この一対の第2板体の各々を、第1板体との間で挟み込むように、一対の第3板体が設けられている。そして、一対の第2板体の表面と、当該表面に対向する第1板体及び一対の第3板体の表面の間の各々において、いずれか一方の表面には摩擦材が、他方の表面にはすべり材が、それぞれ接合されており、これらの摩擦材とすべり材が互いに圧接されるように、押圧機構によって、一対の第3板体間に押圧力が作用せしめられている。これにより、第2板体と、第1板体及び第3板体との間の各々で、摩擦面が形成されている。
ここで、摩擦制振ダンパーの他端の側に設けられた一対の第2板体は、一端の側に設けられた第1板体に対し、相対移動可能に設けられている。また、一対の第3板体は、第1板体に対して相対移動不能に設けられているため、一対の第2板体は、一対の第3板体に対しても、相対移動可能な状態となる。このような摩擦制振ダンパーが、一端と他端がそれぞれ建物の異なる部分に接合されて設けられた状態で、建物に揺れが生じ、建物の、一端が設けられた部分と他端が設けられた部分とが相対移動しようとした場合においては、一端と共に第1板体と一対の第3板体が、他端と共に一対の第2板体が、それぞれ移動しようとすることによって、第1板体及び一対の第3板体と、一対の第2板体とが、互いに相対移動しようとする。このとき、この相対移動しようとする力が、これらの板体の間に上記のようにして形成された各摩擦面に生じる摩擦力よりも小さければ、相対移動は許容されない。また、相対移動しようとする力が摩擦力よりも大きければ、一対の第2板体の表面と、当該表面に対向する第1板体及び一対の第3板体の表面の間の各々に設けられた、摩擦材とすべり材が摺動することで、相対移動が許容され、これと共に、摩擦力によって振動エネルギーが吸収されて、建物の揺れが減衰される。
上記のような摩擦制振ダンパーにおいては、一対の第2板体の各々において、当該第2板体を挟んで設けられる第1板体と第3板体の間で、2面の摩擦面が形成されている。このため、摩擦制振ダンパー全体としては、4面の摩擦面を有する構成となる。したがって、摩擦制振ダンパー全体において、板体間に生じる摩擦力の総量を、例えば従来の、2面の摩擦面を有する構成を用いた場合よりも、より強いものとすることが可能となり、減衰力をより高いものとすることができる。
また、上記のような摩擦制振ダンパーは、基本的に、複数の板体を積層し、これを押圧機構によって互いに押圧するように構成することで、実現することができる。したがって、コンパクトな構成とすることができる。特に、上記のように、本摩擦制振ダンパーは、4面の摩擦面を有する構成によって、減衰力を高いものとすることができる。このため、例えば従来の、2面の摩擦面を有する構成を用いた場合と同じ減衰力を、より小さくコンパクトに、実現することができる。
このようにして、コンパクトな構成としつつも、減衰力を高いものとすることが可能な、摩擦制振ダンパーを提供することができる。
【0008】
本発明の一態様においては、摩擦制振ダンパーは、一対の前記第2板体の間で、前記一端と前記他端とを結ぶ軸線方向に直交する幅方向の各々において、前記軸線方向に延在する端辺どうしを連結するように、一対の前記第2板体の各々に接合して設けられた、一対の第2板体連結板と、一対の前記第3板体の間で、前記幅方向の各々において、前記軸線方向に延在する端辺どうしを連結するように、一対の前記第3板体の各々に接合して設けられた、一対の第3板体連結板と、を更に備える。
上記のような構成によれば、摩擦制振ダンパーは、一対の第2板体の間で、一端と他端とを結ぶ軸線方向に直交する幅方向の各々において、軸線方向に延在する端辺どうしを連結するように、一対の第2板体の各々に接合して設けられた、一対の第2板体連結板を備えている。また、摩擦制振ダンパーは、一対の第3板体の間で、幅方向の各々において、軸線方向に延在する端辺どうしを連結するように、一対の第3板体の各々に接合して設けられた、一対の第3板体連結板を備えている。これにより、摩擦制振ダンパーを、軸線方向から視たときには、第1板体は、一対の第2板体と、一対の第2板体連結板により、その周囲を外側から、矩形状に囲繞され、なおかつ、第1板体と一対の第2板体は、一対の第3板体と、一対の第3板体連結板により、その周囲を更に外側から、矩形状に囲繞された構成となっている。このような構成により、第1板体及び一対の第3板体と、一対の第2板体との、軸線方向とは異なる方向への相対移動が抑制され、相対移動の方向が、軸線方向に沿ったものとなる。このため、建物に揺れが生じ、建物の、一端が設けられた部分と他端が設けられた部分とが相対移動して、第1板体及び一対の第3板体と、一対の第2板体とが相対移動する場合において、一対の第2板体の表面と、第1板体及び一対の第3板体の表面とが対向する状態が維持され、これら表面の間の各々に接合された、摩擦材とすべり材とが、押圧機構によって圧接された状態が維持される。したがって、摩擦制振ダンパーが、安定して、建物の揺れを減衰させることができる。
また、一対の第2板体は、一対の第2板体連結板によって、軸線方向に延在する端辺どうしが連結されているため、一対の第2板体と、一対の第2板体連結板により、軸線方向から視たときに中空矩形断面が形成され、第2板体は第2板体連結板により拘束された状態となっている。このため、摩擦材とすべり材の間に生じる摩擦力により、第2板体に軸線方向に圧縮力が作用した場合に、一対の第2板体が座屈しようとしても、これは一対の第2板体連結板により抑制される。同様に、一対の第3板体は、一対の第3板体連結板によって、軸線方向に延在する端辺どうしが連結されているため、一対の第3板体と、一対の第3板体連結板により、軸線方向から視たときに中空矩形断面が形成され、第3板体は第3板体連結板により拘束された状態となっている。このため、一対の第3板体が座屈しようとしても、これは一対の第3板体連結板により抑制される。
上記のように、一対の第2板体、及び一対の第3板体の座屈が効率的に抑制されるため、これら一対の第2板体、及び一対の第3板体の厚さを、薄くすることが可能である。したがって、摩擦制振ダンパーを、更にコンパクトなものとすることができる。
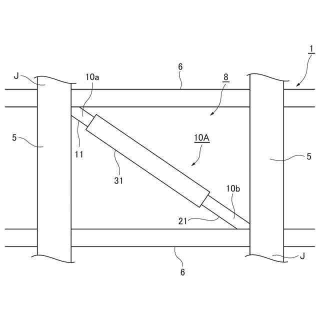
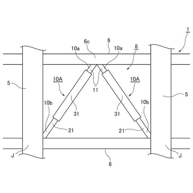
【0009】
本発明の別の態様においては、前記一端と前記他端がそれぞれ、前記建物を構成する柱梁架構の内側に接合されることで、ブレースとして配置されているか、または、前記建物が上部躯体、下部躯体、及び前記上部躯体と前記下部躯体の間に位置する免震層を備え、前記一端が、前記上部躯体と前記下部躯体のいずれか一方に、前記他端が前記上部躯体と前記下部躯体の他方に、それぞれピン接合されている。
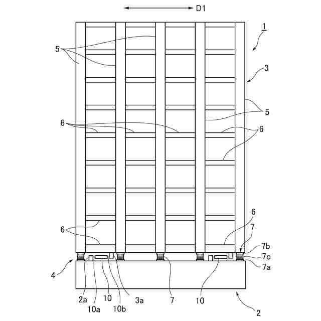
上記のような構成によれば、摩擦制振ダンパーが、一端と他端がそれぞれ、建物を構成する柱梁架構の内側に接合されることで、ブレースとして配置されている場合には、摩擦制振ダンパーを、制振ブレースとして使用することができる。
また、建物が上部躯体、下部躯体、及び上部躯体と下部躯体の間に位置する免震層を備え、摩擦制振ダンパーが、一端が、上部躯体と下部躯体のいずれか一方に、他端が上部躯体と下部躯体の他方に、それぞれピン接合されている場合には、摩擦制振ダンパーを、免震層において、上部躯体の揺れを減衰せしめるダンパーとして使用することができる。
【発明の効果】
【0010】
本発明によれば、コンパクトな構成としつつも、減衰力を高いものとすることが可能な、摩擦制振ダンパーを提供することができる。
【図面の簡単な説明】
(【0011】以降は省略されています)
この特許をJ-PlatPat(特許庁公式サイト)で参照する
関連特許
大成建設株式会社
推定方法
3日前
大成建設株式会社
木質複合構造
1か月前
大成建設株式会社
ペレット製造装置
24日前
大成建設株式会社
摩擦制振ダンパー
1か月前
大成建設株式会社
既存建物の解体方法
23日前
大成建設株式会社
杭の施工方法および杭
27日前
大成建設株式会社
床版接合部の設計方法
27日前
大成建設株式会社
木材性状推定システム
18日前
大成建設株式会社
浚渫用施設および浚渫方法
1か月前
大成建設株式会社
足場装置および足場構築方法
4日前
大成建設株式会社
木材縦弾性係数推定システム
18日前
大成建設株式会社
土壌改良剤、及び土壌改良方法
12日前
大成建設株式会社
免震基礎構造およびその構築方法
16日前
大成建設株式会社
地下水排水構造と地下水排水方法
23日前
大成建設株式会社
単杭の極限先端支持力度の評価方法
9日前
大成建設株式会社
到達立坑における掘進機の回収方法
27日前
大成建設株式会社
異種コンクリートの切替り特定方法
23日前
大成建設株式会社
水槽構造物および水槽構造物の施工方法
1か月前
大成建設株式会社
凍結地盤の掘削土の排土装置と排土方法
23日前
大成建設株式会社
シールド到達構造およびシールド到達方法
1か月前
大成建設株式会社
内空変位計測システム及び内空変位計測方法
2日前
大成建設株式会社
既設トンネルの坑口補強構造と坑口補強方法
23日前
大成建設株式会社
吊荷向き制御システムおよびブレード設置方法
1か月前
大成建設株式会社
水中不分離性モルタル組成物、及び、その部材
1か月前
大成建設株式会社
消音設計支援システム、防振設計支援システム
2日前
大成建設株式会社
既設トンネルと分岐トンネルの接合構造と接合方法
23日前
大成建設株式会社
上下の既設トンネルを繋ぐ接合トンネルとその施工方法
23日前
大成建設株式会社
上面増厚床版の非破壊評価方法及び非破壊評価システム
24日前
大成建設株式会社
鋼管により形成される立坑の坑口補強構造と坑口補強方法
27日前
大成建設株式会社
インバート変位計測システムおよびインバート変位計測方法
3日前
大成建設株式会社
作業環境監視システム及び作業環境監視システムの監視方法
24日前
大成建設株式会社
遊離脂肪酸の分離方法および遊離脂肪酸生産微生物の培養方法
25日前
大成建設株式会社
積層体部材、構造体、積層体部材を用いて構造体を構築する方法
2日前
大成建設株式会社
半潜水浮体式基礎
23日前
大成建設株式会社
接触回避システム
1か月前
大成建設株式会社
塔体の建て起こし装置
26日前
続きを見る
他の特許を見る