TOP
|
特許
|
意匠
|
商標
特許ウォッチ
Twitter
他の特許を見る
公開番号
2025147046
公報種別
公開特許公報(A)
公開日
2025-10-03
出願番号
2025130418,2022094076
出願日
2025-08-05,2022-06-10
発明の名称
半潜水浮体式基礎
出願人
大成建設株式会社
代理人
弁理士法人磯野国際特許商標事務所
主分類
F03D
13/25 20160101AFI20250926BHJP(液体用機械または機関;風力原動機,ばね原動機,重力原動機;他類に属さない機械動力または反動推進力を発生するもの)
要約
【課題】軽量化を可能とし、かつ、比較的簡易に構築することが可能な半潜水浮体式基礎を提案する。
【解決手段】風車11の支柱12を支持するセンターカラム3と、センターカラム3を中心に間隔をあけて配設された3本のサイドカラム4,4,4と、センターカラム3とサイドカラム4とを接続するビーム5とを備える風力発電施設の半潜水浮体式基礎2である。センターカラム3は、鋼製のスラブ31と、スラブ31から立設された円筒状の本体部32とを備えている。スラブ31は、底面に設けられたスラブ用底鋼板33と、上面に設けられたスラブ用上鋼板34とを備えている。本体部32は、プレストレスコンクリート製であり、かつ、スラブ用上鋼板34を貫通しており、本体部32の下端がスラブ用底鋼板33に当接している。
【選択図】図3
特許請求の範囲
【請求項1】
風車の支柱を支持するセンターカラムと、
前記センターカラムを中心に間隔をあけて配設された複数のサイドカラムと、
前記センターカラムと前記サイドカラムとを接続するビームと、を備える風力発電施設の半潜水浮体式基礎であって、
前記センターカラムは、鋼製のスラブと、前記スラブに立設された円筒状の本体部と、を備えており、
前記スラブは、底面に設けられたスラブ用底鋼板と、上面に設けられたスラブ用上鋼板と、を備えており、
前記本体部は、プレストレスコンクリート製であり、かつ、前記スラブ用上鋼板を貫通しており、前記本体部の下端が前記スラブ用底鋼板に当接していることを特徴とする、半潜水浮体式基礎。
続きを表示(約 150 文字)
【請求項2】
前記本体部と前記スラブ用底鋼板との角部および前記本体部と前記スラブ用上鋼板との角部にそれぞれ鋼板からなる骨部材が立設されていて、
前記本体部の周壁には、前記周壁を挟んで対向する前記骨部材同士を繋ぐ鋼製のつなぎ材が配設されていることを特徴とする、請求項1に記載の半潜水浮体式基礎。
発明の詳細な説明
【技術分野】
【0001】
本発明は、水上風力発電施設の半潜水浮体式基礎に関する。
続きを表示(約 3,700 文字)
【背景技術】
【0002】
温室効果ガスの排出量削減を目的として、再生可能エネルギーの需要が高まっている。再生可能エネルギーには、例えば、太陽光発電、風力発電、水力発電、地熱発電、バイオマス等がある。風力発電施設は、風車による騒音や振動が生活環境に影響を及ぼす場合があり、居住空間等への影響を十分に考慮する必要があることから、居住区域から離れた山間部などに設置されることが多い。しかしながら、大型の風車を設置する用地を山間部に確保することは難しく、また、風力発電施設までの交通路の確保や、送電線等の設置等も困難であった。そのため、風力発電施設を海上(水上)に設置することが検討されている。
水上に構造物を構築する場合において、基礎構造として浮体構造物を採用する場合がある。浮体基礎構造としては、セミサブマージブル型、スパー型、バージ型、TLP型等がある。このうち、セミサブマージブル型基礎(半潜水浮体式基礎)は、センターカラムと、センターカラムの周囲に間隔をあけて配設された複数本のサイドカラムと、センターカラムとサイドカラムとを連結するビームとを備えてなり、波や風に対して優れた安定性能を有していることから、比較的実績が多い。
半潜水浮体式基礎は、鋼製部材を主体に構成されることが多い。一方、半潜水浮体式基礎をコンクリートにより構築すれば、コストダウンを図ることができる。例えば、特許文献1には、主な構造要素をコンクリート製とした半潜水浮体式基礎が開示されている。
水上風力発電施設の施工コストを削減することを目的として、半潜水浮体式基礎を浮かせた状態で岸壁に係留して、風車を岸壁上のクレーンにより設置する場合がある。この場合、吃水を岸壁の水深よりも小さくする必要がある。また、半潜水浮体式基礎は、バラストを配置することで、波や風による動揺を効果的に制限できるような吃水に調整する。
コンクリートは、鋼材に比べて自重が大きいため、半潜水浮体式基礎の主な構造要素をコンクリート製にすると、浮力を与える部位を大きくする必要があり、その結果、コンクリート数量が増えてしまう。
【先行技術文献】
【特許文献】
【0003】
特表2015-513046号公報
【発明の概要】
【発明が解決しようとする課題】
【0004】
本発明は、軽量化を可能とし、かつ、比較的簡易に構築することが可能な半潜水浮体式基礎を提案することを課題とする。
【課題を解決するための手段】
【0005】
前記課題を解決するための本発明は、風車の支柱を支持するセンターカラムと、前記センターカラムを中心に間隔をあけて配設された複数のサイドカラムと、前記センターカラムと前記サイドカラムとを接続するビームとを備える風力発電施設用の半潜水浮体式基礎である。前記センターカラムは、鋼製のスラブと、前記スラブに立設された円筒状の本体部とを備えている。前記スラブは、底面に設けられたスラブ用底鋼板と、上面に設けられたスラブ用上鋼板とを備えている。前記本体部は、プレストレスコンクリート製であり、かつ、前記スラブ用上鋼板を貫通しており、前記本体部の下端が前記スラブ用底鋼板に当接している。なお、前記本体部と前記スラブ用底鋼板との角部および前記本体部と前記スラブ用上鋼板との角部にそれぞれ鋼板からなる骨部材が立設されていて、前記本体部の周壁には、前記周壁を挟んで対向する前記骨部材同士を繋ぐ鋼製のつなぎ材が配設されているのが望ましい。
かかる半潜水浮体式基礎によれば、センターカラムの少なくとも一部を鋼製にすることで、全てをコンクリート製にする場合比べて軽量化が可能になるとともに、コンクリート数量の低減も可能となる。また、センターカラムの本体部がコンクリート製であっても、本体部と底鋼板および上鋼板との連続化(一体化)が図られるため、終局限界状態や疲労限界状態において所要の強度が得られる。
【発明の効果】
【0006】
本発明の半潜水浮体式基礎によれば、比較的簡易に構築することができ、ひいては、工期短縮化および費用の低減化を図ることができる。また、軽量化により必要最小限の大きさで所望の浮力を確保できる。
【図面の簡単な説明】
【0007】
本発明の実施形態に係る洋上風力発電施設を示す斜視図である。
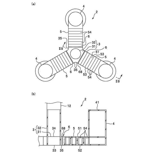
本発明の実施形態に係る半潜水浮体式基礎を示す図であって、(a)は平面図、(b)は(a)のIIB断面図である。
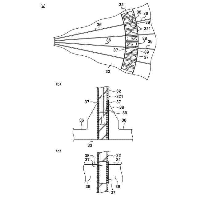
センターカラムの一部を示す図であって、(a)は本体部とスラブ用底鋼板との接合構造を示す断面図、(b)は本体部とスラブ用底鋼板との接合構造を示す縦断図、(c)は本体部とスラブ用上鋼板との接合構造を示す縦断図である。
複合プレキャストセグメントを示す図であって、(a)は縦断図、(b)は(a)のIVB断面図である。
半潜水浮体式基礎の構築方法を示すフローチャートである。
【発明を実施するための形態】
【0008】
本実施形態では、洋上風力発電施設(水上施設)1の基礎構造(半潜水浮体式基礎2)について説明する。図1は、洋上風力発電施設1の斜視図である。図1に示すように、洋上風力発電施設1は、風車11と、風車11を支持する支柱12とを有していて、半潜水浮体式基礎2を介して水面よりも高い位置に設けられている。風車11は、支柱12の上端部に回転可能に設けられている。支柱12は、半潜水浮体式基礎2上に立設されている。
半潜水浮体式基礎2は、風車11の支柱12を支持するセンターカラム3と、センターカラム3を中心に間隔をあけて配設された3本のサイドカラム4,4,4と、センターカラム3とサイドカラム4とを接続するビーム5,5,5とを備えている。
【0009】
図2に半潜水浮体式基礎2を示す。センターカラム3は、図2(a)および(b)に示すように、スラブ31と、スラブ31に立設された円筒状の本体部32とを備えている。
スラブ31は、鋼板を組み合わせることにより形成されており、底面に設けられたスラブ用底鋼板33と、上面に設けられたスラブ用上鋼板34とを備えている。スラブ31は、本体部32の外形よりも十分に大きな外形を有している。また、スラブ31は、ビーム5に向けて突出したビーム接合部35を有している。ビーム接合部35は、ビーム5と同等の外形(本実施形態では角筒状)を呈した鋼材により構成されている。
図2(b)に示すように、本体部32は、スラブ用上鋼板34の中央部を貫通しており、本体部32の下端は、スラブ用底鋼板33に当接している。図3に本体部32の一部を示す。本体部32は、プレストレスコンクリート製であり、図3(a)に示すように、厚さ方向中央部にPC鋼材(カラム用緊張材321)が設けられている。カラム用緊張材321は、本体部32の上下方向に配置されている。
図3(b)に示すように、本体部32とスラブ用底鋼板33との角部には、鋼板からなる骨部材36が立設されている。また、図3(c)に示すように、本体部32とスラブ用上鋼板34との角部にも鋼板からなる骨部材36が立設されている。骨部材36は、図3(a)に示すように、本体部32の周方向に間隔をあけて複数設けられている。本体部32の外面および内面には、骨部材36の位置に対応して、鋼製の筒体37が周設されている。骨部材36は、筒体37に固定(溶接)されている。
図3(b)および(c)に示すように、本体部32の周壁には、鋼製の鉛直つなぎ材38が配設されている。図3(b)に示すように、スラブ用底鋼板33の上側に配置された鉛直つなぎ材38は、本体部32とスラブ用底鋼板33との角部に配置されており、周壁を挟んで対向する骨部材36同士を繋いでいる。図3(c)に示すように、スラブ用上鋼板34の下側に配置された鉛直つなぎ材38は、本体部32とスラブ用上鋼板34との角部に配置されており、周壁を挟んで対向する骨部材36同士を繋いでいる。鉛直つなぎ材38の両端は、骨部材36の位置に対応して、筒体37に固定(溶接)されている。また、図3(b)に示すように、スラブ用底鋼板33の上に設けられた骨部材36同士を繋ぐ鉛直つなぎ材38の下端には、水平つなぎ材39が固定されている。
【0010】
サイドカラム4は、図2(a)に示すように、センターカラム3の周囲に3本配設されている。隣り合うサイドカラム4同士の間隔は同一である。サイドカラム4は、ビーム5を介してセンターカラム3に連結されている。
図2(a)および(b)に示すように、サイドカラム4は、円柱状を呈している。サイドカラム4は、コンクリート製で、サイドカラム4の上端は、天板41により遮蔽されている。
(【0011】以降は省略されています)
この特許をJ-PlatPat(特許庁公式サイト)で参照する
関連特許
大成建設株式会社
推定方法
1か月前
大成建設株式会社
木質複合構造
2か月前
大成建設株式会社
風洞実験装置
12日前
大成建設株式会社
地盤計測システム
15日前
大成建設株式会社
ペレット製造装置
1か月前
大成建設株式会社
摩擦制振ダンパー
1か月前
大成建設株式会社
既存建物の解体方法
1か月前
大成建設株式会社
床版接合部の設計方法
1か月前
大成建設株式会社
杭の施工方法および杭
1か月前
大成建設株式会社
木材性状推定システム
1か月前
大成建設株式会社
足場装置および足場構築方法
1か月前
大成建設株式会社
木材縦弾性係数推定システム
1か月前
大成建設株式会社
電力供給装置及び電力供給方法
15日前
大成建設株式会社
仮設鋼床版および床版取替工法
18日前
大成建設株式会社
土壌改良剤、及び土壌改良方法
1か月前
大成建設株式会社
地下水排水構造と地下水排水方法
1か月前
大成建設株式会社
免震基礎構造およびその構築方法
1か月前
大成建設株式会社
到達立坑における掘進機の回収方法
1か月前
大成建設株式会社
異種コンクリートの切替り特定方法
1か月前
大成建設株式会社
単杭の極限先端支持力度の評価方法
1か月前
大成建設株式会社
風力発電方法および風力発電システム
2日前
大成建設株式会社
凍結地盤の掘削土の排土装置と排土方法
1か月前
大成建設株式会社
既設トンネルの坑口補強構造と坑口補強方法
1か月前
大成建設株式会社
内空変位計測システム及び内空変位計測方法
29日前
大成建設株式会社
吊荷向き制御システムおよびブレード設置方法
2か月前
大成建設株式会社
消音設計支援システム、防振設計支援システム
29日前
大成建設株式会社
既設トンネルと分岐トンネルの接合構造と接合方法
1か月前
大成建設株式会社
上面増厚床版の非破壊評価方法及び非破壊評価システム
1か月前
大成建設株式会社
木質構造部材の補強構造、及び木質構造部材の補強方法
17日前
大成建設株式会社
上下の既設トンネルを繋ぐ接合トンネルとその施工方法
1か月前
大成建設株式会社
鋼管により形成される立坑の坑口補強構造と坑口補強方法
1か月前
大成建設株式会社
インバート変位計測システムおよびインバート変位計測方法
1か月前
大成建設株式会社
作業環境監視システム及び作業環境監視システムの監視方法
1か月前
大成建設株式会社
遊離脂肪酸の分離方法および遊離脂肪酸生産微生物の培養方法
1か月前
大成建設株式会社
車両用ワイヤレス給電システム及び車両用ワイヤレス給電方法
2日前
JFEシビル株式会社
トンネル間地盤性状の調査方法及び装置
16日前
続きを見る
他の特許を見る