TOP
|
特許
|
意匠
|
商標
特許ウォッチ
Twitter
他の特許を見る
10個以上の画像は省略されています。
公開番号
2025166696
公報種別
公開特許公報(A)
公開日
2025-11-06
出願番号
2024070895
出願日
2024-04-24
発明の名称
トンネル間地盤性状の調査方法及び装置
出願人
JFEシビル株式会社
,
大成建設株式会社
代理人
弁理士法人MTS国際特許事務所
主分類
E21D
9/00 20060101AFI20251029BHJP(地中もしくは岩石の削孔;採鉱)
要約
【課題】併設するトンネル相互の間の地盤性状を面的に正確に把握可能とする。
【解決手段】併設されたトンネル10、20の対向する側壁に超音波を発振・受信する音響センサ46、62を含む計測装置40、60を配設し、該音響センサ46、62間を伝搬する音響波を検出して、トンネル10、20相互の間の地盤の状態を調査する。
【選択図】図3
特許請求の範囲
【請求項1】
併設されたトンネルの対向する側壁に超音波を発振・受信する音響センサを配設し、
該音響センサ間を伝搬する音響波を検出して、
トンネル間の地盤の状態を調査することを特徴とするトンネル間地盤性状の調査方法。
続きを表示(約 1,000 文字)
【請求項2】
前記音響センサを、トンネル側壁に設置された貫通孔に配設することを特徴とする請求項1に記載のトンネル間地盤性状の調査方法。
【請求項3】
前記音響センサを、まずトンネルの対向する側壁全体に分散配設してトンネル間の地盤の全体の状態を簡易に調査し、次いで該全体の状態の調査結果に基づいて、トンネル側壁の必要な部分に前記音響センサを追加して詳細に調査することを特徴とする請求項1に記載のトンネル間地盤性状の調査方法。
【請求項4】
両方のトンネル側壁に配設した前記音響センサ間の同期を、衛星測位を用いた時刻同期システムを利用して行うことを特徴とする請求項1に記載のトンネル間地盤性状の調査方法。
【請求項5】
両方のトンネル側壁に配設した前記音響センサを、トンネル長手方向の位置をずらすか、もしくは水平方向に展開し、トンネル間の地盤の3次元的な調査を行うことを特徴とする請求項1に記載のトンネル間地盤性状の調査方法。
【請求項6】
併設されたトンネルの対向する側壁に配設される、超音波を発振・受信するための音響センサと、
該音響センサ間を伝搬する音響波を検出して、トンネル間の地盤の状態を調査する手段と、
を備えたことを特徴とするトンネル間地盤性状の調査装置。
【請求項7】
前記音響センサが、トンネル側壁に設置された貫通孔に配設されることを特徴とする請求項6に記載のトンネル間地盤性状の調査装置。
【請求項8】
前記トンネルがシールド工法または推進工法で施工されるものであり、前記貫通孔が該トンネルのスキンプレート又は薬液注入孔に形成されていることを特徴とする請求項7に記載のトンネル間地盤性状の調査装置。
【請求項9】
両方のトンネル側壁に配設した前記音響センサ間の同期を行うための、衛星測位を用いた時刻同期システムを備えたことを特徴とする請求項6に記載のトンネル間地盤性状の調査装置。
【請求項10】
両方のトンネル側壁に配設した前記音響センサのトンネル長手方向の位置がずらされるか、もしくは水平方向に展開され、トンネル間の地盤の3次元的な調査を行うようにされていることを特徴とする請求項6に記載のトンネル間地盤性状の調査装置。
発明の詳細な説明
【技術分野】
【0001】
本発明は、トンネル間地盤性状の調査方法及び装置に係り、特に、併設するトンネル間に避難用の連絡通路などを建設する際にトンネル間の地盤の状態を調査する際に用いるのに好適な、トンネル間地盤性状の調査方法及び装置に関する。
続きを表示(約 820 文字)
【背景技術】
【0002】
土質性状を調査把握することは、トンネルなどの地下構造物を安全にかつ経済的に施工するために重要である。
【0003】
そのためトンネル工事では、調査や設計の段階から過去の地盤調査結果や地表面からの弾性波探査やボーリングによる土質試験といった地盤調査を実施し、地盤性状の予測を行っている。
【0004】
ところが過去の地盤調査結果が乏しい場合や地表面の制約により地盤調査がしがたい場合においては、必要な土質性状を正確に把握することは困難であった。
【0005】
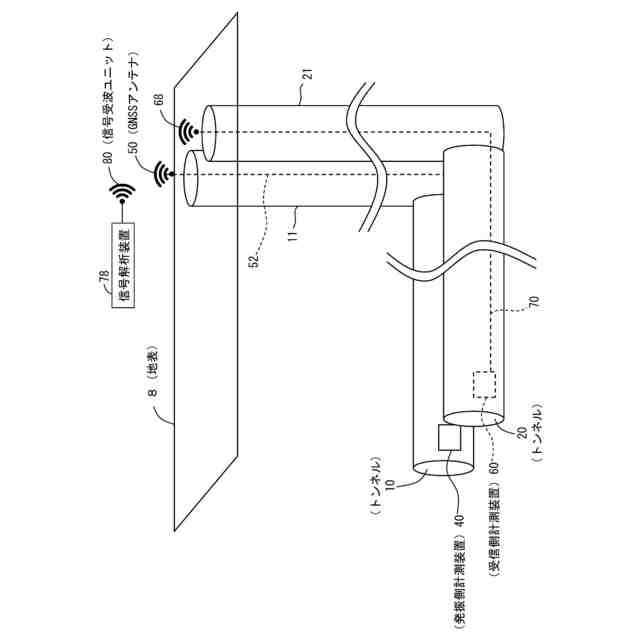
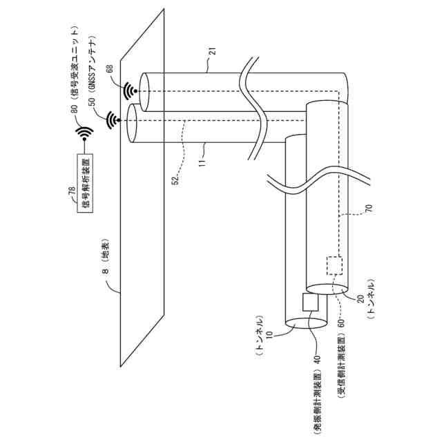
これは道路トンネルや地下鉄トンネルにみられる、図1に例示するような、二本のトンネル10、20相互の間に連絡通路30などの構造物を構築する工事においても同様である。
【0006】
連絡通路などの工事においてはトンネル孔壁の一部を切り拡くため、予め薬液注入や地盤凍結などにより当該部分の地山を改良して地盤強度と止水性の向上を図る。この地盤改良は、対象の地盤の性状により施工方法を決定するため、土質性状を正確に把握する必要がある。
【0007】
これは、図2に例示するような地盤改良範囲A内に、薬液の浸透し難い地盤(欠陥部)Bや凍結させるのに適さない地盤Cが存在すると地盤改良の効果が乏しく出水や地山崩落といった事故に繋がる恐れがあるためである。
【0008】
土質調査をする方法として、地上からボーリングする方法がある。
【0009】
特に、接合範囲を正確に調査する際には、図2に示したように、トンネル内部から略水平方向にボーリングDを数本、行っている。
【0010】
なお、特許文献1には、超音波等を用いて切羽部分またはその他の部分における地山崩落等を検出する方法が記載されている。
(【0011】以降は省略されています)
この特許をJ-PlatPat(特許庁公式サイト)で参照する
関連特許
日特建設株式会社
切断装置
1か月前
株式会社奥村組
地山探査装置
3か月前
株式会社奥村組
地山探査方法
3か月前
株式会社奥村組
地山探査装置
3か月前
株式会社奥村組
地山探査装置
3か月前
株式会社奥村組
シールド掘進機
2か月前
日特建設株式会社
削孔システム
17日前
岐阜工業株式会社
トンネルセントル
2か月前
株式会社奥村組
セグメントの組立方法
3か月前
個人
オープンシールド機
3か月前
個人
オープンシールド機
3か月前
個人
箱形ルーフおよびその施工法
2か月前
岐阜工業株式会社
コンクリート分配装置
1か月前
デンカ株式会社
静的破砕方法
3か月前
個人
メタンハイドレート等海底鉱物資源の採取方法
4か月前
地中空間開発株式会社
トンネル掘削機
1か月前
岐阜工業株式会社
トンネルセントルの妻板装置
3か月前
株式会社ケー・エフ・シー
トンネル水圧調整装置
2か月前
日鉄建材株式会社
構造物用補強リング及び構造物
2か月前
株式会社奥村組
地山探査装置に用いる地山保持材
3か月前
株式会社トーメック
開削型自走シールド管渠接合装置
9日前
株式会社奥村組
先行ビットおよびそれを備える掘削機
3か月前
株式会社奥村組
先行ビットおよびそれを備える掘削機
3か月前
株式会社奥村組
シールド掘進機およびシールド掘進方法
2か月前
株式会社奥村組
爆薬装填装置
1か月前
鹿島建設株式会社
シールド掘進機
1か月前
株式会社トーキンオール
延伸鋼管
2か月前
鹿島建設株式会社
形状検出システム
3か月前
株式会社横河NSエンジニアリング
合成セグメント
4か月前
国土開発工業株式会社
地山探査装置
23日前
戸田建設株式会社
低周波地中レーダ用計測治具
4か月前
株式会社奥村組
非開削推進工法
1か月前
株式会社カテックス
注入器具および地山補強工法
1か月前
鹿島建設株式会社
計測装置及び計測方法
4か月前
株式会社奥村組
非開削推進工法
1か月前
株式会社奥村組
非開削推進工法
1か月前
続きを見る
他の特許を見る