TOP
|
特許
|
意匠
|
商標
特許ウォッチ
Twitter
他の特許を見る
10個以上の画像は省略されています。
公開番号
2025165058
公報種別
公開特許公報(A)
公開日
2025-11-04
出願番号
2024068912
出願日
2024-04-22
発明の名称
柱梁接合部およびその製作方法
出願人
JFEシビル株式会社
代理人
個人
主分類
E04B
1/30 20060101AFI20251027BHJP(建築物)
要約
【課題】複数の鉄骨梁が、互いの高さ方向の位置が異なるように、鉄筋コンクリート柱に貫入するようにして接合される柱梁接合部において、これをプレキャスト工法により製作するときに、コンクリートの内部に空隙が発生することを抑制できる、柱梁接合部およびその製作方法を提供する。
【解決手段】鉄筋コンクリート柱に複数の鉄骨梁が貫入するようにして接合される柱梁接合部であって、前記複数の鉄骨梁は、互いの高さ方向の位置が異なるように前記鉄筋コンクリート柱に接合され、前記鉄骨梁のウェブのうち前記鉄筋コンクリート柱に貫入する部分に孔が設けられている、柱梁接合部。
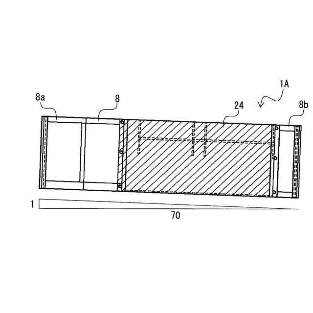
【選択図】図1
特許請求の範囲
【請求項1】
鉄筋コンクリート柱に複数の鉄骨梁が貫入するようにして接合される柱梁接合部であって、
前記複数の鉄骨梁は、互いの高さ方向の位置が異なるように前記鉄筋コンクリート柱に接合され、
前記鉄骨梁のウェブのうち前記鉄筋コンクリート柱に貫入する部分に孔が設けられている、柱梁接合部。
続きを表示(約 1,200 文字)
【請求項2】
前記複数の鉄骨梁のうち上段の鉄骨梁の下端が、下段の鉄骨梁の上端よりも高く、
前記上段の鉄骨梁の下フランジと前記下段の鉄骨梁の上フランジとが繋ぎ板により接合され、
前記繋ぎ板に孔が設けられている、請求項1に記載の柱梁接合部。
【請求項3】
前記孔は、前記鉄骨梁のウェブのうち前記鉄筋コンクリート柱に貫入する部分の隅角部に設けられ、孔径が30mm以上である、請求項1または2に記載の柱梁接合部。
【請求項4】
前記孔は、前記鉄骨梁のウェブを正面から見たときに前記鉄筋コンクリート柱の主筋と重ならない位置に設けられ、孔径が60mm以上である、請求項1または2に記載の柱梁接合部。
【請求項5】
前記複数の鉄骨梁のうち最上段の鉄骨梁の上フランジと最下段の鉄骨梁の下フランジの間の高さの範囲で、前記鉄筋コンクリート柱の側面を、前記鉄骨梁のウェブの表面位置まで覆うように取り囲むふさぎ板が設けられ、該ふさぎ板に孔が設けられている、請求項1または2に記載の柱梁接合部。
【請求項6】
前記鉄骨梁の上フランジと下フランジの間の高さの範囲で、前記鉄筋コンクリート柱の側面を、前記鉄骨梁のウェブの表面位置まで覆うように取り囲むふさぎ板が設けられ、該ふさぎ板に孔が設けられている、請求項3に記載の柱梁接合部。
【請求項7】
前記鉄骨梁の上フランジと下フランジの間の高さの範囲で、前記鉄筋コンクリート柱の側面を、前記鉄骨梁のウェブの表面位置まで覆うように取り囲むふさぎ板が設けられ、該ふさぎ板に孔が設けられている、請求項4に記載の柱梁接合部。
【請求項8】
前記ふさぎ板に設けられる前記孔は、前記鉄骨梁のウェブを正面から見たときに前記鉄筋コンクリート柱の主筋と重ならない位置に設けられ、孔径が100~160mmであり、
前記ふさぎ板には、該ふさぎ板に設けられる前記孔の周囲に、溶接しろが30mm以上設けられている、請求項5に記載の柱梁接合部。
【請求項9】
前記ふさぎ板に設けられる前記孔は、前記鉄骨梁のウェブを正面から見たときに前記鉄筋コンクリート柱の主筋と重ならない位置に設けられ、孔径が100~160mmであり、
前記ふさぎ板には、該ふさぎ板に設けられる前記孔の周囲に、溶接しろが30mm以上設けられている、請求項6に記載の柱梁接合部。
【請求項10】
前記ふさぎ板に設けられる前記孔は、前記鉄骨梁のウェブを正面から見たときに前記鉄筋コンクリート柱の主筋と重ならない位置に設けられ、孔径が100~160mmであり、
前記ふさぎ板には、該ふさぎ板に設けられる前記孔の周囲に、溶接しろが30mm以上設けられている、請求項7に記載の柱梁接合部。
(【請求項11】以降は省略されています)
発明の詳細な説明
【技術分野】
【0001】
本発明は、鉄筋コンクリート柱と鉄骨梁との柱梁接合部、およびその製作方法に関する。
続きを表示(約 1,700 文字)
【背景技術】
【0002】
建築物の構造形式として、柱を鉄筋コンクリート造とし、梁を鉄骨造とした、RCS構造が用いられている。RCS構造は、圧縮力に強い鉄筋コンクリート部材を柱に、軽量で曲げやせん断に強い鉄骨部材を梁に用いるため、合理的な構造となる。すなわち、鉄骨梁によりロングスパン化を可能にしつつ、鉄筋コンクリート柱により経済的に建物剛性を高め、建物重量を確実に支えることができる。RCS構造は、その特長から、大スパンかつ積載荷重の大きな建築物、具体的には物流施設や店舗などに特に適している。
【0003】
RCS構造では、その柱梁接合部の構造をどのような形式にするのかが、建築物全体の構造性能を確保する上でのポイントになる。RCS構造の柱梁接合部の構造としては、鉄骨梁の端部が鉄筋コンクリート柱の一方の側面から反対側の側面に向かって貫入するようにして柱梁接合部が構成される形式(以下、梁貫通形式という)が多く用いられている。
【0004】
ここで、2階以上にトラックバースを有する物流倉庫のように床面に段差を形成する場合や、鉄筋コンクリート柱に接合される鉄骨梁の梁せいが異なる場合には、鉄筋コンクリート柱に接合される2以上の鉄骨梁の間に、高さ方向に段差が生じる。
【0005】
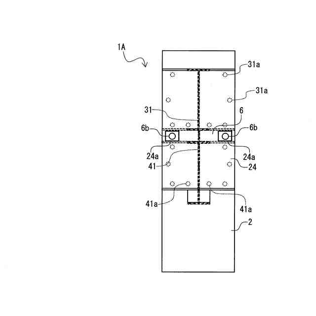
特許文献1には、RCS構造において、鉄筋コンクリート柱に接合される鉄骨梁同士に段差を簡単に形成することができる、柱梁接合部の構造が開示されている。具体的には、上段鉄骨梁と下段鉄骨梁とが鉄筋コンクリート柱に埋設される埋設部分において、上段鉄骨梁と下段鉄骨梁とを接合する繋ぎ部材が備えられている。繋ぎ部材は、上段鉄骨梁のウェブと下段鉄骨梁のウェブとの間に、繋ぎ部材の少なくとも一部が位置するように、上段鉄骨梁と下段鉄骨梁のフランジに接合されている。
【0006】
また、非特許文献1~非特許文献3には、RCS構造において、鉄筋コンクリート柱に接合される2以上の鉄骨梁の天端の高さが異なる場合や、2以上の鉄骨梁の天端の高さが等しいが梁せいが異なる場合の、柱梁接合部の構造が開示されている。
【先行技術文献】
【特許文献】
【0007】
特開2018-162645号公報
【非特許文献】
【0008】
佐川隆之、外3名、「段差梁を有する鉄筋コンクリート柱と鉄骨梁で構成される架構の構造性能に関する実験的および解析的研究 コンクリート工学年次論文集」、コンクリート工学年次論文集、Vol.37、No.2、2015年2月、pp.1045-1050
荒金直樹、外3名、「柱RC梁S混合構造架構の構造性能:その4~6」、日本建築学会大会学術講演梗概集、一般社団法人日本建築学会、2013年7月、pp.1467-1472
原田雅俊、外1名、「梁偏心・梁段差を有する柱RC梁S混合構造の十字形柱梁接合部の構造性能 その1~2」、日本建築学会大会学術講演梗概集、一般社団法人日本建築学会、2018年7月、pp.1457-1460
【発明の概要】
【発明が解決しようとする課題】
【0009】
ここで、RCS構造の鉄筋コンクリート柱のコンクリート打設を建設現場で行う場合には、図9に示すように、鉄筋コンクリート柱2が直立した状態でこれを行う。すなわち、コンクリート打設を、鉄筋コンクリート柱2の上部からのコンクリート23の落とし込み、または鉄筋コンクリート柱2の下部から上方へのコンクリート23の圧入により行う。鉄筋コンクリート柱2のうち、鉄骨梁3、4が貫入する柱梁接合部1と、それ以外の部分とで、コンクリート23を一体に打設する場合もあれば、コンクリート23を打ち分ける場合もある。
【0010】
このように、RCS構造の鉄筋コンクリート柱2と鉄骨梁3、4との柱梁接合部1のコンクリート打設を、鉄筋コンクリート柱が直立した状態で行う場合には、図10に矢印で示すように、コンクリート23は、鉄骨梁3、4のフランジの周囲を通過して打設される。よって、コンクリートの打設に支障を生じにくい。
(【0011】以降は省略されています)
この特許をJ-PlatPat(特許庁公式サイト)で参照する
関連特許
JFEシビル株式会社
柱梁接合部の構造
2日前
JFEシビル株式会社
トンネル間地盤性状の調査方法及び装置
1か月前
個人
接合構造
2か月前
個人
屋台
2か月前
個人
タッチミー
2か月前
個人
野良猫ハウス
3か月前
個人
安心補助てすり
1か月前
個人
転落防止用手摺
2か月前
個人
フェンス
3か月前
個人
筋交自動設定装置
2か月前
個人
居住車両用駐車場
3か月前
積水樹脂株式会社
柵体
2か月前
個人
ベンリナアングル
2か月前
ニチハ株式会社
建築板
3か月前
個人
免震建築構造
2日前
個人
熱抵抗多層断熱建材
3か月前
個人
補強部材
3か月前
個人
柵
4か月前
個人
身体用シェルター
2か月前
個人
身体用シェルター
2か月前
株式会社フジタ
合成床
2日前
鹿島建設株式会社
壁体
3か月前
個人
防災建築物
1か月前
株式会社シンケン
住宅
1か月前
成友建設株式会社
建物
3か月前
イワブチ株式会社
組立柱
2か月前
個人
可搬型供養墓
2か月前
株式会社熊谷組
吊り治具
2か月前
三協立山株式会社
構造体
1か月前
三協立山株式会社
構造体
25日前
三協立山株式会社
構造体
2か月前
インターマン株式会社
天井構造
3か月前
三協立山株式会社
構造体
2か月前
三協立山株式会社
構造体
2か月前
株式会社大林組
接合構造
1か月前
株式会社熊谷組
床構成材
1か月前
続きを見る
他の特許を見る