TOP
|
特許
|
意匠
|
商標
特許ウォッチ
Twitter
他の特許を見る
10個以上の画像は省略されています。
公開番号
2025173929
公報種別
公開特許公報(A)
公開日
2025-11-28
出願番号
2024079805
出願日
2024-05-15
発明の名称
開削型自走シールド管渠接合装置
出願人
株式会社トーメック
代理人
個人
主分類
E21D
9/06 20060101AFI20251120BHJP(地中もしくは岩石の削孔;採鉱)
要約
【課題】メッセルシールド機を用いて従来の管渠接合工法を行わせようとすると、テールメッセルを前方方向に移動させる際に、接合させた管渠と管渠の接合部分が離れ、その管渠と管渠の間から下水漏れが生じるという問題がある。
【解決手段】本発明は、ワイヤーロープ19により下水管2(2y)内に取り付けられた管接続用治具55y(55)と下水管2(2x)内に取り付けられた管接続用治具55x(55)をそれぞれ回り込ませ締め付けているので、テールフレームが前進方向に移動することによりテールフレーム下部の土砂がテールフレームに引きずられ移動しても、ワイヤーロープ19の両端部がテールフレームに接続された状態で、ワイヤーロープ19の引張力を増大させることにより、先方に設置されている下水管2(2y)と新たに設置された下水管2(2x)の接合部が離れないようにできる。
【選択図】図6
特許請求の範囲
【請求項1】
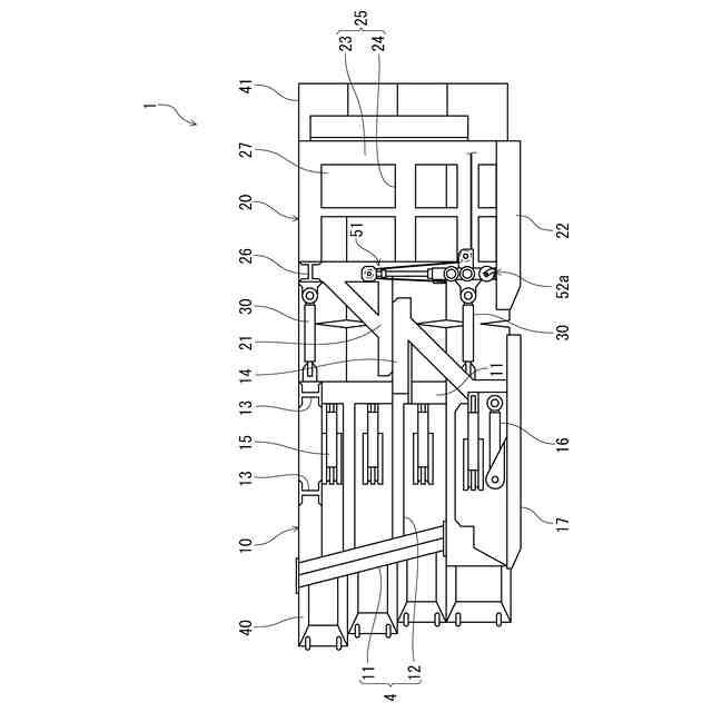
フロントフレームとテールフレームとの間に中間ジャッキが連結され、連続して設置される管渠の接合に用いられる開削型自走シールド管渠接合装置であって、
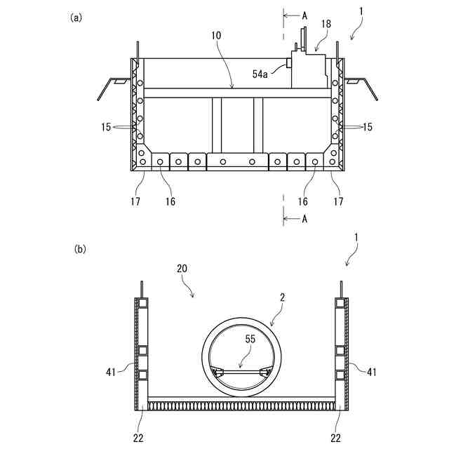
縦柱材と横補強材を備えた左右の枠体の間に長手方向に構成された切梁が配設されたフロントフレームと、
該フロントフレームと中間ジャッキで連結され、管渠が据え付けられるために上部が開口したテールフレームと、
前記フロントフレームの左右両側にそれぞれ上下方向に複数個設けられたフロントメッセルと、
複数個設けられた前記フロントメッセルのそれぞれに対応して設けられ、該フロントメッセルを前後方向に移動させる圧入ジャッキと、
前記フロントフレームの底部に横方向に複数個設けられ、該フロントフレームの前方底部から突出可能なボトムメッセルと、
複数個設けられた前記ボトムメッセルのそれぞれに対応して設けられ、該ボトムメッセルを前後方向に移動させるボトムジャッキと、
前記テールフレームの左右両側にそれぞれ上下方向に複数個設けられたテールメッセルと、
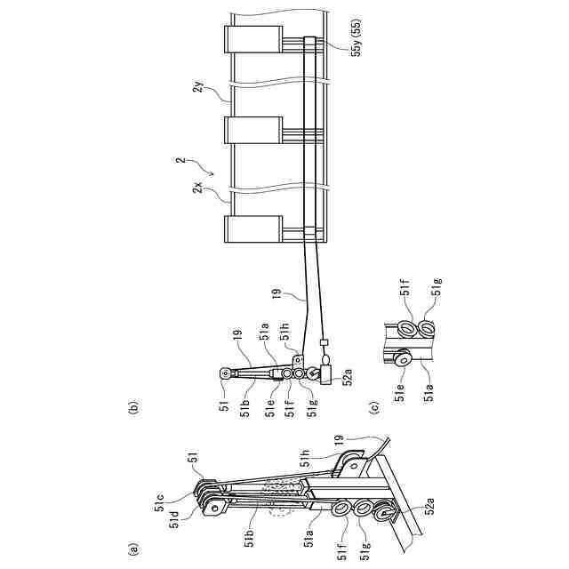
長手方向に延びる形状で形成され、両端部が前記テールフレームに接続されるロープ状部材を設け、
前記ロープ状部材は、先方に設置された管渠である先方既設管渠に取り付けられた管接続用治具と該先方既設管渠の後方で結合された新たに設置された管渠である新管渠に取り付けられた管接続用治具を少なくとも1周巻き付けた後に前記テールフレームに接続され、該ロープ状部材の両端部が前記テールフレームに接続された状態で、該テールフレームを前方方向に前進移動させると、該ロープ状部材の引張力が増大するので、該テールフレームを前方方向に前進移動させても、先方に設置されている該先方既設管渠と新たに設置された該新管渠が離れないようにできることを特徴とする開削型自走シールド管渠接合装置。
続きを表示(約 3,400 文字)
【請求項2】
フロントフレームとテールフレームとの間に中間ジャッキが連結され、連続して設置される管渠の接合に用いられる開削型自走シールド管渠接合装置であって、
縦柱材と横補強材を備えた左右の枠体の間に長手方向に構成された切梁が配設されたフロントフレームと、
該フロントフレームと中間ジャッキで連結され、管渠が据え付けられるために上部が開口したテールフレームと、
前記フロントフレームの左右両側にそれぞれ上下方向に複数個設けられたフロントメッセルと、
複数個設けられた前記フロントメッセルのそれぞれに対応して設けられ、該フロントメッセルを前後方向に移動させる圧入ジャッキと、
前記フロントフレームの底部に横方向に複数個設けられ、該フロントフレームの前方底部から突出可能なボトムメッセルと、
複数個設けられた前記ボトムメッセルのそれぞれに対応して設けられ、該ボトムメッセルを前後方向に移動させるボトムジャッキと、
前記テールフレームの左右両側にそれぞれ上下方向に複数個設けられたテールメッセルと、
長手方向に延びる形状で形成され、端部が前記テールフレームに接続されるロープ状部材と、
長手方向に延びる形状で形成され、両端部同士を結合させることができる巻付ロープ状部材を設け、
前記巻付ロープ状部材は、先方に設置された管渠である先方既設管渠に取り付けられた管接続用治具と該先方既設管渠の後方で結合された新たに設置された管渠である新管渠に取り付けられた管接続用治具を少なくとも1周巻き付けて両端部を結合させ、
前記ロープ状部材は、先方に設置された管渠である先方既設管渠に取り付けられた管接続用治具と該先方既設管渠の後方で結合された新たに設置された管渠である新管渠に取り付けられた管接続用治具を少なくとも1周巻き付けて両端部を結合させた前記巻付ロープ状部材に接続された後に、該テールフレームを前方方向に前進移動させると、該ロープ状部材の引張力が増大するので、該テールフレームを前方方向に前進移動させても、先方に設置されている該先方既設管渠と新たに設置された該新管渠が離れないようにできることを特徴とする開削型自走シールド管渠接合装置。
【請求項3】
フロントフレームとテールフレームとの間に中間ジャッキが連結され、連続して設置される管渠の接合に用いられる開削型自走シールド管渠接合装置であって、
縦柱材と横補強材を備えた左右の枠体の間に長手方向に構成された切梁が配設されたフロントフレームと、
該フロントフレームと中間ジャッキで連結され、管渠が据え付けられるために上部が開口したテールフレームと、
前記フロントフレームの左右両側にそれぞれ上下方向に複数個設けられたフロントメッセルと、
複数個設けられた前記フロントメッセルのそれぞれに対応して設けられ、該フロントメッセルを前後方向に移動させる圧入ジャッキと、
前記フロントフレームの底部に横方向に複数個設けられ、該フロントフレームの前方底部から突出可能なボトムメッセルと、
複数個設けられた前記ボトムメッセルのそれぞれに対応して設けられ、該ボトムメッセルを前後方向に移動させるボトムジャッキと、
前記テールフレームの左右両側にそれぞれ上下方向に複数個設けられたテールメッセルと、
長手方向に延びる形状で形成され、端部が前記テールフレームに接続されるロープ状部材と、
長手方向に延び少なくとも1端部が輪っか形状で形成された貫通巻付ロープ状部材を設け、
前記貫通巻付ロープ状部材は、先方に設置された管渠である先方既設管渠に取り付けられた管接続用治具と該先方既設管渠の後方で結合された新たに設置された管渠である新管渠に取り付けられた管接続用治具を少なくとも1周巻き付けて他端部を1端部の輪っか状内に挿入貫通させ、
前記ロープ状部材は、1端部の輪っか状内に挿入貫通させた前記貫通巻付ロープ状部材の他端部に結合させた後に、該テールフレームを前方方向に前進移動させると、該ロープ状部材の引張力が増大するので、該テールフレームを前方方向に前進移動させても、先方に設置されている該先方既設管渠と新たに設置された該新管渠が離れないようにできることを特徴とする開削型自走シールド管渠接合装置。
【請求項4】
フロントフレームとテールフレームとの間に中間ジャッキが連結され、連続して設置される管渠の接合に用いられる開削型自走シールド管渠接合装置であって、
縦柱材と横補強材を備えた左右の枠体の間に長手方向に構成された切梁が配設されたフロントフレームと、
該フロントフレームと中間ジャッキで連結され、管渠が据え付けられるために上部が開口したテールフレームと、
前記フロントフレームの左右両側にそれぞれ上下方向に複数個設けられたフロントメッセルと、
複数個設けられた前記フロントメッセルのそれぞれに対応して設けられ、該フロントメッセルを前後方向に移動させる圧入ジャッキと、
前記フロントフレームの底部に横方向に複数個設けられ、該フロントフレームの前方底部から突出可能なボトムメッセルと、
複数個設けられた前記ボトムメッセルのそれぞれに対応して設けられ、該ボトムメッセルを前後方向に移動させるボトムジャッキと、
前記テールフレームの左右両側にそれぞれ上下方向に複数個設けられたテールメッセルと、
長手方向に延びる形状で形成され、両端部が前記テールフレームに接続されるロープ状部材を設け、
前記ロープ状部材は、先方に設置された管渠である先方既設管渠に取り付けられた管接続用治具に後方から前方を介して後方に回り込ませ係止させた後、該先方既設管渠の後方で結合された新たに設置された管渠である新管渠に取り付けられた管接続用治具に前方から後方を介して前方に回り込ませ係止され、さらに、該先方既設管渠に取り付けられた該管接続用治具に後方から前方を介して後方に回り込ませ係止されるように、少なくとも該先方既設管渠内の該管接続用治具と該新管渠内の該管接続用治具を少なくとも1周巻き付けた後に前記テールフレームに接続され、該ロープ状部材の両端部が前記テールフレームに接続された状態で、該テールフレームを前方方向に前進移動させると、該ロープ状部材の引張力が増大するので、該テールフレームを前方方向に前進移動させても、先方に設置されている該先方既設管渠と新たに設置された該新管渠が離れないようにできることを特徴とする開削型自走シールド管渠接合装置。
【請求項5】
前記ロープ状部材は、長手方向に延びるワイヤーロープであることを特徴とする請求項1~4のいずれかに記載の開削型自走シールド管渠接合装置。
【請求項6】
前記管接続用治具は、前後方向に回転する回転ローラを有し、
前記ロープ状部材は、前記管接続用治具の回転ローラを介して、該管接続用治具に回り込み係止されることを特徴とする請求項5記載の開削型自走シールド管渠接合装置。
【請求項7】
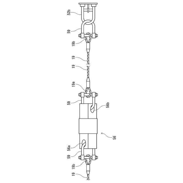
前記テールフレームに設けられ、前記ロープ状部材の引張力を増減させることができるロープ状部材引張装置を有し、
前記ロープ状部材引張装置は、前記ロープ状部材を引っ張ることにより該ロープ状部材の引張力を調整することができることを特徴とする請求項6記載の開削型自走シールド管渠接合装置。
【請求項8】
前記ロープ状部材引張装置により引っ張られる前記ロープ状部材の引張力が測定される引張力測定装置と、
該引張力測定装置により測定された前記ロープ状部材の引張力が表示される引張力表示装置と、を有し、
前記ロープ状部材引張装置は、前記引張力測定装置により測定された前記ロープ状部材の引張力が少なくとも破断引張力にならないように、前記ロープ状部材の引張力が調整されることを特徴とする請求個7記載の開削型自走シールド管渠接合装置。
発明の詳細な説明
【技術分野】
【0001】
本発明は、フロントフレームとテールフレームとの間に中間ジャッキが連結され、連続して設置される管渠の接合に用いられる開削型自走シールド管渠接合装置に関する。
続きを表示(約 3,600 文字)
【背景技術】
【0002】
従来より、管渠の運搬接合する管渠接合工法が知られている。この種の管渠接合工法は、まず接合しようとする管渠101が立坑から降ろされた後に、管運搬台車を管渠101内に乗り込ませ、そして、管運搬台車の支持梁107が前油圧ジャッキ105と後油圧ジャッキ106を用いて持ち上げられることにより、管渠101をかつぎあげることができる(図18参照)。そして、管渠101が所定の高さまで持ち上げられた後は、バッテリー機関車114で押され、奥の既に固定された管渠111の所まで運搬される。そして、管渠101が固定されている管渠111の所まで到着したタイミングで、バッテリー機関車114を一定の速度まで減速させて、管渠101と管渠111を接合させる。このようにして、管渠101と管渠111との接合が完了すれば、管運搬台車が管渠101から引き抜かれ、管運搬台車を最初の立坑の所まで移動させ、上述した手順が繰り返し行われることにより、管渠が複数個接合され、その複数個接合された管渠より長い管渠を生成することができるというものであった(たとえば、特許文献1)。ここで、 図18は従来の管運搬台車が管渠を運搬して、接合のために乗り込もうとしている状態を示す側面図である。また、特許文献1の内容は、管渠に限定した内容でないが、本願発明の説明の都合上、管渠接合工法として説明する。
【0003】
特開2005-67567号公報
【発明の開示】
【発明が解決しようとする課題】
【0004】
従来の管渠接合工法では、今まで管渠が埋設されていない地中内に新たに管渠を埋設させて設置させるためには、地中内に管渠を設置させるところまで地盤掘削機を用いて地盤を掘削させ、その掘削させたところに管渠を設置させることが必要となる。そのためには、まず地盤を掘削させて、新たに管渠を埋設させるための管渠埋設予定凹部が形成され、そして、その管渠埋設予定凹部に管渠101が降ろされ、管渠101を管渠111と順次接合させることが必要となる。
【0005】
しかしながら、従来の管渠接合工法では、地盤掘削機による地盤の掘削(管渠埋設予定凹部の形成)を行なった後に、管渠101と管渠111の接合することを繰り返し行われるが、管渠101と管渠111の接合を、メッセルシールド機を用いて行わせようとするとテールメッセルを前方方向に移動させる際には、テールフレーム下部の土砂がテールフレームに引きずられて移動することになるので、接合させた管渠101と管渠111の接合部分が緩み接合が離れる可能性がある。このように、接合させた管渠101と管渠111の接合部分が緩み接合が離れると、その管渠101と管渠111の間から下水漏れが生じ、その管渠101と管渠111外に漏れした下水が地盤に染み込み、時には地盤が隆起するという問題が生じることになる。
【0006】
本発明は上記問題点に鑑みてなされたもので、今まで管渠が埋設されていない地中内に新たに管渠を埋設させて設置させる際においても、先方に設置された先方既設管渠と新たに設置された新管渠の接合を確実に離れないようにすることができる開削型自走シールド管渠接合装置を提供することを目的とする。
【課題を解決するための手段】
【0007】
上記課題を解決し上記目的を達成するために、本発明のうち第1の態様に係るものは、フロントフレームとテールフレームとの間に中間ジャッキが連結され、連続して設置される管渠の接合に用いられる開削型自走シールド管渠接合装置であって、縦柱材と横補強材を備えた左右の枠体の間に長手方向に構成された切梁が配設されたフロントフレームと、そのフロントフレームと中間ジャッキで連結され、管渠が据え付けられるために上部が開口したテールフレームと、フロントフレームの左右両側にそれぞれ上下方向に複数個設けられたフロントメッセルと、複数個設けられたフロントメッセルのそれぞれに対応して設けられ、そのフロントメッセルを前後方向に移動させる圧入ジャッキと、フロントフレームの底部に横方向に複数個設けられ、そのフロントフレームの前方底部から突出可能なボトムメッセルと、複数個設けられたボトムメッセルのそれぞれに対応して設けられ、そのボトムメッセルを前後方向に移動させるボトムジャッキと、テールフレームの左右両側にそれぞれ上下方向に複数個設けられたテールメッセルと、長手方向に延びる形状で形成され、両端部がテールフレームに接続されるロープ状部材を設け、ロープ状部材は、先方に設置された管渠である先方既設管渠に取り付けられた管接続用治具とその先方既設管渠の後方で結合された新たに設置された管渠である新管渠に取り付けられた管接続用治具を少なくとも1周巻き付けた後にテールフレームに接続され、そのロープ状部材の両端部がテールフレームに接続された状態で、そのテールフレームを前方方向に前進移動させると、そのロープ状部材の引張力が増大するので、そのテールフレームを前方方向に前進移動させても、先方に設置されているその先方既設管渠と新たに設置されたその新管渠が離れないようにできることを特徴とするものである。
【0008】
本発明によれば、ロープ状部材を先方既設管渠に取り付けられた管接続用治具とその先方既設管渠の後方で結合された新管渠に取り付けられた管接続用治具を少なくとも1周巻き付けた後にテールフレームに接続させているので、テールフレームが前進方向に移動することによりテールフレーム下部の土砂がテールフレームに引きずられ移動しても、ロープ状部材の両端部がテールフレームに接続された状態で、ロープ状部材の引張力を増大させることにより、先方に設置されている先方既設管渠と新たに設置された新管渠が離れないようにできる。
【0009】
本発明のうち第2の態様に係るものは、フロントフレームとテールフレームとの間に中間ジャッキが連結され、連続して設置される管渠の接合に用いられる開削型自走シールド管渠接合装置であって、縦柱材と横補強材を備えた左右の枠体の間に長手方向に構成された切梁が配設されたフロントフレームと、そのフロントフレームと中間ジャッキで連結され、管渠が据え付けられるために上部が開口したテールフレームと、フロントフレームの左右両側にそれぞれ上下方向に複数個設けられたフロントメッセルと、複数個設けられたフロントメッセルのそれぞれに対応して設けられ、そのフロントメッセルを前後方向に移動させる圧入ジャッキと、フロントフレームの底部に横方向に複数個設けられ、そのフロントフレームの前方底部から突出可能なボトムメッセルと、複数個設けられたボトムメッセルのそれぞれに対応して設けられ、該ボトムメッセルを前後方向に移動させるボトムジャッキと、テールフレームの左右両側にそれぞれ上下方向に複数個設けられたテールメッセルと、長手方向に延びる形状で形成され、端部がテールフレームに接続されるロープ状部材と、長手方向に延びる形状で形成され、両端部同士を結合させることができる巻付ロープ状部材を設け、巻付ロープ状部材は、先方に設置された管渠である先方既設管渠に取り付けられた管接続用治具と該先方既設管渠の後方で結合された新たに設置された管渠である新管渠に取り付けられた管接続用治具を少なくとも1周巻き付けて両端部を結合させ、ロープ状部材は、先方に設置された管渠である先方既設管渠に取り付けられた管接続用治具と該先方既設管渠の後方で結合された新たに設置された管渠である新管渠に取り付けられた管接続用治具を少なくとも1周巻き付けて両端部を結合させた巻付ロープ状部材に接続された後に、該テールフレームを前方方向に前進移動させると、該ロープ状部材の引張力が増大するので、該テールフレームを前方方向に前進移動させても、先方に設置されている該先方既設管渠と新たに設置された該新管渠が離れないようにできることを特徴とするものである。
【0010】
本発明によれば、ロープ状部材を先方既設管渠に取り付けられた管接続用治具とその先方既設管渠の後方で結合された新管渠に取り付けられた管接続用治具を少なくとも1周巻き付けて両端部を結合させた巻付ロープ状部材に接続させているので、テールフレームが前進方向に移動することによりテールフレーム下部の土砂がテールフレームに引きずられ移動しても、ロープ状部材の両端部がテールフレームに接続された状態で、ロープ状部材の引張力を増大させることにより、先方に設置されている先方既設管渠と新たに設置された新管渠が離れないようにできる。
(【0011】以降は省略されています)
この特許をJ-PlatPat(特許庁公式サイト)で参照する
関連特許
株式会社トーメック
開削型自走シールド管渠接合装置
4日前
個人
掘削機
5か月前
日特建設株式会社
切断装置
1か月前
株式会社奥村組
地山探査装置
3か月前
株式会社奥村組
地山探査装置
3か月前
株式会社奥村組
地山探査装置
3か月前
株式会社奥村組
地山探査方法
3か月前
株式会社奥村組
シールド掘進機
6か月前
株式会社笠原建設
横孔形成方法
7か月前
日特建設株式会社
削孔システム
12日前
株式会社奥村組
シールド掘進機
2か月前
日特建設株式会社
ボーリング装置
7か月前
花王株式会社
岩盤の掘削方法
5か月前
岐阜工業株式会社
トンネルセントル
2か月前
個人
オープンシールド機
3か月前
株式会社奥村組
泥土圧シールド掘進機
6か月前
株式会社熊谷組
天井板撤去装置
7か月前
個人
オープンシールド機
3か月前
株式会社奥村組
セグメントの組立方法
2か月前
個人
掘削機、及び、資源回収システム
7か月前
個人
箱形ルーフおよびその施工法
2か月前
株式会社ケー・エフ・シー
剥落防止構造
8か月前
大阪瓦斯株式会社
牽引装置
6か月前
岐阜工業株式会社
コンクリート分配装置
25日前
デンカ株式会社
静的破砕方法
3か月前
株式会社金澤製作所
発進坑口のエントランス装置
6か月前
個人
メタンハイドレート等海底鉱物資源の採取方法
4か月前
大阪瓦斯株式会社
切欠開裂治具
6か月前
地中空間開発株式会社
トンネル掘削機
1か月前
大成建設株式会社
トンネルの褄部構造
8か月前
岐阜工業株式会社
トンネルセントルの妻板装置
3か月前
株式会社神島組
小割用工具および小割方法
8か月前
戸田建設株式会社
掘削機切削部側壁
4か月前
大成建設株式会社
トンネルとその施工方法
7か月前
株式会社ケー・エフ・シー
トンネル水圧調整装置
2か月前
大栄工機株式会社
トンネル防水工法
8か月前
続きを見る
他の特許を見る