TOP
|
特許
|
意匠
|
商標
特許ウォッチ
Twitter
他の特許を見る
10個以上の画像は省略されています。
公開番号
2025154056
公報種別
公開特許公報(A)
公開日
2025-10-10
出願番号
2024056840
出願日
2024-03-29
発明の名称
トンネル掘削機
出願人
地中空間開発株式会社
代理人
個人
,
個人
主分類
E21D
9/093 20060101AFI20251002BHJP(地中もしくは岩石の削孔;採鉱)
要約
【課題】旋回台軸受に作用する推力を、精度よく取得することが可能なトンネル掘削機を提供する。
【解決手段】このトンネル掘削機100は、カッタヘッド1に取り付けられ、カッタヘッド1とともに回転する回転輪4と、後側スラストローラ6cと、後側スラストローラ6cを介して回転輪4を回転可能に支持する固定輪5とを含む旋回台軸受3と、固定輪5を後方から支持する支持部材7と、支持部材7に設けられ、固定輪5のうちで後側スラストローラ6cにより後方に押圧される推力支持部51の後面51aに対向して配置され、旋回台軸受3に作用する推力の大きさに応じて変化する推力支持部51の撓みを取得するための距離センサ9と、を備える。
【選択図】図3
特許請求の範囲
【請求項1】
カッタヘッドに取り付けられ、前記カッタヘッドとともに回転する回転輪と、スラストローラと、前記スラストローラを介して前記回転輪を回転可能に支持する固定輪とを含む旋回台軸受と、
前記固定輪を後方から支持する支持部材と、
前記支持部材に設けられ、前記固定輪のうちで前記スラストローラにより後方に押圧される推力支持部の後面に対向して配置され、前記旋回台軸受に作用する推力の大きさに応じて変化する前記推力支持部の撓みを取得するための撓み取得用センサと、を備える、トンネル掘削機。
続きを表示(約 1,100 文字)
【請求項2】
前記撓み取得用センサの計測値に基づいて前記推力支持部の撓みを取得するとともに、取得した前記推力支持部の撓みに基づいて前記旋回台軸受に作用する推力の大きさを取得する制御を行う制御部をさらに備える、請求項1に記載のトンネル掘削機。
【請求項3】
前記旋回台軸受の内周側でチャンバを区画する内周側隔壁部を含み、前記支持部材により支持される内筒と、
前記内周側隔壁部に設けられ、前記チャンバ内の土砂および地下水から前記内筒が受ける圧力を計測する内筒圧力センサと、をさらに備え、
前記制御部は、前記内筒圧力センサにより計測された圧力が前記撓み取得用センサの計測値に与える外乱を取り除く制御を行う、請求項2に記載のトンネル掘削機。
【請求項4】
前記旋回台軸受の半径方向において、前記固定輪は、前記回転輪側とは逆側で前記支持部材に固定され、前記回転輪の近傍で前記撓み取得用センサが対向して配置されている、請求項1に記載のトンネル掘削機。
【請求項5】
前記旋回台軸受の半径方向の前記撓み取得用センサが配置される側において、前記固定輪の前記推力支持部の前記後面と前記支持部材の前面との間には、前記カッタヘッドに荷重が作用していない状態で、前後方向に離間する所定幅となる隙間が設けられており、
前記撓み取得用センサは、前記推力支持部の撓みに対応する計測値として、前記隙間の大きさを計測する距離センサを含む、請求項4に記載のトンネル掘削機。
【請求項6】
前記距離センサは、前記隙間を隔てて前記後面に対向して配置される渦電流式変位センサである、請求項5に記載のトンネル掘削機。
【請求項7】
前記旋回台軸受の半径方向の前記撓み取得用センサが配置される側において、前記固定輪の前記後面と前記支持部材の前面との間には、前記カッタヘッドに荷重が作用していない状態で、前後方向に離間する所定幅となる隙間が設けられており、
前記撓み取得用センサは、前記推力支持部の撓みに対応する計測値として、前記隙間の大きさに伴い変化する圧縮力を計測するロードセルを含む、請求項4に記載のトンネル掘削機。
【請求項8】
前記旋回台軸受の半径方向の前記撓み取得用センサが配置される側において、前記固定輪の前記推力支持部の前記後面は、前記支持部材の前面に当接しており、
前記撓み取得用センサは、前記固定輪の前記後面に当接状態で配置され、前記推力支持部の撓みに対応する計測値として、前記支持部材の前記半径方向における径方向歪を計測する径方向歪センサを含む、請求項4に記載のトンネル掘削機。
発明の詳細な説明
【技術分野】
【0001】
本発明は、カッタヘッドを回転可能に支持する旋回台軸受を備えるトンネル掘削機に関する。
続きを表示(約 2,100 文字)
【背景技術】
【0002】
従来、カッタヘッドを回転可能に支持する旋回台軸受を備えるトンネル掘削機が知られている(たとえば、特許文献1参照)。
【0003】
上記特許文献1には、カッタヘッドを回転可能に支持する旋回台軸受と、旋回台軸受の回転輪の後方に配置された距離センサとを備えるシールド掘進機が開示されている。上記シールド掘進機は、距離センサにより、カッタヘッド(旋回台軸受)の推力の大きさに応じて変化する旋回台軸受の回転輪の後面との距離を測定して、回転輪の撓みを取得する。そして、シールド掘進機は、距離センサの計測値に基づいて、カッタヘッド(旋回台軸受)の推力を取得するように構成されている。
【先行技術文献】
【特許文献】
【0004】
特許第4869035号公報
【発明の概要】
【発明が解決しようとする課題】
【0005】
しかしながら、上記特許文献1のシールド掘進機では、回転輪の後面の面精度や、回転輪を支持する支持ローラと軌道面(回転時に支持ローラに接触する回転輪の接触面)とのクリアランスなどに起因して、回転輪の後面には、回転輪の回転に伴って傾きおよびうねりが発生するため、距離センサの計測値である回転輪の後面までの距離とカッタヘッド(旋回台軸受)の推力の関係が信頼性の乏しいものになる。このため、この回転輪の後面までの距離を計測する方法では、カッタヘッド(旋回台軸受)に作用する推力の大きさを精度よく取得することは難しく、従来より、カッタヘッド(旋回台軸受)に作用する推力を、精度よく取得する手段が求められている。
【0006】
この発明は、上記のような課題を解決するためになされたものであり、この発明の1つの目的は、旋回台軸受に作用する推力を、精度よく取得することが可能なトンネル掘削機を提供することである。
【課題を解決するための手段】
【0007】
上記目的を達成するために、この発明のトンネル掘削機は、カッタヘッドに取り付けられ、カッタヘッドとともに回転する回転輪と、スラストローラと、スラストローラを介して回転輪を回転可能に支持する固定輪とを含む旋回台軸受と、固定輪を後方から支持する支持部材と、支持部材に設けられ、固定輪のうちでスラストローラにより後方に押圧される推力支持部の後面に対向して配置され、旋回台軸受に作用する推力の大きさに応じて変化する推力支持部の撓みを取得するための撓み取得用センサと、を備える。
【0008】
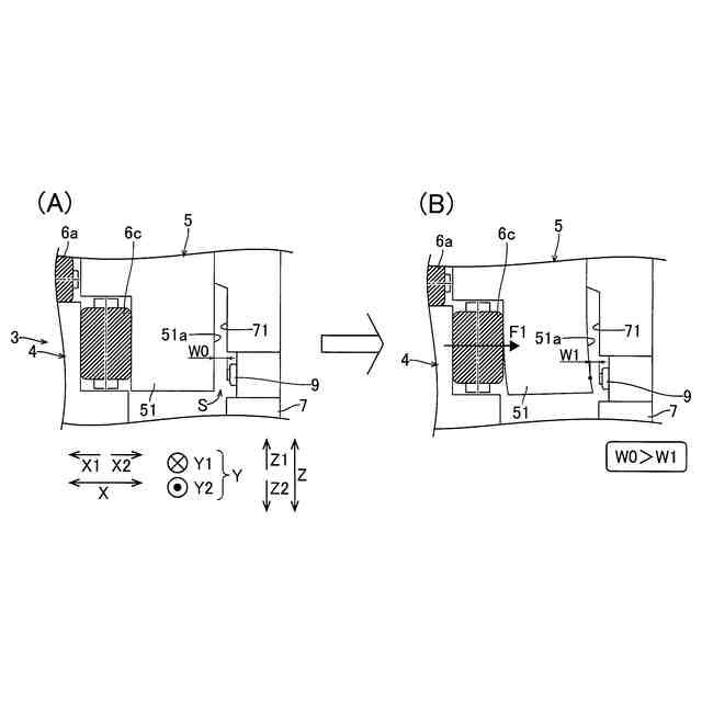
この発明のトンネル掘削機では、上記のように、スラストローラを介して回転輪を回転可能に支持する固定輪を後方から支持する支持部材と、支持部材に設けられ、固定輪のうちでスラストローラにより後方に押圧される推力支持部の後面に対向して配置され、旋回台軸受に作用する推力の大きさに応じて変化する推力支持部の撓みを取得するための撓み取得用センサと、を備える。これによって、撓み取得用センサにより、回転輪ではなく固定輪の静止面である後面までの距離を計測することができるので、計測対象の面に傾きおよびうねりが発生することを回避することができる。また、撓み取得用センサにより、旋回台軸受に作用する推力がスラストローラを介して直接加わる固定輪の推力支持部の撓みを取得することができる。すなわち、撓み取得用センサにより旋回台軸受に作用する推力の大きさに応じて直接的に変化する旋回台軸受の固定輪の推力支持部の撓みを計測することができる。以上の結果、撓み取得用センサによって固定輪の推力支持部の撓みを精度よく取得することができる。これによって、旋回台軸受に作用する推力を、精度よく取得することができる。
【0009】
上記トンネル掘削機において、好ましくは、撓み取得用センサの計測値に基づいて推力支持部の撓みを取得するとともに、取得した推力支持部の撓みに基づいて旋回台軸受に作用する推力の大きさを取得する制御を行う制御部をさらに備える。このように構成すれば、制御部によって、旋回台軸受に作用する推力の大きさを取得することができるので、旋回台軸受およびカッタヘッドなどの駆動部に過大な荷重が作用しているかどうかを判別することができる。
【0010】
この場合、好ましくは、旋回台軸受の内周側でチャンバを区画する内周側隔壁部21aを含み、支持部材により支持される内筒と、内周側隔壁部に設けられ、チャンバ内の土砂および地下水から内筒が受ける圧力を計測する内筒圧力センサと、をさらに備え、制御部は、内筒圧力センサにより計測された圧力が撓み取得用センサの計測値に与える外乱を取り除く制御を行う。このように構成すれば、内筒が土砂から圧力を受けて支持部材が変形して撓み取得用センサが移動されることによって発生する撓み取得用センサの計測値への影響を取り除くことができる。このため、旋回台軸受に作用する推力の大きさに応じて変化する旋回台軸受の固定輪の推力支持部の撓みを、撓み取得用センサによる取得した値を補正し、より精度よく取得することができる。
(【0011】以降は省略されています)
この特許をJ-PlatPat(特許庁公式サイト)で参照する
関連特許
個人
掘削機
4か月前
日特建設株式会社
切断装置
11日前
株式会社奥村組
地山探査装置
2か月前
株式会社奥村組
地山探査装置
2か月前
株式会社奥村組
地山探査方法
2か月前
株式会社奥村組
地山探査装置
2か月前
株式会社奥村組
シールド掘進機
5か月前
株式会社奥村組
シールド掘進機
7か月前
株式会社笠原建設
横孔形成方法
6か月前
株式会社奥村組
シールド掘進機
1か月前
日特建設株式会社
ボーリング装置
6か月前
岐阜工業株式会社
トンネルセントル
1か月前
花王株式会社
岩盤の掘削方法
4か月前
株式会社奥村組
テールシール試験装置
7か月前
株式会社奥村組
セグメントの組立方法
1か月前
個人
オープンシールド機
2か月前
株式会社熊谷組
天井板撤去装置
6か月前
個人
オープンシールド機
2か月前
株式会社奥村組
泥土圧シールド掘進機
5か月前
個人
掘削機、及び、資源回収システム
6か月前
日特建設株式会社
削孔方法及び削孔装置
7か月前
株式会社ケー・エフ・シー
剥落防止構造
7か月前
個人
箱形ルーフおよびその施工法
1か月前
大阪瓦斯株式会社
牽引装置
5か月前
株式会社金澤製作所
発進坑口のエントランス装置
5か月前
株式会社大林組
インバート更新工法
7か月前
デンカ株式会社
静的破砕方法
2か月前
個人
メタンハイドレート等海底鉱物資源の採取方法
3か月前
大阪瓦斯株式会社
切欠開裂治具
5か月前
大成建設株式会社
トンネルの褄部構造
7か月前
地中空間開発株式会社
トンネル掘削機
23日前
岐阜工業株式会社
トンネルセントルの妻板装置
2か月前
株式会社ケー・エフ・シー
防水シート探傷装置
8か月前
大栄工機株式会社
トンネル防水工法
7か月前
株式会社神島組
小割用工具および小割方法
7か月前
株式会社ケー・エフ・シー
トンネル水圧調整装置
1か月前
続きを見る
他の特許を見る