TOP
|
特許
|
意匠
|
商標
特許ウォッチ
Twitter
他の特許を見る
公開番号
2025152893
公報種別
公開特許公報(A)
公開日
2025-10-10
出願番号
2024055068
出願日
2024-03-28
発明の名称
免震基礎構造およびその構築方法
出願人
大成建設株式会社
代理人
個人
主分類
E04H
9/02 20060101AFI20251002BHJP(建築物)
要約
【課題】高精度に構築可能でかつ優れた耐震性を有する、免震基礎構造およびその構築方法を提供すること。
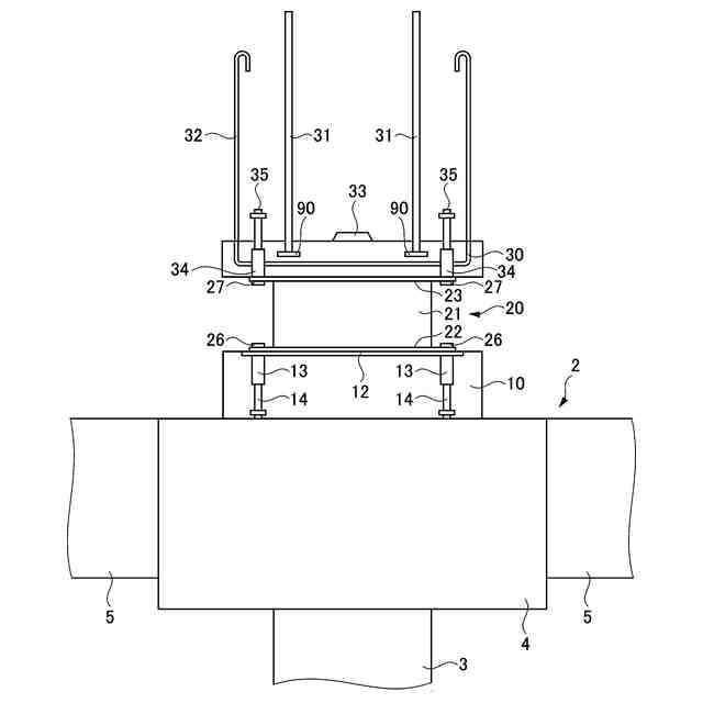
【解決手段】免震基礎構造1は、積層ゴム支承20と、積層ゴム支承20上に設けられるプレキャスト鉄筋コンクリート造の上部基礎30と、上部基礎30の上面から上方に突出する梁支持部33上に配置される仕口部鉄骨梁40と、上部基礎30および仕口部鉄骨梁40の一部を含んで構築されるコンクリート造の基礎接合部50と、を備える。上部基礎30には、アンカー筋35が取り付けられた長ナット34が埋設され、積層ゴム支承20の上フランジ23には、ボルト挿通孔25が形成されている。積層ゴム支承20と上部基礎30とは、取付けボルト27を上フランジ23のボルト挿通孔25に挿通して長ナット34に螺合することで、接合されている。
【選択図】図2
特許請求の範囲
【請求項1】
免震装置を備える免震基礎構造であって、
前記免震装置と、
前記免震装置の上に設けられるコンクリート造の上部基礎と、
前記上部基礎の上面から上方に突出する梁支持部上に配置される梁部材と、
前記上部基礎および前記梁部材の一部を含んで構築されるコンクリート造の基礎接合部と、を備え、
前記上部基礎には、アンカー筋が取り付けられた雌ねじ部が埋設され、
前記免震装置の上フランジには、貫通孔が形成され、
前記免震装置と前記上部基礎とは、取付けボルトを前記上フランジの貫通孔に挿通して前記雌ねじ部に螺合することで、接合されていることを特徴とする免震基礎構造。
続きを表示(約 590 文字)
【請求項2】
免震装置を備える免震基礎構造であって、
前記免震装置と、
前記免震装置の上に設けられるコンクリート造の上部基礎と、
前記上部基礎の上面から上方に突出する梁支持部上に配置される梁部材と、
前記上部基礎および前記梁部材の一部を含んで構築されるコンクリート造の基礎接合部と、を備え、
前記上部基礎の底面には、貫通孔が形成されたフランジプレートが設けられ、
前記免震装置の上フランジには、貫通孔が形成され、
前記免震装置と前記上部基礎とは、取付けボルトを前記上フランジおよび前記フランジプレートの貫通孔に挿通してナットを螺合することで、接合されていることを特徴とする免震基礎構造。
【請求項3】
請求項1または2に記載の免震基礎構造の構築方法であって、
基盤上に前記免震装置を設置する工程と、
前記免震装置上にコンクリート造の前記上部基礎を配置する工程と、
前記取付けボルトで、前記免震装置と前記上部基礎とを接合する工程と、
前記上部基礎上面の梁支持体に前記梁部材を載置する工程と、
前記上部基礎および前記梁部材の一部を囲んで型枠材を建て込み、前記型枠材の内側にコンクリートを打設して前記基礎接合部を構築する工程と、を含むことを特徴とする免震基礎構造の構築方法。
発明の詳細な説明
【技術分野】
【0001】
本発明は、免震装置を備える免震基礎構造、および、この免震基礎構造の構築方法に関する。
続きを表示(約 2,700 文字)
【背景技術】
【0002】
従来より、免震装置を備える免震構造が提案されている(特許文献1~3参照)。
特許文献1には、免震装置と、免震装置の上に設けられたプレキャストコンクリート造の上部基礎と、免震装置の下に設けられたプレキャストコンクリート造の下部立上り基礎と、上部基礎の上に接続された柱脚部と、を備える免震構造が示されている。
特許文献2には、下部基礎と、下部基礎の上に設けられた免震装置と、免震装置の上に設けられたプレキャストコンクリート造の上部基礎と、を備える免震基礎構造が示されている。
【0003】
特許文献3には、プレキャストコンクリート造の下部免震基礎と、下部免震基礎の上に設置された免震装置と、免震装置の上に設けられたプレキャストコンクリート造の上部免震基礎と、上部免震基礎の上に設けられた上部躯体(鉄骨梁および鉄骨柱)と、を備える免震基礎構造が示されている。
【先行技術文献】
【特許文献】
【0004】
特許5232106号公報
特開2014-91943号公報
特許7165548号公報
【発明の概要】
【発明が解決しようとする課題】
【0005】
本発明は、高精度に構築可能でかつ優れた耐震性を有する、免震基礎構造およびその構築方法を提供することを課題とする。
【課題を解決するための手段】
【0006】
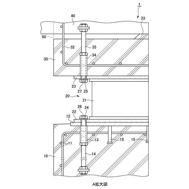
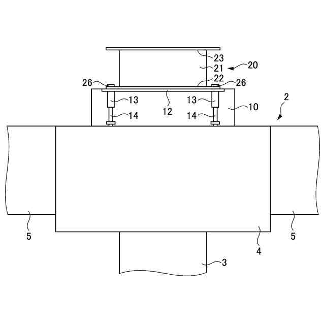
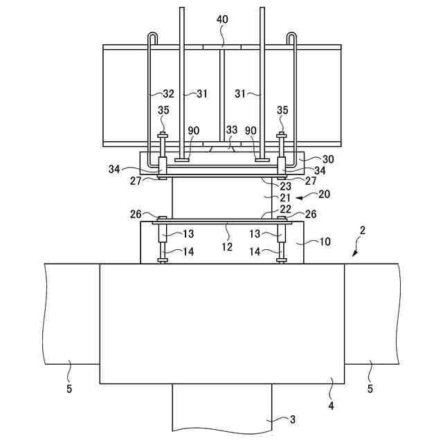
第1の発明の免震基礎構造(例えば、後述の免震基礎構造1)は、免震装置(例えば、後述の積層ゴム支承20)を備える免震基礎構造であって、前記免震装置と、前記免震装置の上に設けられるコンクリート造の上部基礎(例えば、後述の上部基礎30)と、前記上部基礎の上面から上方に突出する梁支持部(例えば、後述の梁支持部33)上に配置される梁部材(例えば、後述の仕口部鉄骨梁40)と、前記上部基礎および前記梁部材の一部を含んで構築されるコンクリート造の基礎接合部(例えば、後述の基礎接合部50)と、を備え、前記上部基礎には、アンカー筋(例えば、後述のアンカー筋35)が取り付けられた雌ねじ部(例えば、後述の長ナット34)が埋設され、前記免震装置の上フランジ(例えば、後述の上フランジ23)には、貫通孔(例えば、後述のボルト挿通孔25)が形成され、前記免震装置と前記上部基礎とは、取付けボルト(例えば、後述の取付けボルト27)を前記上フランジの貫通孔に挿通して前記雌ねじ部に螺合することで、接合されていることを特徴とする。
【0007】
この発明によれば、免震装置上にコンクリート造の上部基礎を配置し、上部基礎の梁支持部上に梁部材を配置し、この状態で、上部基礎および梁部材の一部を含んでコンクリートを打設して、基礎接合部を構築する。これにより、免震装置、上部基礎、および梁部材を強固に一体化できるので、耐震性に優れた免震基礎構造を提供できる。
また、コンクリート造の上部基礎にアンカー筋付きの雌ねじ部を埋設しておき、免震装置の上フランジの貫通孔に挿通した取付けボルトを雌ねじ部に螺合することで、免震装置と上部基礎とが接合される。これにより、免震装置と上部基礎とを高精度で接合できる。
また、免震装置上にコンクリート造の上部基礎を配置して、上部基礎の梁支持部上に梁部材を配置して、この状態でコンクリートを打設することで、鉄筋コンクリート造の基礎接合部を構築する。このように、上部基礎をコンクリート造としたので、短工期で高精度な免震基礎構造を構築できる。
【0008】
第2の発明の免震基礎構造は、前記上部基礎には、柱主筋(例えば、後述の柱主筋31)の下端側が埋設されていることを特徴とする。
この発明によれば、免震装置上の上部基礎に柱主筋の下端側を埋設したので、柱と免震基礎構造と強固に接合できる。
【0009】
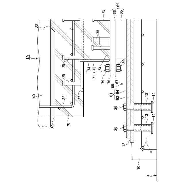
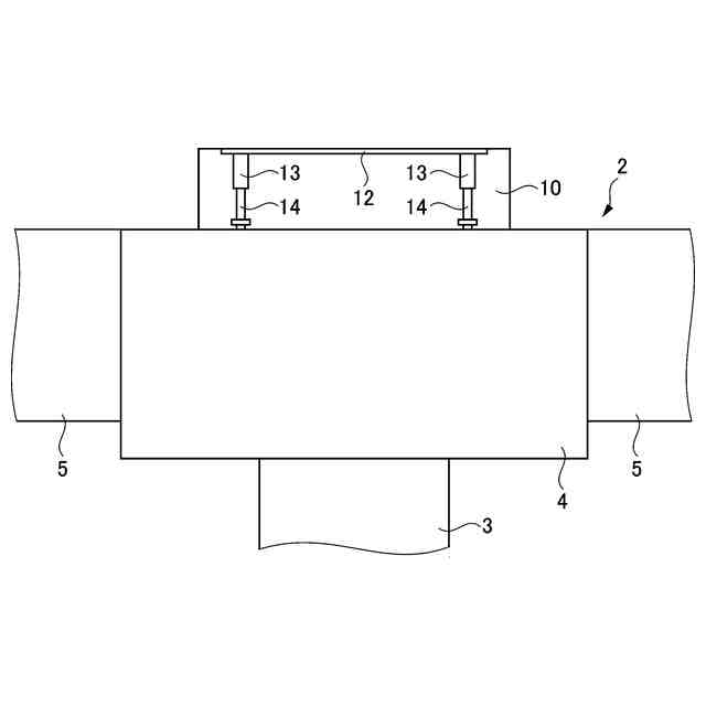
第3の発明の免震基礎構造(例えば、後述の免震基礎構造1A)は、免震装置(例えば、後述の弾性すべり支承60)を備える免震基礎構造であって、前記免震装置と、前記免震装置の上に設けられるコンクリート造の上部基礎(例えば、後述の上部基礎70)と、前記上部基礎の上面から上方に突出する梁支持部(例えば、後述の梁支持部33)上に配置される梁部材(例えば、後述の仕口部鉄骨梁40)と、前記上部基礎および前記梁部材の一部を含んで構築されるコンクリート造の基礎接合部(例えば、後述の基礎接合部50)と、を備え、前記上部基礎の底面には、貫通孔(例えば、後述のボルト挿通孔76)が形成されたフランジプレート(例えば、後述のフランジプレート72)が設けられ、前記免震装置の上フランジ(例えば、後述の上フランジ66)には、貫通孔(例えば、後述のボルト挿通孔67)が形成され、前記免震装置と前記上部基礎とは、取付けボルト(例えば、後述の取付けボルト79)を前記上フランジおよび前記フランジプレートの貫通孔に挿通してナット(例えば、後述のナット80)を螺合することで、接合されていることを特徴とする。
【0010】
この発明によれば、免震装置上にコンクリート造の上部基礎を配置し、上部基礎の梁支持部上に梁部材を配置し、この状態で、上部基礎および梁部材の一部を含んでコンクリートを打設して、基礎接合部を構築する。これにより、免震装置、上部基礎、および梁部材を強固に一体化できるので、耐震性に優れた免震基礎構造を提供できる。
また、コンクリート造の上部基礎にアンカー筋付きの雌ねじ部を埋設しておき、免震装置の上フランジの貫通孔に挿通した取付けボルトを雌ねじ部に螺合することで、免震装置と上部基礎とが接合される。これにより、免震装置と上部基礎とを高精度で接合できる。
また、免震装置上にコンクリート造の上部基礎を配置して、上部基礎の梁支持部上に梁部材を配置して、この状態でコンクリートを打設することで、鉄筋コンクリート造の基礎接合部を構築する。このように、上部基礎をコンクリート造としたので、短工期で高精度な免震基礎構造を構築できる。
また、コンクリート造の上部基礎の底面に、貫通孔が形成されたフランジプレートを設けるとともに、免震装置の上フランジに貫通孔を設け、それぞれの貫通孔に取付けボルトを挿通し、この取付けボルトにナットで螺合することで、免震装置と上部基礎とを強固に接合できる。
(【0011】以降は省略されています)
この特許をJ-PlatPat(特許庁公式サイト)で参照する
関連特許
大成建設株式会社
木質複合構造
21日前
大成建設株式会社
ペレット製造装置
8日前
大成建設株式会社
気体貯蔵放出材料
1か月前
大成建設株式会社
摩擦制振ダンパー
15日前
大成建設株式会社
既存建物の解体方法
7日前
大成建設株式会社
杭の施工方法および杭
11日前
大成建設株式会社
木材性状推定システム
2日前
大成建設株式会社
床版接合部の設計方法
11日前
大成建設株式会社
浚渫用施設および浚渫方法
1か月前
大成建設株式会社
木材縦弾性係数推定システム
2日前
大成建設株式会社
無線給電システム及び移動体
1か月前
大成建設株式会社
免震基礎構造およびその構築方法
今日
大成建設株式会社
地下水排水構造と地下水排水方法
7日前
大成建設株式会社
異種コンクリートの切替り特定方法
7日前
大成建設株式会社
到達立坑における掘進機の回収方法
11日前
大成建設株式会社
水槽構造物および水槽構造物の施工方法
1か月前
大成建設株式会社
凍結地盤の掘削土の排土装置と排土方法
7日前
大成建設株式会社
シールド到達構造およびシールド到達方法
1か月前
大成建設株式会社
既設トンネルの坑口補強構造と坑口補強方法
7日前
大成建設株式会社
水中不分離性モルタル組成物、及び、その部材
1か月前
大成建設株式会社
吊荷向き制御システムおよびブレード設置方法
22日前
大成建設株式会社
浮体式基礎の製作方法及び洋上風車の製作方法
1か月前
大成建設株式会社
既設トンネルと分岐トンネルの接合構造と接合方法
7日前
大成建設株式会社
上下の既設トンネルを繋ぐ接合トンネルとその施工方法
7日前
大成建設株式会社
上面増厚床版の非破壊評価方法及び非破壊評価システム
8日前
大成建設株式会社
鋼管により形成される立坑の坑口補強構造と坑口補強方法
11日前
大成建設株式会社
作業環境監視システム及び作業環境監視システムの監視方法
8日前
大成建設株式会社
遊離脂肪酸の分離方法および遊離脂肪酸生産微生物の培養方法
9日前
大成建設株式会社
接触回避システム
29日前
大成建設株式会社
半潜水浮体式基礎
7日前
大成建設株式会社
塔体の建て起こし装置
10日前
大成建設株式会社
分岐トンネル施工用の発進設備と、分岐トンネル施工用の掘進機の発進方法
11日前
大成建設株式会社
回収可能なシールド掘進機と、回収可能なシールド掘進機を用いたトンネル施工方法
1か月前
株式会社カネカ
状態改善システム、状態改善方法、状態改善装置、状態改善プログラム
15日前
大成建設株式会社
耐硫酸性グラウト組成物、耐硫酸性モルタル組成物、耐硫酸性コンクリート組成物、およびこれらの製造方法
1日前
個人
接合構造
4日前
続きを見る
他の特許を見る