TOP
|
特許
|
意匠
|
商標
特許ウォッチ
Twitter
他の特許を見る
10個以上の画像は省略されています。
公開番号
2025158399
公報種別
公開特許公報(A)
公開日
2025-10-17
出願番号
2024060902
出願日
2024-04-04
発明の名称
養生シート製品、養生区画、及び養生区画の構築方法
出願人
アキレス株式会社
,
大成建設株式会社
,
株式会社アクティオ
代理人
弁理士法人はなぶさ特許商標事務所
主分類
E04G
21/28 20060101AFI20251009BHJP(建築物)
要約
【課題】構造部材に対して隙間なく容易に養生シートを取り付ける。
【解決手段】構造部材対応養生シート10は、耐火耐熱層14と気密層16とを含む積層構造を有する養生シート12と、養生シート12に形成される挿通穴18と、挿通穴18の周縁から養生シート12の端縁まで延びるスリット20と、分断部分38を有する大略環状をなし、スリット20に分断部分38が位置合わせされて挿通穴18の周囲に沿って取り付けられる、内部の加圧により膨張するチューブ状部材36とを備える。これにより、チューブ状部材36の内周側に構造部材を配置した状態でチューブ状部材36を加圧すると、チューブ状部材36を構造部材の外周に密着させることができる。しかも、スリット20及び分断部分38を通して、構造部材86を挿通穴18及びチューブ状部材36に配置して、チューブ状部材36を加圧すればよいため、容易に設置することができる。
【選択図】図3
特許請求の範囲
【請求項1】
長尺の構造部材を備える構造物において、前記構造部材の一部を取り囲む養生区画を養生シートにより形成するのに用いる養生シート製品であって、
耐火耐熱層と気密層とを含む積層構造を有する養生シートと、
該養生シートに形成され、前記構造部材が挿通される挿通穴と、
該挿通穴の周縁から前記養生シートの端縁まで延びるスリットと、
延在方向の一部に分断部分を有する大略環状をなし、前記スリットに対して前記分断部分が位置合わせされた状態で前記挿通穴の周囲に沿って取り付けられる、内部の加圧により膨張するチューブ状部材とを備えることを特徴とする養生シート製品。
続きを表示(約 1,400 文字)
【請求項2】
長尺の構造部材を備える構造物において、前記構造部材の一部を取り囲む養生区画を養生シートにより形成するのに用いる養生シート製品であって、
耐火耐熱層と気密層とを含む積層構造を有する養生シートと、延在方向の一部に分断部分を有する大略環状をなすチューブ状部材とを備え、
該チューブ状部材は、前記養生シートに形成された挿通穴の周囲に沿って、前記挿通穴の周縁から前記養生シートの端縁まで形成されたスリットに対して前記分断部分が位置合わせされた状態で、前記養生シートに取り付けられ、
前記挿通穴及び前記チューブ状部材の内周側に前記構造部材が挿通されると共に、前記チューブ状部材の内部が加圧されて膨張した状態で設置されていることを特徴とする養生シート製品。
【請求項3】
前記チューブ状部材の、前記分断部分を挟んで対向する端部同士が、該端部間の距離を調整可能な長さ調整部材によって接続されていることを特徴とする請求項2記載の養生シート製品。
【請求項4】
前記スリットがスリット接合手段によって閉じられていることを特徴とする請求項2記載の養生シート製品。
【請求項5】
前記積層構造は、耐火性及び耐熱性を有する繊維基材に、ゴム引層が積層されてなることを特徴とする請求項2記載の養生シート製品。
【請求項6】
前記チューブ状部材が、前記構造部材の延在方向と直交する側方視で、前記延在方向に対して直交するように設置されていることを特徴とする請求項2記載の養生シート製品。
【請求項7】
前記挿通穴が平面視で円形をなしていると共に、前記チューブ状部材が大略円環状をなしていることを特徴とする請求項2記載の養生シート製品。
【請求項8】
長尺の構造部材を備える構造物において、作業用足場をベースにして養生シートにより形成される、前記構造部材の一部を取り囲む養生区画であって、
請求項2から7のいずれか1項記載の養生シート製品が、前記構造部材が突き抜ける部分に設置されると共に、その他の部分に、耐火耐熱層と気密層とを含む積層構造を有する複数のシート材が設置され、
前記養生シート製品及び前記シート材の双方が、各々の耐火耐熱層側を当該養生区画の内側にして設置されていることを特徴とする養生区画。
【請求項9】
前記複数のシート材のうち、当該養生区画の側面に相当する部分に設置される複数の側面シート材の各々の上端縁近傍に、該上端縁の延在方向に沿ってシート状のカバー片が取り付けられ、
前記カバー片は、前記作業用足場に対する前記側面シート材の取り付け部分を覆うように配置されると共に、下側の側面シート材に取り付けられた前記カバー片と上側の側面シート材の下端部とが、着脱可能に接合されていることを特徴とする請求項8記載の養生区画。
【請求項10】
下側の側面シート材に取り付けられた前記カバー片の上端近傍の外面と、上側の側面シート材の下端近傍の外面とが、対向する状態で重ねられて当該養生区画の内側へ引き込まれて、線ファスナーにより接合されていることを特徴とする請求項9記載の養生区画。
(【請求項11】以降は省略されています)
発明の詳細な説明
【技術分野】
【0001】
本発明は、養生シート製品、養生シート製品が用いられた養生区画、及びその養生区画の構築方法に関するものである。
続きを表示(約 2,600 文字)
【背景技術】
【0002】
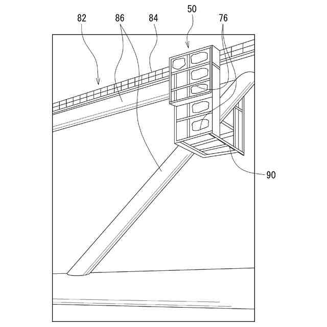
工事現場や建設現場などの屋外の作業現場では、天候や周囲環境が作業の品質に影響を及ぼす虞がある。例えば、屋外の高所の構造物に対して溶接や塗装を行う際には、ガスシールドアーク溶接のシールドガスが風を受けることで乱されて生じる溶接不良や、高湿度下で行った塗装が後日剥離するなどの塗装不良が生じるリスクが高い。このため、従来から、天候や周囲環境の影響を受け難い空間で作業が行えるように、足場をシート材(養生シート)で囲った養生区画を設置する必要があった。ここで、作業対象の構造物に、養生区画の内外にまたがるような長尺の構造部材が存在する場合、その構造部材が貫通する部分の周囲にもシート材を設置する必要がある。例えば、そのような構造部材が鋼管である場合、鋼管の外周に各種ファスナーなどの留め具を用いてシート材を取り付ける方法が知られている(特許文献1、2参照)。
【先行技術文献】
【特許文献】
【0003】
特開平06-322995号公報
特開2017-170415号公報
【発明の概要】
【発明が解決しようとする課題】
【0004】
しかしながら、円筒状の鋼管などにシート材を取り付ける場合、特許文献1で開示されたようにシート材を巻き付ける方法では、鋼管の径が大きいとシート材を取り付けることが難しい。また、特許文献2で開示されたようにファスナーで留める方法では、円筒状の鋼管とシート材とを隙間なく密着させることが難しい。このように、構造部材が貫通する部分にシート材を取り付ける際に、部材の形状に合わせてシート材で覆うことは困難であり、隙間が空いたり、収まりが悪かったり、作業空間が確保できないなど多くの課題が挙げられている。更に、このような養生区画内で溶接や塗装作業を行うためには、風防機能や換気機能を備える必要があり、隙間の少ない気密性を有する空間であることが求められている。
【0005】
本発明は上記課題に鑑みてなされたものであり、その目的とするところは、構造部材に対して隙間なく容易に養生シートを取り付けることにある。
【課題を解決するための手段】
【0006】
(発明の態様)
以下の発明の態様は、本発明の構成を例示するものであり、本発明の多様な構成の理解を容易にするために、項別けして説明するものである。各項は、本発明の技術的範囲を限定するものではなく、発明を実施するための最良の形態を参酌しつつ、各項の構成要素の一部を置換し、削除し、又は、更に他の構成要素を付加したものについても、本発明の技術的範囲に含まれ得るものである。
【0007】
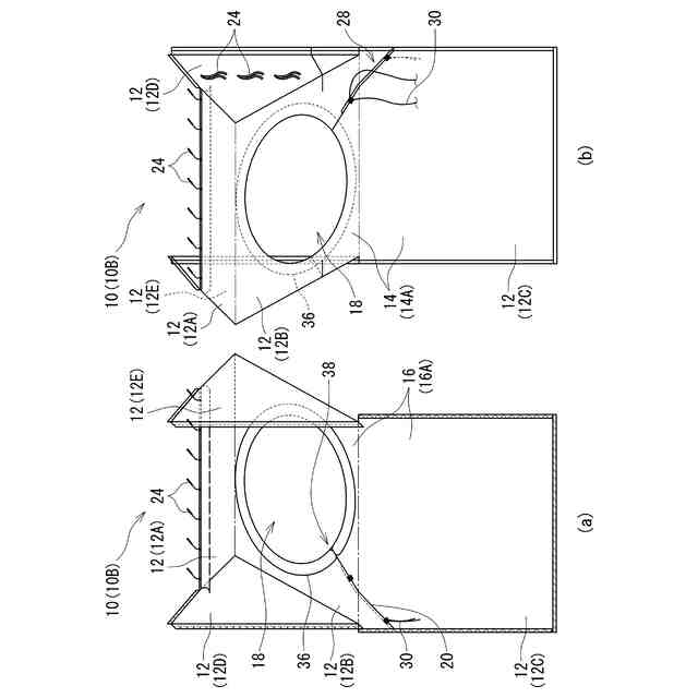
(1)長尺の構造部材を備える構造物において、前記構造部材の一部を取り囲む養生区画を養生シートにより形成するのに用いる養生シート製品であって、耐火耐熱層と気密層とを含む積層構造を有する養生シートと、該養生シートに形成され、前記構造部材が挿通される挿通穴と、該挿通穴の周縁から前記養生シートの端縁まで延びるスリットと、延在方向の一部に分断部分を有する大略環状をなし、前記スリットに対して前記分断部分が位置合わせされた状態で前記挿通穴の周囲に沿って取り付けられる、内部の加圧により膨張するチューブ状部材とを備える養生シート製品。
【0008】
本項に記載の養生シート製品は、構造物が備える長尺の構造部材の一部を取り囲む養生区画に利用されるものであって、養生シート、挿通穴、スリット、及びチューブ状部材を備えている。養生シートは、耐火耐熱層と気密層とを含む積層構造を有しており、それらのうちの耐火耐熱層側が、通常、養生区画の内側になるように設置される。更に、養生シートには、挿通穴及びスリットが形成されており、挿通穴は、長尺の構造部材が挿通される部分であって、構造部材の形状や大きさに合わせて形成される。そして、スリットは、そのような挿通穴の周縁から養生シートの端縁まで延びるように形成され、養生シート製品の設置時に、構造部材が通される部分として使用される。すなわち、スリットが養生シートの端縁側から挿通穴側まで開かれ、開かれたスリットを通して構造部材が挿通穴に配置されるまで、養生シートが移動されたり下ろされたりするものである。
【0009】
更に、チューブ状部材は、内部の加圧によって膨張するものであって、その延在方向の一部に分断部分を有し、分断部分で途切れた大略環状をなしている。また、チューブ状部材は、挿通穴と同様に、構造部材の形状や大きさに合わせて形成され、挿通穴の周囲に沿って、スリットに対して分断部分が位置合わせされた状態で取り付けられる。このため、上記のように養生シート製品が設置される際に、構造部材は、スリット及びチューブ状部材の分断部分を通されて、挿通穴及びチューブ状部材の内周側に配置されることになる。なお、チューブ状部材は、養生区画への養生シート製品の設置時までに、養生シートに取り付けられればよいものである。
【0010】
このような構成により、本項に記載の養生シート製品は、チューブ状部材の内周側に構造部材が配置された状態でチューブ状部材が加圧されると、チューブ状部材が構造部材の貫通部分の外周に密着するものとなる。すなわち、構造部材の形状や大きさに合わせて形成されたチューブ状部材は、その膨張性能が構造部材に対する密着性能として機能するようになり、様々な形状の構造部材に対応して密着するものとなる。しかも、挿通穴及びチューブ状部材に構造部材を挿通してチューブ状部材の内部を加圧すればよいため、取り付け作業が容易に行われるものである。従って、養生シート製品が使用されて養生区画が構築されることにより、構造物に養生区画の内外にまたがる構造部材が存在している場合でも、構造部材の貫通部分の外周に隙間が形成されることなく、気密性に優れた養生区画が容易に構築されるものである。更に、養生シート製品の耐火耐熱層側が養生区画の内側に配置されることで、養生区画内で溶接作業などが行われても、養生シート製品の損傷が防止されるものとなり、更に気密層によって気密性が確保されると共に、十分な風防機能も発揮されるものである。
(【0011】以降は省略されています)
この特許をJ-PlatPat(特許庁公式サイト)で参照する
関連特許
アキレス株式会社
複合シート材の連結方法
1か月前
アキレス株式会社
生分解性樹脂組成物及び成形体
1か月前
アキレス株式会社
養生シート製品、養生区画、及び養生区画の構築方法
29日前
個人
接合構造
1か月前
個人
屋台
1か月前
個人
タッチミー
1か月前
個人
野良猫ハウス
2か月前
個人
フェンス
2か月前
個人
転落防止用手摺
2か月前
個人
安心補助てすり
23日前
積水樹脂株式会社
柵体
2か月前
個人
筋交自動設定装置
1か月前
ニチハ株式会社
建築板
2か月前
個人
ベンリナアングル
1か月前
個人
居住車両用駐車場
2か月前
個人
地下型マンション
4か月前
個人
熱抵抗多層断熱建材
2か月前
個人
鋼管結合資材
4か月前
株式会社タナクロ
テント
4か月前
個人
柵
3か月前
個人
補強部材
2か月前
個人
身体用シェルター
1か月前
株式会社シンケン
住宅
24日前
個人
循環流水式屋根融雪装置
4か月前
個人
身体用シェルター
1か月前
鹿島建設株式会社
壁体
2か月前
成友建設株式会社
建物
2か月前
個人
防災建築物
29日前
三協立山株式会社
構造体
24日前
三協立山株式会社
構造体
8日前
インターマン株式会社
天井構造
3か月前
個人
可搬型供養墓
1か月前
三協立山株式会社
構造体
1か月前
株式会社熊谷組
木質材料
1か月前
株式会社熊谷組
吊り治具
1か月前
三協立山株式会社
構造体
3日前
続きを見る
他の特許を見る