TOP
|
特許
|
意匠
|
商標
特許ウォッチ
Twitter
他の特許を見る
公開番号
2025157606
公報種別
公開特許公報(A)
公開日
2025-10-15
出願番号
2025131544,2021130061
出願日
2025-08-06,2021-08-06
発明の名称
切断装置
出願人
株式会社渋谷潜水工業
,
大成建設株式会社
,
寄神建設株式会社
代理人
個人
,
個人
,
個人
,
個人
,
個人
主分類
E04G
23/08 20060101AFI20251007BHJP(建築物)
要約
【課題】液体中に設置された被切断物の切断に要する時間及びコストを削減するとともに潜水士の身体への負担を軽減することが可能な切断装置を提供する。
【解決手段】被切断物を切断する際に用いられる切断装置であって、ベースフレームと、基端側がそれぞれベースフレームに固定された第1アーム及び第2アームと、第1アームによって支持された第1滑車と、第2アームによって支持された第2滑車と、第1滑車及び第2滑車によって支持され、第1滑車と第2滑車との間の領域で被切断物に接触する無端のワイヤーソーと、ワイヤーソーを走行させる駆動機構と、被切断物を切断する際に、第1滑車を第1アームの基端側から先端側へと向かう方向に移動させる第1移動機構と、被切断物を切断する際に、第2滑車を第2アームの基端側から先端側へと向かう方向に移動させる第2移動機構と、を備える。
【選択図】図1
特許請求の範囲
【請求項1】
被切断物を液体中で切断する際に用いられる切断装置であって、
ベースフレームと、
基端側がそれぞれ前記ベースフレームに固定された第1アーム及び第2アームと、
前記第1アームによって支持された第1滑車と、
前記第2アームによって支持された第2滑車と、
前記第1滑車及び前記第2滑車によって支持され、前記第1滑車と前記第2滑車との間の領域で前記被切断物に接触する無端のワイヤーソーと、
前記ワイヤーソーを走行させる駆動機構と、
前記被切断物を切断する際に、前記第1滑車を前記第1アームの前記基端側から先端側へと向かう方向に移動させる第1移動機構と、
前記被切断物を切断する際に、前記第2滑車を前記第2アームの前記基端側から先端側へと向かう方向に移動させる第2移動機構と、を備え、
前記第1移動機構は、前記第1滑車が連結された第1可動体を備え、
前記第2移動機構は、前記第2滑車が連結された第2可動体を備え、
前記第1可動体及び前記第2可動体の少なくとも一方に圧力計を備えることを特徴とする切断装置。
続きを表示(約 750 文字)
【請求項2】
被切断物を液体中で切断する際に用いられる切断装置であって、
ベースフレームと、
基端側がそれぞれ前記ベースフレームに固定された第1アーム及び第2アームと、
前記第1アームによって支持された第1滑車と、
前記第2アームによって支持された第2滑車と、
前記第1滑車及び前記第2滑車によって支持され、前記第1滑車と前記第2滑車との間の領域で前記被切断物に接触する無端のワイヤーソーと、
前記ワイヤーソーを走行させる駆動機構と、
前記被切断物を切断する際に、前記第1滑車を前記第1アームの前記基端側から先端側へと向かう方向に移動させる第1移動機構と、
前記被切断物を切断する際に、前記第2滑車を前記第2アームの前記基端側から先端側へと向かう方向に移動させる第2移動機構と、を備え、
前記第1移動機構は、前記第1滑車が連結された第1可動体を備え、
前記第2移動機構は、前記第2滑車が連結された第2可動体を備え、
前記第1可動体及び前記第2可動体の少なくとも一方にカメラを備えることを特徴とする切断装置。
【請求項3】
前記駆動機構、前記第1移動機構、前記第2移動機構、及び前記圧力計は、コントローラに接続されていることを特徴とする、請求項1に記載の切断装置。
【請求項4】
前記駆動機構、前記第1移動機構、前記第2移動機構、及び前記カメラは、コントローラに接続されていることを特徴とする、請求項2に記載の切断装置。
【請求項5】
前記ベースフレーム及び前記駆動機構を覆うカバーをさらに備えることを特徴とする、請求項1乃至4のいずれかに記載の切断装置。
発明の詳細な説明
【技術分野】
【0001】
本発明は、被切断物を切断する際に用いられる切断装置、及び、該切断装置を用いて被切断物を切断する被切断物の切断方法に関する。
続きを表示(約 2,300 文字)
【背景技術】
【0002】
建築工事や土木工事においては、鉄筋コンクリート建造物、鋼管、橋梁等の各種の構造物の解体、撤去に際して、ワイヤーソーイング工法が用いられる。ワイヤーソーイング工法では、ワイヤーソーを切断の対象物(被切断物)に巻き付け、所定の張力をかけながら高速で走行させることにより、被切断物を切断する。また、ワイヤーソーによる被切断物の切断には、ワイヤーソーを滑車で支持して被切断物に押し付ける、いわゆる押し切り方式が用いられることもある(特許文献1等参照)。
【先行技術文献】
【特許文献】
【0003】
特開2014-69529号公報
【発明の概要】
【発明が解決しようとする課題】
【0004】
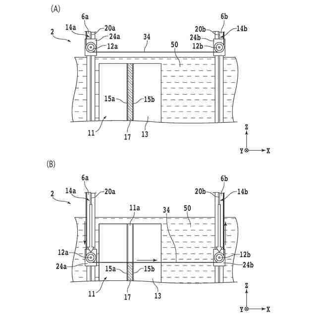
被切断物の切断作業は、ダム、堤防、橋梁の建設のような、河川、海洋、港湾等における工事においても実施される。例えば、河川におけるダムの建設では、河川水中に設置された複数の鋼管矢板で囲まれる領域の内側で水面下の建設作業が行われ、工事の最終段階において鋼管矢板が切断、撤去される。このような水中に設置された被切断物の切断は、潜水士による水中アーク切断によって行われることが主流となっている。
【0005】
しかしながら、潜水士が水中で連続して作業可能な時間には限界があり、水中における被切断物の切断は作業を頻繁に中断しながら断続的に進めざるを得ない。そのため、水中アーク切断による被切断物の切断には時間とコストがかかる。また、水中で長時間の作業を行うと潜水士の身体に負担がかかり、潜水事故のリスクが高まるという問題もある。特に、鋼管矢板のような大規模な構造物が水中に設置されている場合には、施工期間の長期化及び施工コストの増加が顕著になる上、水深が深い場所での作業も必要となり潜水士の身体への負担も増大する。
【0006】
本発明は、かかる問題に鑑みてなされたものであり、液体中に設置された被切断物の切断に要する時間及びコストを削減するとともに潜水士の身体への負担を軽減することが可能な切断装置、及び、該切断装置を用いた被切断物の切断方法の提供を目的とする。
【課題を解決するための手段】
【0007】
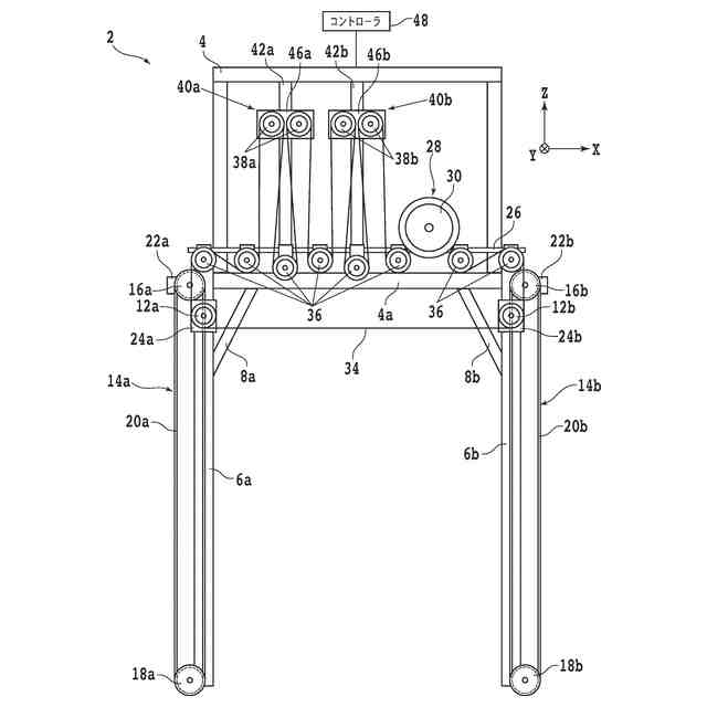
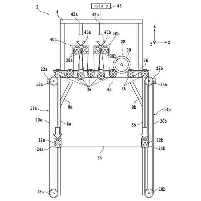
本発明の一態様によれば、被切断物を液体中で切断する際に用いられる切断装置であって、ベースフレームと、基端側がそれぞれ前記ベースフレームに固定された第1アーム及び第2アームと、前記第1アームによって支持された第1滑車と、前記第2アームによって支持された第2滑車と、前記第1滑車及び前記第2滑車によって支持され、前記第1滑車と前記第2滑車との間の領域で前記被切断物に接触する無端のワイヤーソーと、前記ワイヤーソーを走行させる駆動機構と、前記被切断物を切断する際に、前記第1滑車を前記第1アームの前記基端側から先端側へと向かう方向に移動させる第1移動機構と、前記被切断物を切断する際に、前記第2滑車を前記第2アームの前記基端側から先端側へと向かう方向に移動させる第2移動機構と、を備え、前記第1移動機構は、前記第1滑車が連結された第1可動体を備え、前記第2移動機構は、前記第2滑車が連結された第2可動体を備え、前記第1可動体及び前記第2可動体の少なくとも一方に圧力計を備える切断装置が提供される。
【0008】
また、本発明の他の一態様によれば、被切断物を液体中で切断する際に用いられる切断装置であって、ベースフレームと、基端側がそれぞれ前記ベースフレームに固定された第1アーム及び第2アームと、前記第1アームによって支持された第1滑車と、前記第2アームによって支持された第2滑車と、前記第1滑車及び前記第2滑車によって支持され、前記第1滑車と前記第2滑車との間の領域で前記被切断物に接触する無端のワイヤーソーと、前記ワイヤーソーを走行させる駆動機構と、前記被切断物を切断する際に、前記第1滑車を前記第1アームの前記基端側から先端側へと向かう方向に移動させる第1移動機構と、前記被切断物を切断する際に、前記第2滑車を前記第2アームの前記基端側から先端側へと向かう方向に移動させる第2移動機構と、を備え、前記第1移動機構は、前記第1滑車が連結された第1可動体を備え、前記第2移動機構は、前記第2滑車が連結された第2可動体を備え、前記第1可動体及び前記第2可動体の少なくとも一方にカメラを備える切断装置が提供される。
【0009】
なお、好ましくは、前記駆動機構、前記第1移動機構、前記第2移動機構、及び前記圧力計は、コントローラに接続されている。また、好ましくは、前記駆動機構、前記第1移動機構、前記第2移動機構、及び前記カメラは、コントローラに接続されている。また、好ましくは、前記切断装置は、前記ベースフレーム及び前記駆動機構を覆うカバーをさらに備える。
【発明の効果】
【0010】
本発明の一態様に係る切断装置は、第1滑車を支持する第1アームと第2滑車を支持する第2アームとを備え、第1滑車及び第2滑車によって支持されたワイヤーソーを走行させつつ第1アームと第2アームとの間に配置された被切断物に接触させることによって被切断物を切断する。これにより、液体中に配置された被切断物を自動で連続的に切断することが可能になり、被切断物の切断に要する時間及びコストが大幅に削減される。また、液体中における潜水士の作業量が低減され、潜水士の身体への負担が軽減される。
【図面の簡単な説明】
(【0011】以降は省略されています)
この特許をJ-PlatPat(特許庁公式サイト)で参照する
関連特許
株式会社渋谷潜水工業
切断装置
16日前
個人
接合構造
25日前
個人
タッチミー
24日前
個人
屋台
1か月前
個人
野良猫ハウス
1か月前
個人
転落防止用手摺
1か月前
個人
安心補助てすり
8日前
個人
フェンス
2か月前
個人
地下型マンション
4か月前
個人
ベンリナアングル
24日前
積水樹脂株式会社
柵体
1か月前
個人
居住車両用駐車場
2か月前
ニチハ株式会社
建築板
2か月前
個人
筋交自動設定装置
1か月前
個人
鋼管結合資材
4か月前
個人
熱抵抗多層断熱建材
1か月前
株式会社タナクロ
テント
4か月前
個人
柵
2か月前
個人
補強部材
1か月前
成友建設株式会社
建物
1か月前
鹿島建設株式会社
壁体
2か月前
個人
身体用シェルター
1か月前
株式会社シンケン
住宅
9日前
個人
身体用シェルター
1か月前
個人
防災建築物
14日前
個人
循環流水式屋根融雪装置
4か月前
三協立山株式会社
構造体
9日前
株式会社大林組
接合構造
4日前
株式会社熊谷組
床構成材
22日前
イワブチ株式会社
組立柱
1か月前
株式会社熊谷組
木質材料
1か月前
インターマン株式会社
天井構造
2か月前
三協立山株式会社
構造体
1か月前
三協立山株式会社
構造体
4か月前
個人
可搬型供養墓
1か月前
三洋工業株式会社
床構造
9日前
続きを見る
他の特許を見る