TOP
|
特許
|
意匠
|
商標
特許ウォッチ
Twitter
他の特許を見る
10個以上の画像は省略されています。
公開番号
2025121283
公報種別
公開特許公報(A)
公開日
2025-08-19
出願番号
2024016640
出願日
2024-02-06
発明の名称
推定装置および推定方法
出願人
大成建設株式会社
,
株式会社演算工房
,
株式会社エイシング
代理人
弁理士法人磯野国際特許商標事務所
主分類
E21D
9/093 20060101AFI20250812BHJP(地中もしくは岩石の削孔;採鉱)
要約
【課題】力点の設定を速やかに行えると共に、何らかの理由によって目標に対して方向がずれた場合でも力点の見直しの必要性を早期に判断できる。
【解決手段】シールド掘進機10の進行に推奨される力点位置および進行経路を推定する推定装置30であって、力点位置を含むシールド掘進機10の複数の制御データ、および、リング終端での到達目標となるリング到達目標座標を取得する推定装置用データ取得部41と、前記リング到達目標座標までの進行において推奨される力点推奨位置を推定する力点推奨位置推定部44と、前記リング終端において到達が予測されるリング到達予測座標を推定する、または、現在位置での前記シールド掘進機の方向に基づいて設定される推論基準直線から前記リング到達予測座標までの到達予測偏差量を推定するリング到達予測座標推定部46とを備える。または、上記到達予測座標をシステム画面に表示することにより、容易に確認ができる。
【選択図】図1
特許請求の範囲
【請求項1】
シールド掘進機の進行に推奨される力点位置および進行経路を推定する推定装置であって、
力点位置を含む前記シールド掘進機の複数の制御データ、および、リング終端での到達目標となるリング到達目標座標を取得する推定装置用データ取得部と、
前記リング到達目標座標までの進行において推奨される力点推奨位置を推定する力点推奨位置推定部と、
前記リング終端において到達が予測されるリング到達予測座標を推定する、または、現在位置での前記シールド掘進機の方向に基づいて設定される推論基準直線から前記リング到達予測座標までの到達予測偏差量を推定するリング到達予測座標推定部と、を備える、
ことを特徴とする推定装置。
続きを表示(約 2,200 文字)
【請求項2】
前記推論基準直線上でのシールド掘進機からの所定距離を示す推論基準長が基準として用いられ、
前記力点推奨位置推定部は、少なくとも、前記力点位置を除いた1以上の制御データ、および、現在位置から幾何的に求めた計画進行経路を推論基準長だけ進んだ後での基準長計画目標座標と推論基準長終点との計画偏差量を、力点推奨位置推定用学習モデルに入力することによって前記力点推奨位置を出力するものであり、
前記力点推奨位置推定用学習モデルは、シールド掘進機の過去の進行において取得したデータに基づいて作成されたモデルであり、前記力点位置を除いた1以上の制御データ、および、現在位置から推論基準長だけ進んだ後での実際の位置である基準長到達座標と推論基準長終点との到達偏差量を説明変数データとし、前記シールド掘進機が現在位置から推論基準長だけ進む間に実際に制御を行った力点位置を目的変数データとする学習データを用いて、学習することにより作成されたモデルであり、
前記リング到達予測座標推定部は、
少なくとも、前記力点位置を含む複数の制御データを到達座標推定用学習モデルに入力することによって、前記推論基準長だけ進んだ後で前記シールド掘進機の到達が予測される基準長到達予測座標と前記推論基準長終点との到達予測偏差量を出力する基準長到達予測座標推定部と、
前記到達予測偏差量に基づいて前記リング到達予測座標を求める、または、推論基準直線から前記リング到達予測座標までの到達予測偏差量を求めるリング到達予測座標出力部と、を有し、
前記到達座標推定用学習モデルは、シールド掘進機の過去の進行において取得したデータに基づいて作成されたモデルであり、前記シールド掘進機が現在位置から推論基準長だけ進む間に実際に制御を行った前記力点位置を含む複数の制御データを説明変数データとし、現在位置から推論基準長だけ進んだ後での実際の位置である基準長到達座標と推論基準長終点との到達偏差量を目的変数データとする学習データを用いて、学習することにより作成されたモデルである、
ことを特徴とする請求項1に記載の推定装置。
【請求項3】
前記力点推奨位置推定部は、
現在位置、前記推論基準直線上でのリング終端までの残りストロークおよび前記リング到達目標座標との位置関係に基づいて、前記リング終端での計画偏差量を求め、
前記推論基準長、前記リング終端までの残りストロークおよび前記リング終端での計画偏差量に基づいて、基準長計画目標座標と推論基準長終点との計画偏差量とを算出し、
基準長計画目標座標と推論基準長終点との計画偏差量を力点推奨位置推定用学習モデルに入力する、
ことを特徴とする請求項2に記載の推定装置。
【請求項4】
前記リング到達予測座標出力部は、
前記推論基準長、前記リング終端までの残りストロークおよび基準長到達予測座標と前記推論基準長終点との到達予測偏差量に基づいて、前記リング到達予測座標を算出する、または、前記推論基準直線から前記リング到達予測座標までの到達予測偏差量を算出する、
ことを特徴とする請求項2に記載の推定装置。
【請求項5】
前記力点推奨位置推定用学習モデルは、力点位置に推論基準長の残りの割合を重みとして乗算し、推論基準長内でのすべての乗算値の平均値を目的変数データとした学習データによって作成され、
前記到達座標推定用学習モデルは、力点位置に推論基準長の残りの割合を重みとして乗算し、推論基準長内でのすべての乗算値の平均値を説明変数データとした学習データによって作成されたものである、
ことを特徴とする請求項2に記載の推定装置。
【請求項6】
距離が異なる2以上の推論基準長を定義し、前記リング終端までの残りストロークに応じて何れかの前記推論基準長を用いるかを選択する、
ことを特徴とする請求項2に記載の推定装置。
【請求項7】
所定間隔で距離が異なる2以上の推論基準長を定義し、
学習段階においては、すべての前記推論基準長を用いてモデルの学習を行い、
推定段階においては、前記リング終端までの残りストロークに応じて決定した1つの前記推論基準長を用いる、
ことを特徴とする請求項2に記載の推定装置。
【請求項8】
学習段階および推定段階において、各々の座標および偏差を水平方向、および、垂直方向の二つに分けて処理する、
ことを特徴とする請求項2に記載の推定装置。
【請求項9】
シールド掘進機の進行に推奨される力点位置および進行経路を推定する推定方法であって、
力点位置を含む前記シールド掘進機の複数の制御データ、および、リング終端での到達目標となるリング到達目標座標を取得する推定装置用データ取得工程と、
前記リング到達目標座標までの進行において推奨される力点推奨位置を推定する力点推奨位置推定工程と、
前記リング終端において到達が予測されるリング到達予測座標を推定する、または、現在位置での前記シールド掘進機の方向に基づいて設定される推論基準直線から前記リング到達予測座標までの到達予測偏差量を推定するリング到達予測座標推定工程と、を有する、
ことを特徴とする推定方法。
発明の詳細な説明
【技術分野】
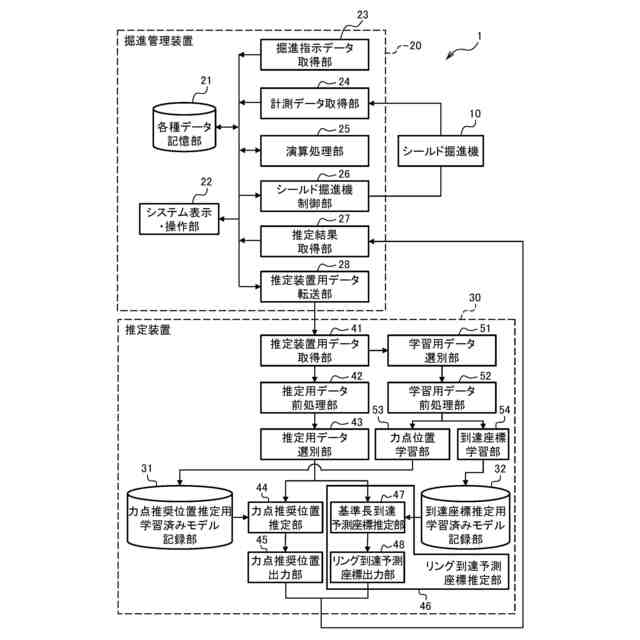
【0001】
本発明は、推定装置および推定方法に関する。
続きを表示(約 2,000 文字)
【背景技術】
【0002】
トンネルの施工方法としてシールド掘進機を用いるものがある。シールド掘進機は、計画された掘進指示書に従って掘進するように操作される。掘進指示書には、(1)各々のリングの掘削終了時における水平方向の方位(指示方位)または左右シールドジャッキストローク差、および、(2)鉛直方向の方位(指示ピッチング)または上下シールドジャッキストローク差が示されたトンネル掘進指示値が記載され、トンネル計画線にそって掘進するようにシールド掘進機が制御される。シールド掘進機は、後部に配置される複数のシールドジャッキを備えており、これらのシールドジャッキを制御することによって掘進方向が変更される。つまり、各々のシールドジャッキのON/OFFを選択することで(または、各々のシールドジャッキの圧力を制御することで)、シールド掘進機に作用する力点を変えて方向を制御する。例えば、すべてのシールドジャッキの推進力を均等にした場合、水平方向および鉛直方向に対して力点が中心になるので、理論上、シールド掘進機は直進する。
【0003】
従来、シールド掘進機の力点の位置を推定する推定装置が存在する(例えば、特許文献1参照)。この推定装置は、シールド掘進機の掘進の方向に関する方向データを取得する方向データ取得部と、少なくとも前記方向データを含むデータを推定モデルに入力することにより、前記シールド掘進機が掘進すべき力点の位置を推定する力点位置推定部を備える。前記推定モデルは、前記方向データに対応するデータを含む入力データに前記シールド掘進機が掘進すべき力点の位置が対応づけられた学習データを用いて機械学習を実行することにより作成されたモデルである。
【先行技術文献】
【特許文献】
【0004】
特開2019-143385号公報
【発明の概要】
【発明が解決しようとする課題】
【0005】
ここで、シールド掘進機の構造(一例は、シールドジャッキの油圧制御弁の装備の有無)によっては、設定可能な力点の位置が制約されるため、実際の力点と推奨される力点とにずれが生じる場合がある。推奨力点に力点を一致させることができない場合には、シールド掘進機を目標座標に到達させることが難しくなる。
また、シールド掘進機の癖(真っ直ぐに掘進しても、左に曲がる癖等)、重心、不均一な地盤条件、余堀量などの様々な要因で、推奨力点に力点を設定して掘進しても、目標座標に到達することができない場合もある。
【0006】
これらの場合、目標座標に対する到達座標のずれを認識するのが目標座標に近づいてからになるので、シールド掘進機の進行が安定したものではなく、その後の軌道修正が難しい場合もある。
【0007】
このような観点から、本発明は、力点の設定を速やかに行えると共に、何らかの理由によって目標に対して方向がずれた場合でも力点の見直しの必要性を早期に判断できる、推定装置および推定方法を提供する。
【課題を解決するための手段】
【0008】
本発明に係る推定装置は、シールド掘進機の進行に推奨される力点位置および進行経路を推定する装置である。この推定装置は、推定装置用データ取得部と、力点推奨位置推定部と、リング到達予測座標推定部とを備える。
推定装置用データ取得部は、力点位置を含む前記シールド掘進機の複数の制御データ、および、リング終端での到達目標となるリング到達目標座標を取得する。
力点推奨位置推定部は、前記リング到達目標座標までの進行において推奨される力点推奨位置を推定する。
リング到達予測座標推定部は、前記リング終端において到達が予測されるリング到達予測座標を推定する、または、現在位置での前記シールド掘進機の方向に基づいて設定される推論基準直線から前記リング到達予測座標までの到達予測偏差量を推定する。
【0009】
本発明に係る推定装置においては、力点推奨位置が推定されるので、力点の設定を速やかに行える。また、到達予測座標が推定されるので、何らかの理由(一例は、シールド掘進機の構造、癖、地盤条件など)によって目標に対して方向がずれた場合でも力点の見直しの必要性を早期に判断できる。
【0010】
前記推論基準直線上でのシールド掘進機からの所定距離を示す推論基準長が基準として用いてもよい。
前記力点推奨位置推定部は、少なくとも、前記力点位置を除いた1以上の制御データ、および、現在位置から幾何的に求めた計画進行経路を推論基準長だけ進んだ後での基準長計画目標座標と推論基準長終点との計画偏差量を、力点推奨位置推定用学習モデルに入力することによって前記力点推奨位置を出力するものであってよい。
(【0011】以降は省略されています)
この特許をJ-PlatPat(特許庁公式サイト)で参照する
関連特許
大成建設株式会社
送電装置
9日前
大成建設株式会社
推定方法
1か月前
大成建設株式会社
防振床構造
9日前
大成建設株式会社
風洞実験装置
27日前
大成建設株式会社
気体貯蔵放出材料
9日前
大成建設株式会社
地盤計測システム
1か月前
大成建設株式会社
締固め状態推定方法
2日前
大成建設株式会社
木材性状推定システム
2か月前
大成建設株式会社
炭酸カルシウムの製造装置
9日前
大成建設株式会社
緑化構造物および緑化方法
2日前
大成建設株式会社
足場装置および足場構築方法
1か月前
大成建設株式会社
木材縦弾性係数推定システム
2か月前
大成建設株式会社
電力供給装置及び電力供給方法
1か月前
大成建設株式会社
土壌改良剤、及び土壌改良方法
1か月前
大成建設株式会社
仮設鋼床版および床版取替工法
1か月前
大成建設株式会社
免震基礎構造およびその構築方法
1か月前
大成建設株式会社
中和処理システムと中和処理方法
9日前
大成建設株式会社
建物の健全性モニタリングシステム
10日前
大成建設株式会社
単杭の極限先端支持力度の評価方法
1か月前
大成建設株式会社
風力発電方法および風力発電システム
17日前
大成建設株式会社
内空変位計測システム及び内空変位計測方法
1か月前
大成建設株式会社
消音設計支援システム、防振設計支援システム
1か月前
大成建設株式会社
木質構造部材の補強構造、及び木質構造部材の補強方法
1か月前
大成建設株式会社
制振建物
9日前
大成建設株式会社
杭基礎構造
9日前
大成建設株式会社
RC壁架構
9日前
大成建設株式会社
インバート変位計測システムおよびインバート変位計測方法
1か月前
大成建設株式会社
車両用ワイヤレス給電システム及び車両用ワイヤレス給電方法
17日前
大成建設株式会社
積層体部材、構造体、積層体部材を用いて構造体を構築する方法
1か月前
JFEシビル株式会社
トンネル間地盤性状の調査方法及び装置
1か月前
大成建設株式会社
音源位置決定方法、音源位置決定プログラムおよび音源位置決定装置
17日前
大成建設株式会社
既設橋脚におけるアンカーボルトの施工方法およびブラケットの取付構造
1か月前
アキレス株式会社
養生シート製品、養生区画、及び養生区画の構築方法
1か月前
株式会社渋谷潜水工業
切断装置
1か月前
大成建設株式会社
ソイルモルタル製造システム、ソイルモルタル製造方法およびソイルモルタル打設方法
1か月前
浙江大学
深層学習に基づく損傷判定方法
1か月前
続きを見る
他の特許を見る