TOP
|
特許
|
意匠
|
商標
特許ウォッチ
Twitter
他の特許を見る
10個以上の画像は省略されています。
公開番号
2025158264
公報種別
公開特許公報(A)
公開日
2025-10-17
出願番号
2024060637
出願日
2024-04-04
発明の名称
防雪パネル
出願人
株式会社セイトク
代理人
個人
主分類
E01F
7/02 20060101AFI20251009BHJP(道路,鉄道または橋りょうの建設)
要約
【課題】構造が簡単でネットを容易に展張させることができる防雪パネルを提供する。
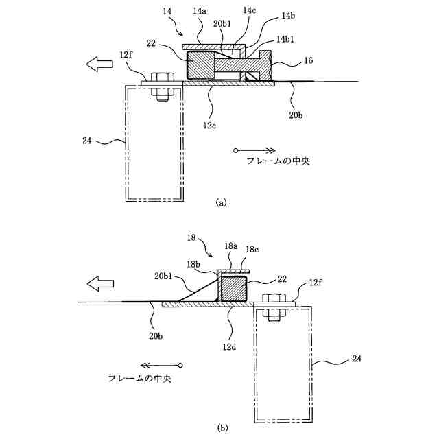
【解決手段】フレームの左側又は右側の部材に取り付けられた第1ブラケットを備え、第1ブラケットが、取り付けられた部材と平行に配置された第1部分、及び第1部分のフレームの中央の側に位置する端に第1部分と直交するように配置された第2部分を有し、第2部分のねじ穴に、先端が中央の側と反対側に位置するようにねじ込まれた調整ボルトと、フレームの開口を覆うネット構造体と、第1部分、第2部分及び取り付けられた部材によって形成された凹所内に配置された垂直部材とを備え、ネット構造体に取り付けられたリング状部分に垂直部材が通され、先端を垂直部材に接触させて調整ボルトをねじ込むことによりネット構造体を展張させるように構成されている。
【選択図】図1
特許請求の範囲
【請求項1】
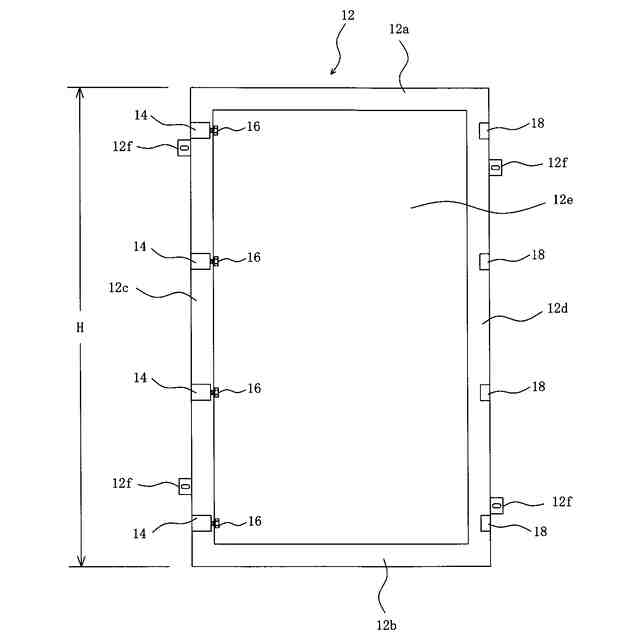
上側部材、下側部材、右側部材および左側部材からなり、中央に開口が設けられた矩形のフレームを有する防雪パネルであって、
前記右側部材又は前記左側部材に取り付けられた、少なくとも2個の第1ブラケットと、
前記左側部材又は前記右側部材に取り付けられた、少なくとも2個の第2ブラケットとを備え、
前記第1ブラケットが各々、前記取り付けられた前記左側部材又は前記右側部材と平行に配置された第1部分、および前記第1部分の前記フレームの中央の側に位置する端に前記第1部分と直交するように配置された第2部分を有し、前記第1部分、前記第2部分および前記取り付けられた前記左側部材又は前記右側部材によって凹所が形成されており、
前記第2ブラケットが各々、前記取り付けられた前記右側部材又は前記左側部材と平行に配置された第3部分、および前記第3部分の前記フレームの中央の側に位置する端に前記第3部分と直交するように配置された第4部分を有し、前記第3部分、前記第4部分、および前記取り付けられた前記右側部材又は前記左側部材によって凹所が形成されており、
前記第1ブラケットの前記第2部分に設けられたねじ穴に、先端が前記中央の側と反対側に位置するようにねじ込まれた調整ボルトと、
前記フレームの前記開口を覆うネット構造体と、
前記第1ブラケットおよび前記第2ブラケットの前記凹所内にそれぞれ配置され、前記フレームの縦方向寸法と同じ長さを有し、横断面が前記凹所の横断面よりも小さい垂直部材とをさらに備え、
前記ネット構造体の右端と左端に複数個のリング状部分がそれぞれ取り付けられ、前記リング状部分にそれぞれ、前記垂直部材が通されており、
前記調整ボルトの前記先端を前記垂直部材に接触させて前記調整ボルトをねじ込むことにより、前記ネット構造体を前記フレームの中央から遠去かる方向に移動させて前記ネット構造体を展張させるように構成されていることを特徴とする防雪パネル。
続きを表示(約 340 文字)
【請求項2】
前記ネット構造体が、ネットと、前記ネットの右端と左端にそれぞれ取り付けられた補強材とを有し、前記リング状部分が前記補強材にそれぞれ取り付けられていることを特徴とする請求項1に記載された防雪パネル。
【請求項3】
前記ブラケットのうち最上位のブラケットが、上端が前記上側部材の上端から所定距離の個所に位置し、最下位のブラケットが、下端が前記下側部材の下端から所定距離の個所に位置するように取り付けられていることを特徴とする請求項1または2に記載された防雪パネル。
【請求項4】
前記リング状部分が、前記ブラケットが位置する個所以外の個所に取り付けられていることを特徴とする請求項1から請求項3までのいずれか1項に記載された防雪パネル。
発明の詳細な説明
【技術分野】
【0001】
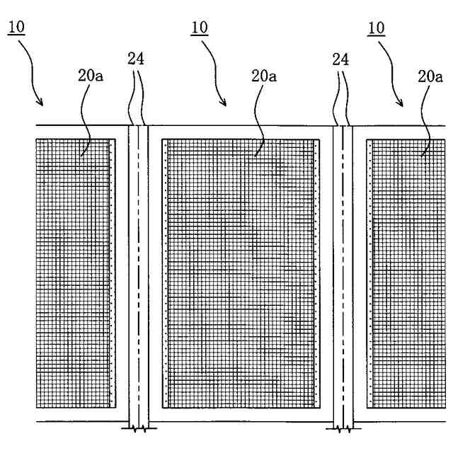
本発明は一般に、防雪パネルに関する。より詳細には、本発明は、簡単な構造でネットを容易に展張させることができる防雪パネルに関する。本明細書において「展張」とは、ネットを実質的にたるみがない状態にすることを意味する。
続きを表示(約 2,000 文字)
【背景技術】
【0002】
東日本大震災以降、各地の海岸線に津波避難用タワーが建設されるようになっている。このような津波避難用タワーを積雪地帯に設置しようとする場合、タワーの階段やスロープに雪が吹き込むため、雪の吹き込みを防ぐための防雪設備の設置が必要となる。
【0003】
一般的な防雪設備としては、種々の形式のものが提案されている(例えば、特許文献1)が、構造が複雑なものが多い。
【0004】
特許第6754529号公報
【発明の概要】
【発明が解決しようとする課題】
【0005】
本発明は、このような状況に鑑みて開発されたものであって、構造が簡単でネットを容易に展張させることができる防雪パネルを提供することを目的としている。本発明の防雪パネルは、上記津波避難用タワーへの設置のみならず、一般的な防雪環境を提供することもできる。
【課題を解決するための手段】
【0006】
本願請求項1に記載の、上側部材、下側部材、右側部材および左側部材からなり、中央に開口が設けられた矩形のフレームを有する防雪パネルは、前記右側部材又は前記左側部材に取り付けられた、少なくとも2個の第1ブラケットと、前記左側部材又は前記右側部材に取り付けられた、少なくとも2個の第2ブラケットとを備え、前記第1ブラケットが各々、前記取り付けられた前記左側部材又は前記右側部材と平行に配置された第1部分、および前記第1部分の前記フレームの中央の側に位置する端に前記第1部分と直交するように配置された第2部分を有し、前記第1部分、前記第2部分および前記取り付けられた前記左側部材又は前記右側部材によって凹所が形成されており、前記第2ブラケットが各々、前記取り付けられた前記右側部材又は前記左側部材と平行に配置された第3部分、および前記第3部分の前記フレームの中央の側に位置する端に前記第3部分と直交するように配置された第4部分を有し、前記第3部分、前記第4部分、および前記取り付けられた前記右側部材又は前記左側部材によって凹所が形成されており、前記第1ブラケットの前記第2部分に設けられたねじ穴に、先端が前記中央の側と反対側に位置するようにねじ込まれた調整ボルトと、前記フレームの前記開口を覆うネット構造体と、前記第1ブラケットおよび前記第2ブラケットの前記凹所内にそれぞれ配置され、前記フレームの縦方向寸法と同じ長さを有し、横断面が前記凹所の横断面よりも小さい垂直部材とをさらに備え、前記ネット構造体の右端と左端に複数個のリング状部分がそれぞれ取り付けられ、前記リング状部分にそれぞれ、前記垂直部材が通されており、前記調整ボルトの前記先端を前記垂直部材に接触させて前記調整ボルトをねじ込むことにより、前記ネット構造体を前記フレームの中央から遠去かる方向に移動させて前記ネット構造体を展張させるように構成されていることを特徴とするものである。
【0007】
本願請求項2に記載の防雪パネルは、前記請求項1の防雪パネルにおいて、前記ネット構造体が、ネットと、前記ネットの右端と左端にそれぞれ取り付けられた補強材とを有し、前記リング状部分が前記補強材にそれぞれ取り付けられていることを特徴とするものである。
【0008】
本願請求項3に記載の防雪パネルは、前記請求項1又は請求項2の防雪パネルにおいて、前記ブラケットのうち最上位のブラケットが、上端が前記上側部材の上端から所定距離の個所に位置し、最下位のブラケットが、下端が前記下側部材の下端から所定距離の個所に位置するように取り付けられていることを特徴とするものである。
【0009】
本願請求項4に記載の防雪パネルは、前記請求項1から請求項3までのいずれか1項の防雪パネルにおいて、前記リング状部分が、前記ブラケットが位置する個所以外の個所に取り付けられていることを特徴とするものである。
【発明の効果】
【0010】
本発明の防雪パネルによれば、調整ボルトをねじ込むことにより、ネットを展張させることができる。これにより、ネットのたるみを容易になくして、たるみにより生ずるネットのバタつきを防止し、バタつきによる擦れから引き起こされるネットの耐久性の低下を回避することができるとともに、景観(見栄え)の向上にも寄与することが可能になる。また、本発明の防雪パネルでは、ハトメ構造でネットを固定する従来のこの種の防雪設備とは異なり、一定長さを有する線構造でネットを引っ張るため、ネットに余分な負荷がかかりにくく、この点においても、ネットの耐久性の向上が期待できる。さらに、本発明の防雪パネルは、構造が簡単であるため、製造コストを比較的安価に抑えることができ、維持管理も容易である。
【図面の簡単な説明】
(【0011】以降は省略されています)
この特許をJ-PlatPat(特許庁公式サイト)で参照する
関連特許
株式会社セイトク
防雪パネル
1か月前
個人
掃除装置
2日前
積水樹脂株式会社
カバー体
2日前
株式会社熊谷組
床版
4日前
コスモテック株式会社
表示装置
1か月前
株式会社パロマ
融雪装置
9日前
株式会社 林物産発明研究所
道路安全体
17日前
戸田建設株式会社
コンクリート構造
1か月前
戸田建設株式会社
鋼製ブラケットの取付装置
1か月前
西松建設株式会社
耐震補強方法
9日前
戸田建設株式会社
鋼製ブラケットの取付装置
1か月前
株式会社丸治コンクリート工業所
防護柵
11日前
株式会社川金コアテック
橋梁用鋼弾塑性ダンパー
25日前
個人
充填剤及びそれが充填された人工芝
9日前
鹿島建設株式会社
床版架設方法
1か月前
鹿島建設株式会社
壁高欄の施工方法
10日前
ダンレックス株式会社
表示装置
18日前
宮地エンジニアリング株式会社
ワイヤブリッジの設置方法
1か月前
株式会社朝日設計事務所
床版橋の梁組合せ床版及び施工方法
9日前
酒井重工業株式会社
建設車両
2日前
愛知製鋼株式会社
磁気マーカの施工方法および施工用の補助工具
1か月前
ワールド開発工業株式会社
センサ用支持体およびロードローラー
3日前
清水建設株式会社
床版架設装置および床版架設方法
17日前
PUMP MAN株式会社
路面成型補助部材、及び、路面成型方法
1か月前
公益財団法人鉄道総合技術研究所
レール締結用工具
2日前
オリエンタル白石株式会社
馬蹄形ジベルの合成床版撤去工法
1か月前
ミネベアミツミ株式会社
冠水検出ユニット
4日前
日本製鉄株式会社
仮設橋による施工方法
17日前
個人
蓄光性の白色モルタル、その硬化体、及びその硬化体の耐候性強化方法。
2日前
花王株式会社
アスファルト添加剤組成物
3日前
花王株式会社
アスファルト添加剤組成物
3日前
三井住友建設株式会社
床版揚重装置及び床版工事設備
1か月前
公益財団法人鉄道総合技術研究所
バラスト軌道つき固め装置及び方法
2日前
株式会社ミライト・ワン
ボラード
1か月前
公益財団法人鉄道総合技術研究所
バラスト軌道つき固め装置及び方法
2日前
株式会社安藤・間
橋梁健全度評価システム
1か月前
続きを見る
他の特許を見る