TOP
|
特許
|
意匠
|
商標
特許ウォッチ
Twitter
他の特許を見る
10個以上の画像は省略されています。
公開番号
2025156854
公報種別
公開特許公報(A)
公開日
2025-10-15
出願番号
2024059576
出願日
2024-04-02
発明の名称
コーンベット型電源装置
出願人
西尾レントオール株式会社
代理人
個人
主分類
E01F
13/02 20060101AFI20251007BHJP(道路,鉄道または橋りょうの建設)
要約
【課題】コーンベット型の新しい電源装置を提供する。
【解決手段】円錐状の本体部(101)を有するロードコーン(100)に取り付け可能に構成されたコーンベット型電源装置(10)であって、充放電可能な電源部(12)と、外部へ電力を出力する出力部(13)と、を備える。
【選択図】図5
特許請求の範囲
【請求項1】
円錐状の本体部を有するロードコーンに取り付け可能に構成されたコーンベット型電源装置であって、
充放電可能な電源部と、
外部へ電力を出力する出力部と、を備える、
コーンベット型電源装置。
続きを表示(約 610 文字)
【請求項2】
前記出力部は、USBポート、およびコンセントの少なくともいずれかを含む、
請求項1に記載のコーンベット型電源装置。
【請求項3】
LED照明部をさらに備える、
請求項1に記載のコーンベット型電源装置。
【請求項4】
ソーラーパネルと、
前記ソーラーパネルが発電した電気を入力する入力部と、をさらに備え、
前記電源部は、前記ソーラーパネルが発電した電気を充電するように構成される、
請求項1に記載のコーンベット型電源装置。
【請求項5】
戦記ソーラーパネルは、前記本体部に取り付け可能に構成される、
請求項4に記載のコーンベット型電源装置。
【請求項6】
前記ソーラーパネルは、前記本体部の側面の少なくとも一部を覆うように構成される、
請求項4に記載のコーンベット型電源装置。
【請求項7】
前記ソーラーパネルは、中空の円錐台形状を有する、
請求項6に記載のコーンベット型電源装置。
【請求項8】
前記ソーラーパネルの少なくとも一部は透明に構成される、
請求項7に記載のコーンベット型電源装置。
【請求項9】
前記ソーラーパネルは、可視光を通す透明な太陽電池で構成される、
請求項8に記載のコーンベット型電源装置。
発明の詳細な説明
【技術分野】
【0001】
本発明は、コーンベット型電源装置に関する。
続きを表示(約 1,400 文字)
【背景技術】
【0002】
従来、工事現場や道路、イベント会場など、市中の様々な場所でロードコーン(パイロン)が使用されている。また、ロードコーンには、強風の影響などによる横ずれや転倒を防ぐための重石として、コーンベット(コーンウェイト)が取り付けられる場合がある(特許文献1参照)。
【先行技術文献】
【特許文献】
【0003】
特開2012-62677号公報
【発明の概要】
【発明が解決しようとする課題】
【0004】
コーンベット型の新しい電源装置を提供する。
【課題を解決するための手段】
【0005】
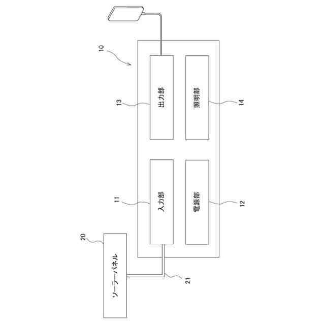
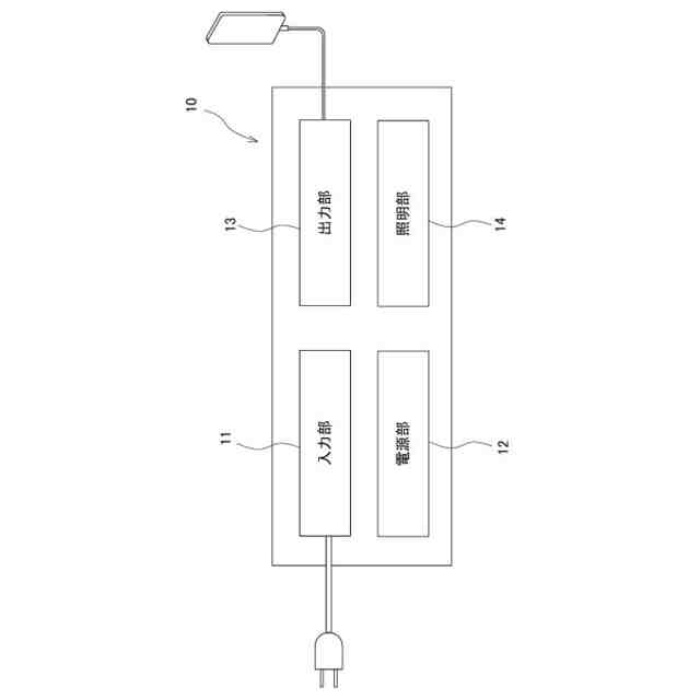
本発明の一実施形態に係るコーンベット型電源装置は、円錐状の本体部を有するロードコーンに取り付け可能に構成されたコーンベット型電源装置であって、充放電可能な電源部と、外部へ電力を出力する出力部と、を備える。
【発明の効果】
【0006】
本発明によれば、コーンベット型の新しい電源装置を提供することができる。
【図面の簡単な説明】
【0007】
図1は、第一実施形態に係るコーンベット型電源装置の斜視図である。
図2は、第一実施形態に係るコーンベット型電源装置の六面図である。
図3は、第一実施形態に係るコーンベット型電源装置の構成図である。
図4は、第一実施形態に係るコーンベット型電源装置の設置方法について説明するための図である。
図5は、第一実施形態に係るコーンベット型電源装置の使用状態を説明するための図である。
図6は、第二実施形態に係るコーンベット型電源装置の構成図である。
図7は、第二実施形態に係るソーラーパネルの斜視図である。
図8は、第二実施形態に係るコーンベット型電源装置の使用状態を説明するための図である。
図9は、第二実施形態に係るソーラーパネルの他の構成例を示す図である。
図10は、第二実施形態に係るソーラーパネルの他の構成例を示す図である。
【発明を実施するための形態】
【0008】
以下、図面等を参照して本発明の実施形態について説明する。
【0009】
<第一実施形態>
コーンベットは、交通規制材として使用されるロードコーン(いわゆるカラーコーン:登録商標)が強風などによって倒れたり移動したりすることを防止するための重石として知られており、コーンベース、コーンウェイトなどとも呼ばれる。本発明に係るコーンベット型電源装置10は、従来のコーンベットを模したような外観形状を有しており、コーンベットと同様にロードコーンの重石としても機能する。以下、本発明に係るコーンベット型電源装置10(以下、単に電源装置10とも称する)について説明する。
【0010】
図1から図3は、第一実施形態のコーンベット型電源装置10の構成を説明するための図である。図1は、電源装置10を斜め上方から見た外観斜視図を示す。図2は、図1の黒矢印で示す面を正面とする電源装置10の六面図であって、(A)が正面図、(B)が背面図、(C)が左側面図、(D)が右側面図、(E)が平面図、(F)が底面図をそれぞれ示す。
(【0011】以降は省略されています)
この特許をJ-PlatPat(特許庁公式サイト)で参照する
関連特許
株式会社熊谷組
床版
7日前
株式会社熊谷組
床版
7日前
株式会社NIPPO
距離補正装置
7日前
株式会社ササキコーポレーション
作業機
6日前
株式会社NIPPO
切削用制御装置
7日前
三信工業株式会社
床版架設装置
6日前
桑名金属工業株式会社
融雪マットおよび融雪方法
6日前
東亜グラウト工業株式会社
防護柵の支柱構造
7日前
西尾レントオール株式会社
コーンベット型電源装置
1日前
日鉄建材株式会社
吊り材で支持された足場用床パネル
6日前
日立建機株式会社
転圧機械
7日前
株式会社日本コンポジット工業
壁用構造体
6日前
株式会社プロテックエンジニアリング
衝撃吸収柵
2日前
鹿島建設株式会社
橋、および橋の製造方法
今日
株式会社NIPPO
スコップ加熱器
6日前
株式会社NIPPO
土壌改質材及びそれを含む土壌
7日前
日本製鉄株式会社
橋脚構造
6日前
積水化学工業株式会社
鉄道用枕木、及び鉄道用枕木の製造方法
7日前
東芝ライテック株式会社
位置探索方法及び位置探索装置
7日前
河野建設株式会社
汚泥回収方法及び汚泥回収システム
2日前
株式会社ドラミカンパニー
改良地盤及びその施工方法
今日
日本製鉄株式会社
橋脚構造及び橋脚構造の施工方法
6日前
株式会社奥村組
継手部用スパイラル鉄筋
2日前
株式会社大林組
定着装置、及び外ケーブルの架設方法
1日前
株式会社奥村組
継手部用スパイラル鉄筋
2日前
JFEエンジニアリング株式会社
構造物
6日前
JFEエンジニアリング株式会社
橋梁部材間連結装置および橋梁
7日前
日鉄建材株式会社
防音壁ユニット、防音壁ユニットの交換方法及び防音壁の構築方法
6日前
飛島建設株式会社
アンカー位置調整装置、アンカー固定方法、及び、支承取替方法
6日前
株式会社奥村組
スパイラル鉄筋を用いた継手部の配筋構造
2日前
株式会社奥村組
スパイラル鉄筋を用いた継手部の配筋構造
2日前
株式会社奥村組
スパイラル鉄筋を用いた継手部の配筋構造
2日前
株式会社奥村組
スパイラル鉄筋を用いた継手部の配筋構造
2日前
株式会社奥村組
スパイラル鉄筋を用いた継手部の配筋構造
2日前
株式会社奥村組
スパイラル鉄筋を用いた継手部の配筋構造
2日前
鹿島建設株式会社
光ファイバー設置構造、コンクリート部材養生方法、損傷評価方法及び構造特性評価方法
今日
続きを見る
他の特許を見る