TOP
|
特許
|
意匠
|
商標
特許ウォッチ
Twitter
他の特許を見る
10個以上の画像は省略されています。
公開番号
2025152955
公報種別
公開特許公報(A)
公開日
2025-10-10
出願番号
2024055155
出願日
2024-03-29
発明の名称
作業機
出願人
株式会社ササキコーポレーション
代理人
主分類
E01H
5/04 20060101AFI20251002BHJP(道路,鉄道または橋りょうの建設)
要約
【課題】簡素な構成で排雪を適切におこなうことが可能な作業機を提供する
【解決手段】作業機Wは、走行機体3と、走行機体3に連結軸21を介して揺動可能な支持フレーム20と、支持フレーム20の前部に支持し、支持フレーム20に対して回動可能に設けたブレード部10と、ブレード部10に連結し、ブレード部10を支持フレーム20に対して回動させるように操作可能な操作ロッド30と、を備える。操作ロッド30は支持フレーム20に設けた係合部42と係合することで、ブレード部10の回動を固定または固定解除することが可能なフック41を備えてもよい。また、係合部にはフックが滑走することが可能な滑走部を備えてもよい。
【選択図】 図2
特許請求の範囲
【請求項1】
走行機体と、
前記走行機体に連結軸を介して揺動可能な支持フレームと、
前記支持フレームの前部に支持し、前記支持フレームに対して回動可能に設けたブレード部と、
前記ブレード部に連結し、前記ブレード部を前記支持フレームに対して回動させるように操作可能な操作ロッドと、
を備えることを特徴とする作業機。
続きを表示(約 390 文字)
【請求項2】
前記操作ロッドは支持フレームに設けた係合部と係合することで前記ブレード部の回動を固定または固定解除することが可能なフックと、
を備えることを特徴とする作業機。
【請求項3】
前記係合部には前記フックが滑走することが可能な滑走部と、
を備えることを特徴とする作業機。
【請求項4】
前記操作ロッドは前記ブレード部に対して回動自在に連結する、
ことを特徴とする作業機。
【請求項5】
前記ブレード部は前記支持フレームに対する回動を規制する規制部と、
を備えることを特徴とする作業機。
【請求項6】
前記規制部は前記支持フレームに設けた規制受部と、
前記規制受部に係合することで前記ブレード部の回動を規制可能な規制ロッドと、
を備えることを特徴とする作業機。
発明の詳細な説明
【技術分野】
【0001】
本発明は、雪等の対象物を押し出して移動可能な作業機に関する。
続きを表示(約 2,100 文字)
【背景技術】
【0002】
例えば特許文献1に記載のように、走行部と、この前方にドーザ部を配置し、前進走行することによってドーザ部で除雪作業をおこなう作業機がある。ドーザ部は走行部に対して回動可能な操作ハンドルの先端部に回動自在に連結され、操作ハンドルの昇降に伴って上下昇降する。そして、拘束解除機構がドーザ部と操作ハンドルとの拘束を固定および固定解除することによって、操作ハンドルに対してドーザ部の角度を変更可能に構成したものである。
【先行技術文献】
【特許文献】
【0003】
特開2011-231454号公報
【発明の概要】
【発明が解決しようとする課題】
【0004】
特許文献1の構成で除雪作業をおこなう場合、ドーザ部で押された雪、またはドーザ部ですくい上げられた雪は、ドーザ部を回動させることによってドーザ部から排雪する。しかし、ドーザ部から排雪する雪は単にドーザ部から落下する形態なので、作業者が意図するような排雪ができないことがある。また、雪がドーザ部に貼り付くことがあり、単にドーザ部を回動させただけでは、排雪が完了できない場合がある。貼り付いた雪は、作業者によって取り除く必要があるが、必要都度、前方のドーザ部に移動して除去するのは人的な負担を要する。貼り付いた雪を取り除く装置を付加することも考えられるが、車重が増加することが予想され、扱い難い機体となること懸念される。
【0005】
したがって、本発明は上記課題に着眼してなされたものであり、簡素な構成で排雪を適切におこなうことが可能な作業機を提供することを目的とする。
【課題を解決するための手段】
【0006】
上記課題を解決するために、本発明の一態様は、走行機体と、走行機体に連結軸を介して揺動可能な支持フレームと、支持フレームの前部に支持し、支持フレームに対して回動可能に設けたブレード部と、ブレード部に連結し、ブレード部を支持フレームに対して回動させるように操作可能な操作ロッドと、を備える作業機であることを要旨とする。
【0007】
本発明によれば、簡素な構成で排雪を適切におこなうことが可能な作業機を提供することができる。
【図面の簡単な説明】
【0008】
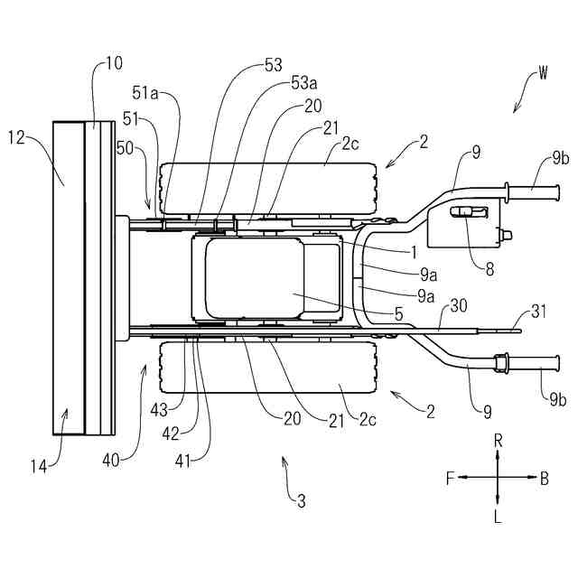
作業機の全体を示す平面図である。
作業機を進行方向左側から見た左側面図であって、ブレード部が下降位置のときを示す。
作業機を進行方向右側から見た右側面図であって、ブレード部が下降位置のときを示す。
作業機の進行方向左側から見た左側面図であって、ブレード部が上昇位置のときを示す。
作業機の進行方向右側から見た右側面図であって、ブレード部が上昇位置のときを示す。
係合装置を進行方向左側から見たときの拡大図であり、(a)はブレード部が復帰位置で係合装置が係合状態、(b)はブレード部が復帰位置で係合装置が係合解除状態、(c)はブレード部が排出位置で係合装置のフックが滑走部上に位置した状態である。
規制部を進行方向右側から見たときの拡大図であり、(a)はブレード部が復帰位置、(b)はブレード部が排出位置で回動の規制がかかった状態である。
作業例を示す図であり、(a)は雪押し開始時を示し、(b)は雪押しの途中を示し、(c)はブレード部から排雪した排出位置状態を示す。
作業例を示す図であり、ブレード部から排雪する場合に堆積した雪山に押し付けるように排雪した例を示す。
作業例を示す図であり、ブレード部を上昇位置まで上昇させて雪を掬い上げた例を示す。
【発明を実施するための形態】
【0009】
以下、図面に基づいて、本発明に係る作業機の実施形態を説明する。作業機の一例として、対象物である雪を押し除けるとともに、持ち上げることも可能なブレード部を有した作業機に適用した場合について説明する。
【0010】
図1は、作業機の全体を示す平面図であり、ブレード部は下降位置Aのときを示している。図2は、進行方向左側から見た作業機の全体を示す左側面図であり、ブレード部は下降位置Aかつ復帰位置Dを示している。二点鎖線で示すブレード部は排出位置Cであり、係合装置は固定解除状態である。図3は、進行方向左側から見た作業機の全体を示す右側面図であり、ブレード部は下降位置Aかつ復帰位置Dを示している。二点鎖線で示すブレード部は排出位置Cであり、規制部が回動規制状態である。図4は、進行方向左側から見た作業機の全体を示す左側面図であり、ブレード部は上昇位置Bかつ復帰位置Dを示している。二点鎖線で示すブレード部は排出位置Cであり、係合装置は固定解除状態である。図5は、進行方向左側から見た作業機の全体を示す右側面図であり、ブレード部は上昇位置Bかつ復帰位置Dを示している。二点鎖線で示すブレード部は排出位置Cであり、規制部が回動規制状態である。
(【0011】以降は省略されています)
この特許をJ-PlatPat(特許庁公式サイト)で参照する
関連特許
株式会社セイトク
防雪パネル
1か月前
コスモテック株式会社
表示装置
19日前
株式会社ササキコーポレーション
作業機
1か月前
株式会社 林物産発明研究所
道路安全体
6日前
戸田建設株式会社
コンクリート構造
1か月前
三信工業株式会社
床版架設装置
1か月前
桑名金属工業株式会社
融雪マットおよび融雪方法
1か月前
戸田建設株式会社
鋼製ブラケットの取付装置
1か月前
戸田建設株式会社
鋼製ブラケットの取付装置
1か月前
株式会社丸治コンクリート工業所
防護柵
今日
株式会社川金コアテック
橋梁用鋼弾塑性ダンパー
14日前
西尾レントオール株式会社
コーンベット型電源装置
1か月前
鹿島建設株式会社
床版架設方法
1か月前
日鉄建材株式会社
吊り材で支持された足場用床パネル
1か月前
株式会社日本コンポジット工業
壁用構造体
1か月前
オリエンタル白石株式会社
補強鋼板及び排土方法
1か月前
ダンレックス株式会社
表示装置
7日前
宮地エンジニアリング株式会社
ワイヤブリッジの設置方法
1か月前
鹿島建設株式会社
橋、および橋の製造方法
1か月前
株式会社プロテックエンジニアリング
衝撃吸収柵
1か月前
清水建設株式会社
床版架設装置および床版架設方法
6日前
愛知製鋼株式会社
磁気マーカの施工方法および施工用の補助工具
20日前
株式会社NIPPO
スコップ加熱器
1か月前
PUMP MAN株式会社
路面成型補助部材、及び、路面成型方法
19日前
オリエンタル白石株式会社
馬蹄形ジベルの合成床版撤去工法
1か月前
日本製鉄株式会社
仮設橋による施工方法
6日前
日本製鉄株式会社
橋脚構造
1か月前
株式会社ミライト・ワン
ボラード
1か月前
三井住友建設株式会社
床版揚重装置及び床版工事設備
29日前
株式会社安藤・間
橋梁健全度評価システム
1か月前
大成建設株式会社
仮設鋼床版および床版取替工法
22日前
株式会社大林組
シート部材及び、施工方法
22日前
ジェコス株式会社
締結式覆工板の損傷防止装置及び当該装置を備えた覆工板
1か月前
清水建設株式会社
桁と床版との接合構造、及び桁と床版との接合方法
27日前
朝日エンヂニヤリング株式会社
主桁連続化剛結合構造
1か月前
河野建設株式会社
汚泥回収方法及び汚泥回収システム
1か月前
続きを見る
他の特許を見る