TOP
|
特許
|
意匠
|
商標
特許ウォッチ
Twitter
他の特許を見る
公開番号
2025172324
公報種別
公開特許公報(A)
公開日
2025-11-26
出願番号
2024077776
出願日
2024-05-13
発明の名称
防護柵
出願人
株式会社丸治コンクリート工業所
代理人
個人
,
個人
主分類
E01F
15/08 20060101AFI20251118BHJP(道路,鉄道または橋りょうの建設)
要約
【課題】防護柵を構築した後であっても、容易かつ迅速に一部を撤去して、人や車両等の通路を設けることができる防護柵を提供する。
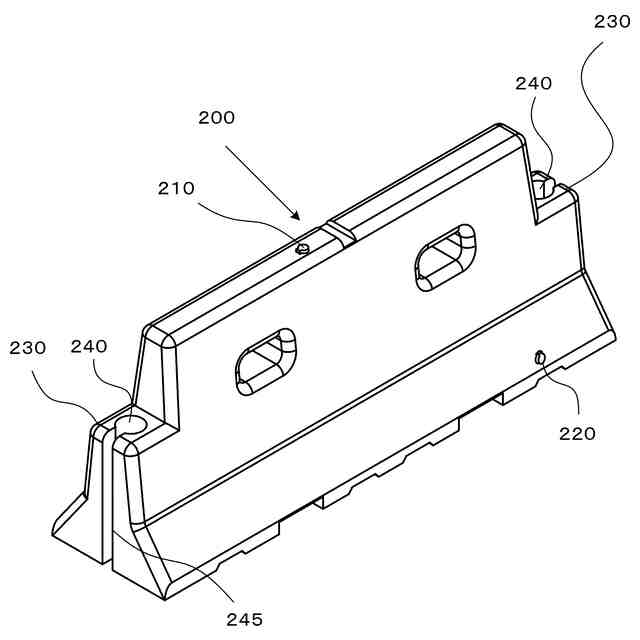
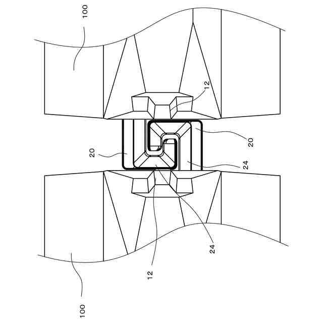
【解決手段】本発明にかかる防護柵10は、少なくとも一方の側面に連結具20を有するコンクリート製防護柵100と、内部が空洞に作製され、前記空洞に注水又は排水することが可能な樹脂製防護柵200と、を備え、前記コンクリート製防護柵100と前記コンクリート製防護柵100との間に前記樹脂製防護柵200が配置されていることを特徴とする。
【選択図】図1
特許請求の範囲
【請求項1】
少なくとも一方の側面に連結具を有するコンクリート製防護柵と、
内部が空洞に作製され、前記空洞に注水又は排水することが可能な樹脂製防護柵と、
を備え、
前記コンクリート製防護柵と前記コンクリート製防護柵との間に前記樹脂製防護柵が配置されていることを特徴とする防護柵。
続きを表示(約 740 文字)
【請求項2】
前記樹脂製防護柵の側面側から視認した外周形状は、前記コンクリート製防護柵の側面から視認した外周形状に対して水平方向に±10cmの範囲内に含まれるように作製されていることを特徴とする請求項1に記載の防護柵。
【請求項3】
前記樹脂製防護柵の側面側から視認した外周形状は、コンクリート製防護柵の側面から視認した外周形状と同一であることを特徴とする請求項1に記載の防護柵。
【請求項4】
前記樹脂製防護柵の長手方向の長さは、コンクリート製防護柵の長さと同一又は1/2の長さであることを特徴とする請求項1に記載の防護柵。
【請求項5】
前記樹脂製防護柵は、少なくとも2つ以上連続して配置されていることを特徴とする請求項1に記載の防護柵。
【請求項6】
前記樹脂製防護柵は、両側の側面に上下に貫通する貫通孔と前記貫通孔から側面側へ切り欠かれた溝とを有することを特徴とする請求項1に記載の防護柵。
【請求項7】
前記樹脂製防護柵同士を、板状部と前記板状部の両端に2本の円柱状又は円錐台状の接続部が平行に配置された形態を有する第1接続部材で連結されていることを特徴とする請求項6に記載の防護柵。
【請求項8】
前記コンクリート製防護柵と前記樹脂製防護柵とを、円柱状又は円錐台状の接続部とL字型の板材とを結合した形態を有する第2接続部材で連結されていることを特徴とする請求項6に記載の防護柵。
【請求項9】
前記樹脂製防護柵は、所定の回転中心から水平方向に180度回転させた場合に、一致する回転対称であることを特徴とする請求項1から8のいずれか1項に記載の防護柵。
発明の詳細な説明
【技術分野】
【0001】
本発明は、防護柵に関する。
続きを表示(約 1,500 文字)
【背景技術】
【0002】
道路工事等において一時的に車道と工事区域との境界を構成する場合や高速道路において一時的に分離帯を作製したい場合等のように、一時的に路面上に境界を作製しなければならない場合がある。このような場合に、一般的には、あらかじめ防護柵として機能可能な防護柵用のコンクリートブロックを隣接設置することによって、簡易的に境界を布設することが行われている。
【0003】
例えば、本権利者らは、防護柵に固定される取付用固定部と、前記取付用固定部の他端側に鈎状に形成された鈎部と、を有している連結具が両側面に設けられているコンクリート製防護柵を提供している(特許文献1)。
【0004】
かかるコンクリート製防護柵によれば、境界を構築したい路面に、連結具を有するコンクリート製防護柵を設置し、設置されたコンクリート製防護柵に対して、隣接配置する予定のコンクリート製防護柵をクレーン等で吊り上げ、位置を確認しつつ、設置されたコンクリート製防護柵に隣接するように移動し、そのまま吊り下げられたコンクリート製防護柵を降下させていくと、自動的に連結具の鈎部が互いに嵌合する位置に修正されつつ連結される。このように、かかるコンクリート製防護柵は、連結具で連結することにより、複数のコンクリート製防護柵が連なった防護柵により境界を構築することができる。
【0005】
しかし、かかるコンクリート製防護柵は、重量構造物であることから前述したように、設置にはクレーン等の重機が必要であり、一旦設置すると撤去する場合にも重機等が必要であり非常の手間がかかるものとなる。そのため、例えば、人や車両を通行させるために一時的に一部を撤去したい場合であっても一部撤去が難しかったり、わざわざ重機を再度持ってくる必要があったりして、非常に面倒であった。特に、トンネルに設置されたコンクリート製防護柵は、天井側のスペースが狭いために特に一部撤去が困難であった。
【先行技術文献】
【特許文献】
【0006】
特開2020-84484号公報
【発明の概要】
【発明が解決しようとする課題】
【0007】
そこで、本発明は、かかる課題を解決するためになされたものであり、防護柵を構築した後であっても、容易かつ迅速に一部を撤去して、人や車両等の通路を設けることができる防護柵を提供することを目的とする。
【課題を解決するための手段】
【0008】
本発明は、上述の目的を達成するために以下の手段を採った。
【0009】
本発明にかかる防護柵は、
少なくとも一方の側面に連結具を有するコンクリート製防護柵と、
内部が空洞に作製され、前記空洞に注水又は排水することが可能な樹脂製防護柵と、
を備え、
前記コンクリート製防護柵と前記コンクリート製防護柵との間に前記樹脂製防護柵が配置されていることを特徴とする。
【0010】
本発明にかかる防護柵は、コンクリート製防護柵とコンクリート製防護柵との間に樹脂製防護柵が挟まれるように設置されている。樹脂製防護柵は、内部の水を排水することでその重量を軽量化することができる。そのため、複数の人手又は小型のフォークリフト等で容易かつ迅速に防護柵の一部を撤去して、防護柵の途中に通路を設けることができる。特に、トンネルに設置された樹脂製防護柵を撤去する場合に、重機を使用して大きく吊り上げる必要がないため、特に有効である。
(【0011】以降は省略されています)
この特許をJ-PlatPat(特許庁公式サイト)で参照する
関連特許
コスモテック株式会社
表示装置
19日前
株式会社 林物産発明研究所
道路安全体
6日前
戸田建設株式会社
コンクリート構造
1か月前
戸田建設株式会社
鋼製ブラケットの取付装置
1か月前
戸田建設株式会社
鋼製ブラケットの取付装置
1か月前
株式会社丸治コンクリート工業所
防護柵
今日
株式会社川金コアテック
橋梁用鋼弾塑性ダンパー
14日前
鹿島建設株式会社
床版架設方法
1か月前
ダンレックス株式会社
表示装置
7日前
愛知製鋼株式会社
磁気マーカの施工方法および施工用の補助工具
20日前
清水建設株式会社
床版架設装置および床版架設方法
6日前
オリエンタル白石株式会社
馬蹄形ジベルの合成床版撤去工法
1か月前
PUMP MAN株式会社
路面成型補助部材、及び、路面成型方法
19日前
日本製鉄株式会社
仮設橋による施工方法
6日前
株式会社安藤・間
橋梁健全度評価システム
1か月前
三井住友建設株式会社
床版揚重装置及び床版工事設備
29日前
株式会社ミライト・ワン
ボラード
1か月前
株式会社大林組
シート部材及び、施工方法
22日前
大成建設株式会社
仮設鋼床版および床版取替工法
22日前
朝日エンヂニヤリング株式会社
主桁連続化剛結合構造
1か月前
清水建設株式会社
桁と床版との接合構造、及び桁と床版との接合方法
27日前
ノリタケ株式会社
電動式コンクリートカッター
14日前
鹿島道路株式会社
アスファルト混合物の製造方法
28日前
ハム アーゲー
建設機械
1か月前
株式会社エムアールサポート
出来形管理方法
8日前
株式会社NIPPO
タイヤローラ
6日前
株式会社熊谷組
床版接合構造
19日前
三井住友建設株式会社
プレストレストコンクリート構造物とその施工方法
27日前
中交一公局第五工程有限公司
吊りかご組立プラットフォーム及びその駆動システム
5日前
東日本旅客鉄道株式会社
フックボルト及びフックボルトユニット
20日前
日軽エンジニアリング株式会社
保護パネル及び床版交換方法
22日前
株式会社NIPPO
路面加熱装置
19日前
東邦レオ株式会社
基盤材および基盤材を用いた二酸化炭素の吸着固定方法
29日前
株式会社フクザワコーポレーション
凍結防止剤散布装置の制御システム
6日前
東急建設株式会社
遮音壁ユニット、遮音壁構造及び遮音壁ユニットの施工方法
20日前
モンド・ソシエタ・ペル・アチオニ
スポーツ用床材
8日前
続きを見る
他の特許を見る