TOP
|
特許
|
意匠
|
商標
特許ウォッチ
Twitter
他の特許を見る
10個以上の画像は省略されています。
公開番号
2025172256
公報種別
公開特許公報(A)
公開日
2025-11-21
出願番号
2025067271
出願日
2025-04-16
発明の名称
吊りかご組立プラットフォーム及びその駆動システム
出願人
中交一公局第五工程有限公司
,
中交一公局集団有限公司
代理人
個人
主分類
E01D
21/10 20060101AFI20251114BHJP(道路,鉄道または橋りょうの建設)
要約
【課題】トラス軌道走行における吊りかご組立プラットフォーム駆動システムに関する。
【解決手段】ガイドレールとトラスに固定された吊りかご組立プラットフォーム駆動システムであり、ガイドレールにジャッキとその支持足を設置したフロント及びリアマウントが設置され、フロントマウント内に垂直方向にスライドシートがスライドするスライダーを取付けた水平スライドレールがある。更にジャッキの伸縮ロッドに昇降部材を設け、昇降部材とスライドシートは弾性伸縮ロッドで連結される。スライドシートとフロントマウント間でスライドシートが垂直方向に位置決めされる構造であり、スライドシートの水平方向移動により位置決め解除される。又、スライドシート下方にローラーを設置、更にスライドシートのスライド軌跡でスライドシートがスライダー最下方にスライドした時、一方向通過しかできない減衰位置決め機構となっていることから、完全自動化を実現した。
【選択図】図2
特許請求の範囲
【請求項1】
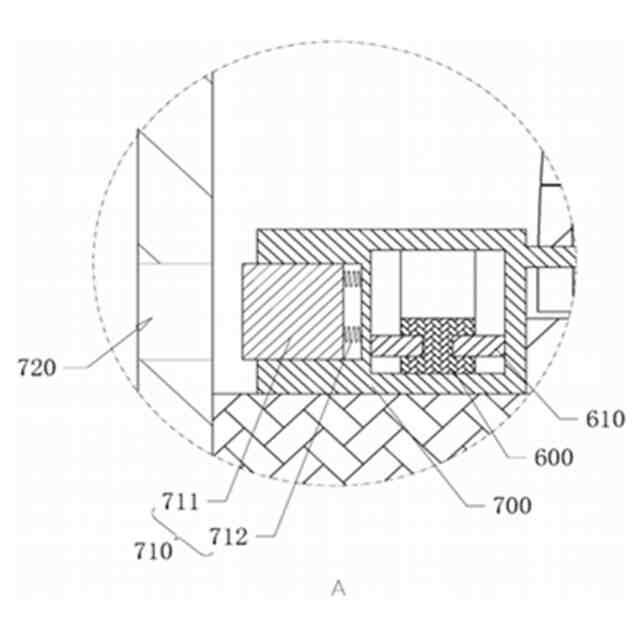
ガイドレール(400)と、トラス(100)に固定されたフロントマウント(200)及びリアマウント(300)を含み、前記フロントマウント(200)及びリアマウント(300)が前記ガイドレール(400)に取り付けられ、ジャッキ(500)及びジャッキ(500)に取り付けられた支持足(510)が前記フロントマウント(200)に設置される、吊りかご組立プラットフォームの駆動システムであり、
前記フロントマウント(200)の内部に水平スライドレール(600)が設けられ、前記水平スライドレール(600)にスライダー(610)が取り付けられ、前記スライダー(610)には、スライドレール(600)に垂直な方向にスライドシート(700)がスライドできるように取り付けられ、前記ジャッキ(500)の伸縮ロッドに昇降部材(520)が取り付けられ、前記昇降部材(520)と前記スライドシート(700)との間に弾性伸縮ロッド(530)が連結されていることと、
前記スライドシート(700)と前記フロントマウント(200)との間には位置決め構造が設けられ、前記位置決め構造はスライドシート(700)を垂直方向に位置決めするために用いられ、前記スライドシート(700)が水平に移動すると位置決めを解除し、前記スライドシート(700)の下方にローラー(800)が設けられ、前記スライドシート(700)のスライド軌跡に、前記スライドシート(700)が前記スライダー(610)の最下方の位置までスライドするときに、一方向しか通過できないようにする減衰位置決め機構(900)が設けられることと、
そのうち、前記支持足(510)が下に移動すると、前記弾性伸縮ロッド(530)はある程度収縮し、また前記スライドシート(700)をスライダー(610)を下に移動させ、底部に移動させたら前記位置決め構造を嵌合させ、この時、前記ガイドレール(400)の上翼板(410)に抵抗する前記フロントマウント(200)の環状リブ板(210)が前記上翼板(410)から分離し、また前記ローラー(800)が前記環状リブ板(210)を下方に突き出すことと、
前記支持足(510)が下に移動し続ける過程で、前記スライドシート(700)は水平方向に移動し、位置決めが解除され、前記減衰位置決め機構(900)を通過することと、
前記支持足(510)がリセットされるとき、前記スライドシート(700)が前記減衰位置決め機構(900)に阻止されることによって、前記弾性伸縮ロッド(530)が引っ張られ、また、引張力がある程度に達した後、前記減衰位置決め機構(900)の一方向ロックが解除され、さらに前記弾性伸縮ロッド(530)の引張力は、前記スライドシート(700)をスライダー(610)を上昇させるとともに、前記スライダー(610)と前記スライドシート(700)をスライドさせてリセットすることと、
を特徴とする吊りかご組立プラットフォームの駆動システム。
続きを表示(約 1,500 文字)
【請求項2】
前記位置決め構造は、前記スライドシート(700)に設置された弾性伸縮係止柱材(710)と、前記フロントマウント(200)の側壁に設置された係止溝(720)とを備え、前記係止溝(720)の片側に、前記弾性伸縮係止柱材(710)が前記係止溝(720)からスライドして出るためのガイド傾斜面(730)が設置されていること、
を特徴とする請求項1に記載の吊りかご組立プラットフォームの駆動システム。
【請求項3】
前記フロントマウント(200)の内壁にリミットボルト(220)が取り付けられており、前記スライドシート(700)がリミットボルト(220)に当接する時、前記弾性伸縮係止柱材(710)は前記係止溝(720)と同じ垂直方向に位置すること、
を特徴とする請求項2に記載の吊りかご組立プラットフォームの駆動システム。
【請求項4】
前記係止溝(720)の頂はガイド傾斜面(730)の頂より高いことを特徴とする請求項2に記載の吊りかご組立プラットフォームの駆動システム。
【請求項5】
前記スライダー(610)は、水平スライドレール(600)とスライドシート(700)との間に配置され、前記水平スライドレール(600)には、前記スライダー(610)がスライドするための水平シュートが設けられ、前記スライドシート(700)には、前記スライダー(610)がスライドするための垂直シュートが設けられていること、
を特徴とする請求項1に記載の吊りかご組立プラットフォームの駆動システム。
【請求項6】
前記減衰位置決め機構(900)は、取付シート(910)と、取付シート(910)の内にスライドできるように取り付けられたブロック(920)と、ブロック(920)の底部に設けられた弾性リセット部材(930)とを備えていること、
を特徴とする請求項1に記載の吊りかご組立プラットフォームの駆動システム。
【請求項7】
前記ブロック(920)の片側にガイドベベル(921)が設けられ、もう一つの片側にガイドベベル角度(922)が設けられ、そのうち、前記スライドシート(700)が前記スライダー(610)を頂までスライドする時、前記スライドシート(700)の底部が前記ブロック(920)の底部より低く、前記ガイドベベル角度(922)の底部より高いこと、
を特徴とする請求項6に記載の吊りかご組立プラットフォームの駆動システム。
【請求項8】
前記取付シート(910)は、前記フロントマウント(200)の側壁に位置しており、かつ前記ガイドレール(400)の内に位置していること、
を特徴とする請求項6に記載の吊りかご組立プラットフォームの駆動システム。
【請求項9】
前記昇降部材(520)は、前記ジャッキ(500)の伸縮ロッドに連結された連結ロッド(521)と、一端が前記連結ロッド(521)に連結された延長ロッド(522)とを含み、前記延長ロッド(522)は、前記連結ロッド(521)が前記フロントマウント(200)に向かってスライドする方向を伸び、前記延長ロッド(522)の両端の間に前記スライドシート(700)を位置させること、
を特徴とする請求項1に記載の吊りかご組立プラットフォームの駆動システム。
【請求項10】
吊りかご組立プラットフォームであり、請求項1~9のいずれかの一項に記載の駆動システムを含むこと、
を特徴とする吊りかご組立プラットフォーム。
発明の詳細な説明
【技術分野】
【0001】
本出願は、トラス軌道走行システムの技術分野に関し、特に吊りかご組立プラットフォーム及びその駆動システムに関する。
続きを表示(約 2,900 文字)
【背景技術】
【0002】
公開番号CN113585103Bの中国特許は、トラス、ガイドレールを含む噛み合い伝動に基づく吊りかごトラス及び軌道駆動走行システムを開示している。ガイドレールはフロントマウントとリアマウントによってトラスを支持し、トラスの底部の後ろ側はアンカーシステムによって固定され、フロントマウント内に液圧ジャッキがあり、液圧ジャッキのピストンロッドはドア形の支持足に連結され、ドア形の支持足はガイドレールの内に突入しており、フロントマウントの両側にフロント吊り輪が回転できるように取り付けられている。また、リアマウント内に減速機ケース筐体が設けられ、減速機ケース筐体の下端がガイドレールの内に突入しており、減速機ケース筐体内には同軸タービンと一対の第1歯車及びウォームが回転できるように取り付けられている。タービンとウォームが噛み合い、ガイドレール内の減速機ケース筐体の両側にそれぞれ主歯車と第2歯車が回転できるように取り付けられ、第2歯車と第1歯車とが伝動噛み合う。また、減速機ケース筐体の両側にはリア吊り輪も回転できるように取り付けられている。
【0003】
前記特許のガイドレールの移動方式は以下のようである。ガイドレールの移動が必要な場合は、ガイドレールとビーム面との拘束を解除するために、ガイドレールの締めつけシステムを解体する。また、アンカーシステムを緩め、トラスとリアマウントを上昇させ、前記トラスとリアマウントの上昇により、ガイドレールが上昇する(前記特許の図7参照)。ガイドレールの上昇は、ガイドレールが移動する時に、埋め込まれたねじ鋼杭頭の妨害を受けないまでである。この時、ガイドレールの後端は吊り輪に吊り下げられ、歯車軸上の主歯車とラックは正常に噛み合っている状態である。同時に、フロントマウントを前記特許の図6の状態に上昇させると、ガイドレールはフロント吊り輪とリア吊り輪に完全に吊り下げられている。液圧モーターの回転を制御することで、カップリング、ウォーム、タービン、第1歯車、歯車軸及びラックなどでガイドレールの移動を駆動することができ、又はレンチを利用してウォームのぺしゃんこの一端を人工的に回転させてガイドレールの移動を実現することができる。ガイドレールが適当な位置に移動した後、アンカーシステムを締め付けてガイドレールをパッドブロックに落下させるが、ガイドレールを圧迫しない。また、液圧ジャッキを制御してガイドレールをパッドブロックに落下させ、自由な状態にする(要するに、ガイドレールの上翼板はリブ板にもフロント吊り輪にも接触しない)。このとき、ガイドレールの位置を補正してから、ガイドレールの締めつけシステムによってビームのセグメントにガイドレールを固定する。
【0004】
前記特許のトラスの移動方式は以下のようである。ガイドレールはビームのセグメントに固定されており、アンカーシステムを解体すると、トラスに固定されたリアマウントのリア吊り輪が自動的にガイドレールの工字形のレールの上翼板の下側面に接続し(前記特許の図8参照)、トラスが力のバランスを維持することができる。また、トラスの先端で、液圧ジャッキのピストンロッドを制御し突出させ、ドア形の支持足が地面に接触したら、またフロントマウントを押し上げる。この時、ガイドレールとフロントマウントの底面との間の半円形の係止溝にローラーを置き、フロントマウントが重量をローラーに押し付けるように、フロントマウントを下ろす(前記特許の図9、図2参照)。この時はフロントマウントの底面がガイドレールに接触しない。こうして、トラスのフロントマウントはローラーを通じて重量をガイドレールに押し付け、一方リアマウントはリア吊り輪を通じてガイドレールに接続する。液圧モーターの回転を制御することで、カップリング、ウォーム、タービン、第1歯車、第2歯車3、歯車軸及びラックなどでトラスの移動を駆動することができ、又はレンチを利用してウォームのぺしゃんこの一端を人工的に回転させてトラスの移動を実現することができる。トラスが適当な位置に移動した後、液圧ジャッキでフロントマウントを押し上げてローラーを取り外し、フロントマウントをガイドレールに完全に置く。
【0005】
上述の関連技術において、ローラーの置くこと及び取り外すことのほかに、トラスの移動及びガイドレールの移動は既に自動化されているため、より利便性を向上させるために、追加の駆動がないことを前提として、ローラーが必要なときに現れ、不要なときに自動的に回収されるようにすることで、完全な自動化を実現しようとしている。
【発明の概要】
【発明が解決しようとする課題】
【0006】
完全に自動化したトラスの移動とガイドレールの移動を実現するために、本出願は吊りかご組立プラットフォームの駆動システムを提供する。
【課題を解決するための手段】
【0007】
第1方面、本出願は、下記の技術方案を採用した吊りかご組立プラットフォームの駆動システムを提供する。
【0008】
ガイドレールと、トラスに固定されたフロントマウントとリアマウントとを含む吊りかご組立プラットフォームの駆動システムであり、前記ガイドレールに前記フロントマウント及び前記リアマウントが取り付けられ、前記フロントマウントにジャッキとジャッキに取り付けられた支持足が設置され、前記フロントマウントの内に水平スライドレールが設けられ、前記水平スライドレールにスライダーが取り付けられ、前記スライダーには、水平スライドレールに垂直な方向に沿ってスライドシートがスライドできるように取り付けられている。さらに、前記ジャッキの伸縮ロッドに昇降部材が取り付けられ、前記昇降部材と前記スライドシートとは弾性伸縮ロッドで連結される。
【0009】
前記スライドシートと前記フロントマウントとの間には、前記スライドシートを垂直方向に位置決めするための位置決め構造が設置され、前記スライドシートは水平方向を移動すると位置決めが解除される。また、前記スライドシートの下方にローラーが設置されている。さらに、前記スライドシートのスライド軌跡には、前記スライドシートが前記スライダーの最下方の位置までスライドするとき、一方向通過しかできないようにする減衰位置決め機構が設置されている。
【0010】
そのうち、前記支持足が下に移動すると、前記弾性伸縮ロッドはある程度収縮し、また前記スライドシートをスライダーを下に移動させ、底部に移動させたら前記位置決め構造を嵌合させる。この時、前記ガイドレールの上翼板に抵抗する前記フロントマウントの環状リブ板が前記上翼板から分離し、また前記ローラーが前記環状リブ板を下方に突き出す。
(【0011】以降は省略されています)
特許ウォッチbot のツイートを見る
この特許をJ-PlatPat(特許庁公式サイト)で参照する
関連特許
中交一公局第五工程有限公司
吊りかご組立プラットフォーム及びその駆動システム
5日前
株式会社熊谷組
床版
1か月前
株式会社熊谷組
床版
1か月前
株式会社セイトク
防雪パネル
1か月前
コスモテック株式会社
表示装置
19日前
株式会社NIPPO
距離補正装置
1か月前
株式会社ササキコーポレーション
作業機
1か月前
株式会社NIPPO
斜面用ローラ
1か月前
株式会社NIPPO
斜面用ローラ
1か月前
株式会社 林物産発明研究所
道路安全体
6日前
株式会社NIPPO
切削用制御装置
1か月前
戸田建設株式会社
コンクリート構造
1か月前
三信工業株式会社
床版架設装置
1か月前
桑名金属工業株式会社
融雪マットおよび融雪方法
1か月前
戸田建設株式会社
鋼製ブラケットの取付装置
1か月前
戸田建設株式会社
鋼製ブラケットの取付装置
1か月前
東亜グラウト工業株式会社
防護柵の支柱構造
1か月前
株式会社丸治コンクリート工業所
防護柵
今日
株式会社川金コアテック
橋梁用鋼弾塑性ダンパー
14日前
日鉄神鋼建材株式会社
補強金具、及び支柱取付構造
1か月前
株式会社NIPPO
アスファルトスタッカ制御装置
1か月前
西尾レントオール株式会社
コーンベット型電源装置
1か月前
鹿島建設株式会社
床版架設方法
1か月前
日鉄建材株式会社
吊り材で支持された足場用床パネル
1か月前
日立建機株式会社
転圧機械
1か月前
株式会社日本コンポジット工業
壁用構造体
1か月前
オリエンタル白石株式会社
補強鋼板及び排土方法
1か月前
宮地エンジニアリング株式会社
ワイヤブリッジの設置方法
1か月前
ダンレックス株式会社
表示装置
7日前
株式会社プロテックエンジニアリング
衝撃吸収柵
1か月前
鹿島建設株式会社
橋、および橋の製造方法
1か月前
清水建設株式会社
床版架設装置および床版架設方法
6日前
愛知製鋼株式会社
磁気マーカの施工方法および施工用の補助工具
20日前
オリエンタル白石株式会社
馬蹄形ジベルの合成床版撤去工法
1か月前
株式会社NIPPO
スコップ加熱器
1か月前
PUMP MAN株式会社
路面成型補助部材、及び、路面成型方法
19日前
続きを見る
他の特許を見る