TOP
|
特許
|
意匠
|
商標
特許ウォッチ
Twitter
他の特許を見る
公開番号
2025158636
公報種別
公開特許公報(A)
公開日
2025-10-17
出願番号
2024061379
出願日
2024-04-05
発明の名称
補強鋼板及び排土方法
出願人
オリエンタル白石株式会社
代理人
個人
,
個人
主分類
E01D
22/00 20060101AFI20251009BHJP(道路,鉄道または橋りょうの建設)
要約
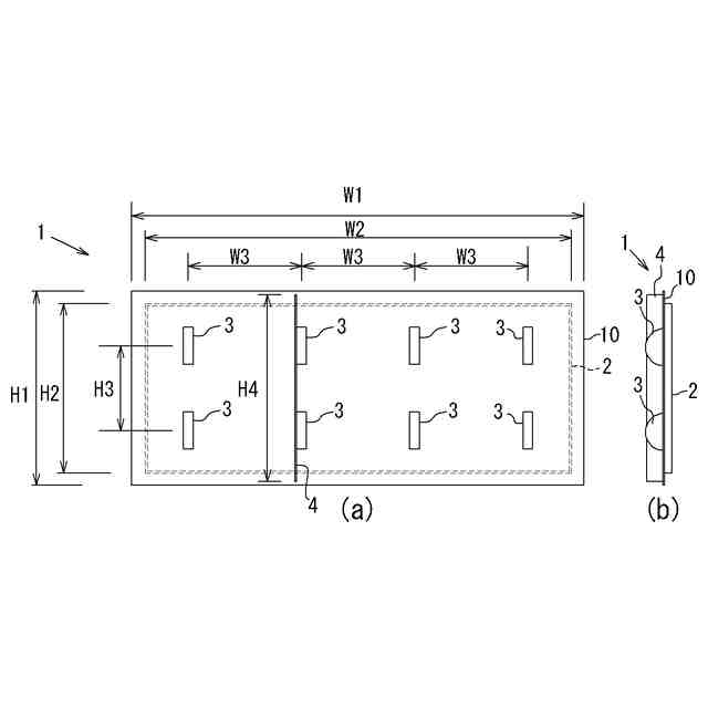
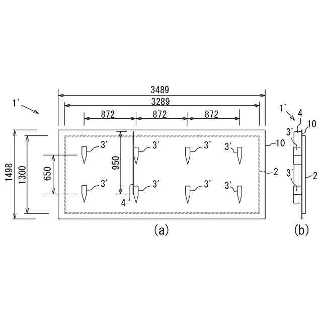
【課題】圧入時の圧力に対抗して間隔を保持できるとともに、エアリフトの範囲を限定して効率よくエアリフトにより排土可能な補強鋼板及び排土方法を提供する。
【解決手段】補修又は補強のために既設柱状コンクリート構造物(PCウェル11)の廻りに設置される補強鋼板1において、既設柱状コンクリート構造物(PCウェル11)との間隔を保持するための複数の間隔保持材(スペーサーガイド3,3’)を内面から突設するとともに、複数の間隔保持材(スペーサーガイド3,3’)の一部の脇に、既設柱状コンクリート構造物(PCウェル11)との隙間Gを一定範囲に区切る仕切り板4を内面に取り付ける。
【選択図】図1
特許請求の範囲
【請求項1】
補修又は補強のために既設柱状コンクリート構造物の廻りに設置される補強鋼板であって、
前記既設柱状コンクリート構造物との間隔を保持するための複数の間隔保持材が内面から突設されているとともに、
前記複数の間隔保持材の一部の脇に、前記既設柱状コンクリート構造物との隙間を一定範囲に区切る仕切り板が内面に取り付けられていること
を特徴とする補強鋼板。
続きを表示(約 360 文字)
【請求項2】
前記仕切り板の内面からの突出長は、前記間隔保持材の突出長より短く設定されていること
を特徴とする請求項1に記載の補強鋼板。
【請求項3】
排土に用いるエアリフトの圧縮空気やウォータージェットを地盤付近に圧送するジェットガイドが設けられていること
を特徴とする請求項1又は2に記載の補強鋼板。
【請求項4】
既設柱状コンクリート構造物の廻りに設置される補強鋼板と既設柱状コンクリート構造物とのクリアランスから土砂を排土する排土方法であって、
前記補強鋼板に設けられた仕切り板で前記既設柱状コンクリート構造物との隙間を一定範囲に区切った状態でエアリフトの圧縮空気やウォータージェットの圧力を利用して排土すること
を特徴とする排土方法。
発明の詳細な説明
【技術分野】
【0001】
本発明は、補修又は補強のために既設柱状コンクリート構造物の廻りに設置される補強鋼板及びそれを用いた既設柱状コンクリート構造物廻りの排土方法に関する。
続きを表示(約 1,900 文字)
【背景技術】
【0002】
従来、橋脚やその基礎などの柱状の既設構造物を補強する補強工法としては、予め既設構造物の廻りに仮締切体を設置してドライエリアを構築した後、土砂を掘削して補強物を巻き立てるRC巻立て工法や鋼板巻立て工法が行われていた。しかし、補強工事と直接関係ない仮締切体などを設置する仮設工事に時間と費用がかかるという問題があった。
【0003】
そこで、既設橋脚・基礎などの柱状の既設構造物を補強するために補強鋼板を地中に圧入して補強する補強鋼板圧入工法が開発されるに至った。この補強鋼板圧入工法は、仮設締切体を設置して掘削する従来のRC巻立て工法や鋼板巻立て工法と比べて、施工性・経済性に優れていることから近年、柱状のRC構造物の補強工法の主流となっている。
【0004】
この補強鋼板圧入工法における補強鋼板内の土砂の排土方法としては、鋼管内の土砂混じりの水に圧縮空気やガスを吹き込んで管内の気泡混合液の見掛け比重を外部の液よりも小さくすることで相対的な揚力を発生させて排土するエアリフト工法などが知られている。しかし、単純にエアリフト工法を適用しただけでは、橋脚などの構造物と補強鋼板との間の狭隘な隙間においては、排土管の管径が限定されるため、排土効率が悪く、施工性も悪いという問題があった。
【0005】
例えば、特許文献1には、柱状構造物外周の環状空間からのエアリフト効果を用いた排土装置において、前記環状空間の水位を所定水位に保つ水供給手段と、前記環状空間をその下部の連通を許容して所定間隔に仕切り縦方向に伸びる排出流路を形成する着脱自在な仕切部材と、排出流路の底部に向けて空気又は空気と水の混合流体を下向きに噴射する流体供給管と、仕切部材の最下端部より上部位置で水平又は斜め上向きに高圧空気を噴射する高圧空気供給管とを前記排出流路内に配置したエアリフト効果を用いた排土装置が開示されている(特許文献1の特許請求の範囲の請求項1、明細書の段落[0011]~[0021]、図面の図2,図3等参照)。
【0006】
しかし、特許文献1に記載のエアリフト効果を用いた排土装置は、排土効率は改善されているが、圧入が完了した補強鋼板の下端から補強鋼板外部の土砂を引き込んでしまい、最終段階の排土掘削の作業性が良好ではないという問題があった。
【0007】
このような問題を解決するべく、本願出願人は、特許文献2に、柱状の既設構造物の廻りに補強鋼板を圧入する際に、この補強鋼板と前記既設構造物の隙間の土砂を排土する排土装置の排土治具において、上下端が開放された筒状の排土治具本体を備え、この排土治具本体の側面板に、圧縮気体を注入する注入口を形成するとともに、前記排土治具本体の既設構造物側となる正面板に、上下方向に開口した土砂吸引用の吸引欠込みを形成し、反対側となる背面板に、下端が前記吸引欠込みの上端より下方へ下がった直線状となっており欠込みを形成しない排土治具を用いて、前記補強鋼板の前記既設構造物側の最下部の土砂を前記吸引欠込みから吸引して排土する排土方法を提案した(特許文献2の特許請求の範囲の請求項1、明細書の段落[0024]~[0040]、図面の図2~図4等参照)。
【0008】
特許文献2に記載の排土治具及び排土方法は、補強鋼板外部の土砂を引き込んでしまうという問題を解消して、最終段階の排土作業の作業性が良好で、隅角部や補強鋼板最下部の土砂もきれいに排土することができるものであった。しかし、特許文献2に記載の排土治具及び排土方法は、圧入する補強鋼板に補剛材Stが設けられているもののこれはあくまでも補剛材であり、効率よくエアリフト効果により排土するためにはエアリフトの範囲を限定する排土治具が必要であった。
【0009】
一方、特許文献3には、地中構造物に対する補強鋼板の圧入により支障物を排除し、また、鋼板設置精度を確保するとともに、土砂掘削の簡素化を図ることを目的として、橋脚等の柱状構造物の廻りにスペーサーとして間隔材を設けた補強鋼板を圧入して設置する柱状構造物の耐震補強鋼板設置方法が開示されている。
【0010】
しかし、特許文献3に記載されている補強鋼板は、圧入時の圧力に対抗して間隔を保持する間隔材(間隔保持材)が設けられているものの、間隔材は、間隔を保持するためのスペーサーであり、エリアを限定できるものではなく、エアリフトの範囲を限定して効率よくエアリフト効果により排土することは全く考慮されていなかった。
【先行技術文献】
【特許文献】
(【0011】以降は省略されています)
この特許をJ-PlatPat(特許庁公式サイト)で参照する
関連特許
株式会社熊谷組
床版
1か月前
株式会社熊谷組
床版
1か月前
個人
折り畳み式標識具
1か月前
株式会社セイトク
防雪パネル
1か月前
白出商事株式会社
縁石銘板(名板)
1か月前
北越消雪機械工業株式会社
消雪装置
1か月前
コスモテック株式会社
表示装置
23日前
株式会社パロマ
融雪装置
2日前
株式会社NIPPO
距離補正装置
1か月前
株式会社NIPPO
斜面用ローラ
1か月前
株式会社ササキコーポレーション
作業機
1か月前
株式会社NIPPO
斜面用ローラ
1か月前
株式会社 林物産発明研究所
道路安全体
10日前
株式会社NIPPO
切削用制御装置
1か月前
戸田建設株式会社
コンクリート構造
1か月前
三信工業株式会社
床版架設装置
1か月前
桑名金属工業株式会社
融雪マットおよび融雪方法
1か月前
戸田建設株式会社
鋼製ブラケットの取付装置
1か月前
戸田建設株式会社
鋼製ブラケットの取付装置
1か月前
西松建設株式会社
耐震補強方法
2日前
東亜グラウト工業株式会社
防護柵の支柱構造
1か月前
株式会社丸治コンクリート工業所
防護柵
4日前
株式会社川金コアテック
橋梁用鋼弾塑性ダンパー
18日前
西尾レントオール株式会社
コーンベット型電源装置
1か月前
株式会社NIPPO
バンク用建設機械サポータ装置
1か月前
日鉄神鋼建材株式会社
補強金具、及び支柱取付構造
1か月前
株式会社NIPPO
アスファルトスタッカ制御装置
1か月前
個人
充填剤及びそれが充填された人工芝
2日前
日立建機株式会社
転圧機械
1か月前
日鉄建材株式会社
吊り材で支持された足場用床パネル
1か月前
鹿島建設株式会社
床版架設方法
1か月前
株式会社日本コンポジット工業
壁用構造体
1か月前
オリエンタル白石株式会社
補強鋼板及び排土方法
1か月前
鹿島建設株式会社
壁高欄の施工方法
3日前
三井住友建設株式会社
床版拡幅工法
1か月前
ダンレックス株式会社
表示装置
11日前
続きを見る
他の特許を見る