TOP
|
特許
|
意匠
|
商標
特許ウォッチ
Twitter
他の特許を見る
10個以上の画像は省略されています。
公開番号
2025168754
公報種別
公開特許公報(A)
公開日
2025-11-12
出願番号
2024073478
出願日
2024-04-30
発明の名称
橋梁用鋼弾塑性ダンパー
出願人
株式会社川金コアテック
代理人
個人
主分類
E01D
19/04 20060101AFI20251105BHJP(道路,鉄道または橋りょうの建設)
要約
【課題】曲げ応力が全長に亘って均等で、上部構造の運動エネルギーを効率良く吸収することができる、橋梁用鋼弾塑性ダンパーを提供する。
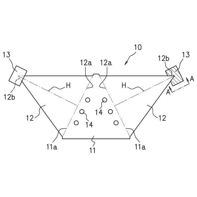
【解決手段】橋梁の上下部構造間に縦向きに設置される鋼板製のダンパー10であって、下部構造に固定され、対向する2つの側辺11a、11aが該側辺間の間隔が下部に向かうにつれて広がるように傾斜している取付けプレート11と、取付けプレート11の2つの側辺11a,11aに底辺12aが連設された平面形状が二等辺三角形からなる1対のダンパー本体12、12とを備え、ダンパー本体12、12は、上部構造の変位による水平荷重が頂角部12bの面に対しその法線方向に作用するように配置される。
【選択図】図1
特許請求の範囲
【請求項1】
橋梁の上下部構造間に縦向きに設置される鋼板製のダンパーであって、
前記下部構造に固定され、対向する2つの側辺が該側辺間の間隔が下部に向かうにつれて広がるように傾斜している取付けプレートと、
この取付けプレートの前記2つの側辺に底辺が連設された平面形状が二等辺三角形からなる1対のダンパー本体とを備え、
前記ダンパー本体は、前記上部構造の変位による水平荷重が該ダンパー本体の頂角部の面に対しその法線方向に作用するように配置されることを特徴とする橋梁用鋼弾塑性ダンパー。
続きを表示(約 430 文字)
【請求項2】
橋梁の上下部構造間に縦向きに設置される鋼板製のダンパーであって、
前記下部構造に固定される取付けプレートと、
この取付けプレートの1つの辺に底辺が連設された平面形状が二等辺三角形からなるダンパー本体とを備え、
前記ダンパー本体は、頂角の二等分線の頂角側が斜め上方を向き、かつ前記上部構造の変位による水平荷重が該ダンパー本体の頂角部の面に対しその法線方向に作用するように配置されることを特徴とする橋梁用鋼弾塑性ダンパー。
【請求項3】
前記頂角部は、前記上部構造に設けられた、前記頂角部の両面に対向する2つの載荷面を持つ載荷部に挟まれるように配置されることを特徴とする請求項1又は2記載の橋梁用鋼弾塑性ダンパー。
【請求項4】
前記ダンパー本体の頂角部には、前記載荷部の載荷面に当接する円筒面を持つ荷重受け部が設けられていることを特徴とする請求項3記載の橋梁用鋼弾塑性ダンパー。
発明の詳細な説明
【技術分野】
【0001】
この発明は、橋梁用鋼弾塑性ダンパーに関する。
続きを表示(約 1,800 文字)
【背景技術】
【0002】
従来、地震時に上部構造の振動による運動エネルギーを吸収し、減衰させる鋼板製のダンパーとして、せん断パネル型の制震ストッパーが知られている(例えば特許文献1参照)。この制震ストッパーは、低降伏点鋼板をせん断変形させることにより上部構造の運動エネルギーを吸収するものである。
【0003】
この従来のダンパーは優れたエネルギー吸収機能を発揮するが、応力の分布状態は複雑で応力集中が生じ、変位量も大きくは期待できない。また、繰返し負荷回数も多くは期待できない。さらに、このダンパーを桁間に設置される横梁によって作用させるためには、ダンパーを挟む形で2つの横梁が必要となり、設置コストが高価とならざるをえない。
【先行技術文献】
【特許文献】
【0004】
特開2007-191912
【発明の概要】
【発明が解決しようとする課題】
【0005】
この発明は上記のような技術的背景に基づいてなされたものであって、次の目的を達成するものである。
この発明の目的は、ダンパー本体に平等強さの梁として機能する形状の鋼板を使用することにより、曲げ応力が全長に亘って均等で、上部構造の運動エネルギーを効率良く吸収することができる、橋梁用鋼弾塑性ダンパーを提供することにある。
【課題を解決するための手段】
【0006】
この発明は上記課題を達成するために、次のような手段を採用している。
すなわち、この発明は、橋梁の上下部構造間に縦向きに設置される鋼板製のダンパーであって、
前記下部構造に固定され、対向する2つの側辺が該側辺間の間隔が下部に向かうにつれて広がるように傾斜している取付けプレートと、
この取付けプレートの前記2つの側辺に底辺が連設された平面形状が二等辺三角形からなる1対のダンパー本体とを備え、
前記ダンパー本体は、前記上部構造の変位による水平荷重が該ダンパー本体の頂角部の面に対しその法線方向に作用するように配置されることを特徴とする橋梁用鋼弾塑性ダンパーにある。
【0007】
ダンパー本体は取付けプレートに1対設けるに限らず、1つであってもよく、この場合、この発明は次のように特定される。
この発明は、橋梁の上下部構造間に縦向きに設置される鋼板製のダンパーであって、
前記下部構造に固定される取付けプレートと、
この取付けプレートの1つの辺に底辺が連設された平面形状が二等辺三角形からなるダンパー本体とを備え、
前記ダンパー本体は、頂角の二等分線の頂角側が斜め上方を向き、かつ前記上部構造の変位による水平荷重が該ダンパー本体の頂角部の面に対しその法線方向に作用するように配置されることを特徴とする橋梁用鋼弾塑性ダンパーにある。
【0008】
より具体的には、前記頂角部は、前記上部構造に設けられた、前記頂角部の両面に対向する2つの載荷面を持つ載荷部に挟まれるように配置される。また、前記ダンパー本体の頂角部には、前記載荷部の載荷面に当接する円筒面を持つ荷重受け部が設けられている。
【発明の効果】
【0009】
この発明によれば、ダンパー本体に平等強さの梁として機能する形状の鋼板を使用することにより、曲げ応力が全長に亘って均等で、上部構造の運動エネルギーを効率良く吸収することができる。
【図面の簡単な説明】
【0010】
この発明の実施形態を示す正面図である。
図1のA-A線矢視による図である。
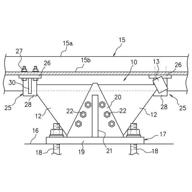
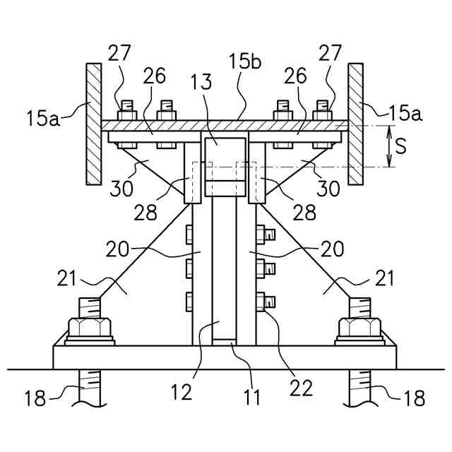
図1に示した実施形態のものを上下部構造間に設置した状態を示し、橋軸方向断面図である。
同設置状態を示す橋軸直角方向断面図である。
片持ち梁の自由端に曲げ荷重Fを加えた場合の、曲げ応力等の分布を示す図である。
矩形梁及び平等強さの梁についての荷重・変位曲線を示すグラフである。
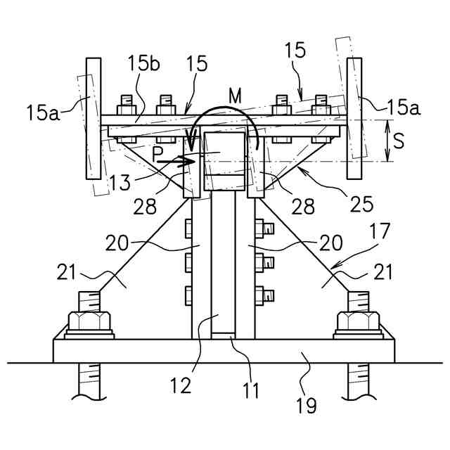
上部構造である横梁に発生する捻りを示す図である。
別の実施形態を示す正面図である。
同実施形態のものを下部構造に取り付けた状態を示し、橋軸方向に見た図である。
【発明を実施するための形態】
(【0011】以降は省略されています)
この特許をJ-PlatPat(特許庁公式サイト)で参照する
関連特許
株式会社川金コアテック
橋梁用鋼弾塑性ダンパー
5日前
株式会社熊谷組
床版
1か月前
株式会社熊谷組
床版
1か月前
白出商事株式会社
縁石銘板(名板)
1か月前
株式会社セイトク
防雪パネル
1か月前
コスモテック株式会社
表示装置
10日前
株式会社ササキコーポレーション
作業機
1か月前
株式会社NIPPO
距離補正装置
1か月前
株式会社NIPPO
斜面用ローラ
1か月前
株式会社NIPPO
斜面用ローラ
1か月前
株式会社NIPPO
切削用制御装置
1か月前
戸田建設株式会社
コンクリート構造
21日前
三信工業株式会社
床版架設装置
1か月前
桑名金属工業株式会社
融雪マットおよび融雪方法
1か月前
東亜グラウト工業株式会社
防護柵の支柱構造
1か月前
戸田建設株式会社
鋼製ブラケットの取付装置
21日前
戸田建設株式会社
鋼製ブラケットの取付装置
21日前
株式会社川金コアテック
橋梁用鋼弾塑性ダンパー
5日前
日鉄神鋼建材株式会社
補強金具、及び支柱取付構造
1か月前
株式会社NIPPO
バンク用建設機械サポータ装置
1か月前
西尾レントオール株式会社
コーンベット型電源装置
1か月前
株式会社NIPPO
アスファルトスタッカ制御装置
1か月前
日鉄建材株式会社
吊り材で支持された足場用床パネル
1か月前
鹿島建設株式会社
床版架設方法
24日前
日立建機株式会社
転圧機械
1か月前
オリエンタル白石株式会社
補強鋼板及び排土方法
1か月前
株式会社日本コンポジット工業
壁用構造体
1か月前
宮地エンジニアリング株式会社
ワイヤブリッジの設置方法
27日前
三井住友建設株式会社
床版拡幅工法
1か月前
鹿島建設株式会社
橋、および橋の製造方法
1か月前
株式会社プロテックエンジニアリング
衝撃吸収柵
1か月前
東日本旅客鉄道株式会社
横取り方法
1か月前
愛知製鋼株式会社
磁気マーカの施工方法および施工用の補助工具
11日前
オリエンタル白石株式会社
馬蹄形ジベルの合成床版撤去工法
25日前
株式会社NIPPO
スコップ加熱器
1か月前
PUMP MAN株式会社
路面成型補助部材、及び、路面成型方法
10日前
続きを見る
他の特許を見る