TOP
|
特許
|
意匠
|
商標
特許ウォッチ
Twitter
他の特許を見る
公開番号
2025153785
公報種別
公開特許公報(A)
公開日
2025-10-10
出願番号
2024056421
出願日
2024-03-29
発明の名称
床版架設装置
出願人
三信工業株式会社
代理人
個人
,
個人
主分類
E01D
21/00 20060101AFI20251002BHJP(道路,鉄道または橋りょうの建設)
要約
【課題】走行方向に沿って縦断勾配が設定された道路、橋梁において、床版を容易かつ効率的に取り換え、架設することが可能な床版架設装置を提供すること。
【解決手段】縦断勾配がある道路に床版を架設する床版架設装置100であって、走行方向前方側Fに設置される前側支持脚部10と、走行方向後方側Rに設置される後側支持脚部20と、前記前側支持脚部10、前記後側支持脚部20の上部を連結する上部支持体30と、前記上部支持体30に配置された走行レール31に沿って床版Pを前後方向に移動させる床版運搬装置40と、を備え、前記上部支持体30は、前記前側支持脚部10及び前記後側支持脚部20と回動可能な連結ピン32を介して連結され、前記前側支持脚部10及び前記後側支持脚部20が鉛直方向に設置した状態で、前記上部支持体30を縦断勾配と対応させて配置されている、ことを特徴とする。
【選択図】図1
特許請求の範囲
【請求項1】
走行方向に沿って縦断勾配が設定された道路、橋梁において、床版の取外し又は架設する床版架設装置であって、
走行方向前方側に設置され設置面から上方に延びる前側支持脚部と、
走行方向後方側に設置され設置面から上方に延びる後側支持脚部と、
前記前側支持脚部の上部と前記後側支持脚部の上部を連結し前後方向に延びる上部支持体と、
前記上部支持体に配置された走行軌道に沿って床版を前後方向に移動する床版運搬装置と、
を備え、
前記上部支持体は、前記前側支持脚部及び前記後側支持脚部が鉛直方向に設置された状態で前記縦断勾配と対応して配置されている、
ことを特徴とする床版架設装置。
続きを表示(約 330 文字)
【請求項2】
前記前側支持脚部と前記後側支持脚部の少なくともいずれかと、前記上部支持体とを回動可能に連結する回動連結部材を備えている、
ことを特徴とする請求項1に記載の床版架設装置。
【請求項3】
前記前側支持脚部と前記後側支持脚部体の少なくともいずれか一方と上記上部支持体との間に配置され、前記上部支持体を前記縦断勾配と対応する位置に調整する調整部材を備えている、
ことを特徴とする請求項1に記載の床版架設装置。
【請求項4】
前記床版運搬装置は、
前記運搬装置本体を走行軌道に沿って移動させるための動力部を備えている、
ことを特徴とする請求項1~3のいずれか一項に記載の床版架設装置。
発明の詳細な説明
【技術分野】
【0001】
本発明は、走行方向に沿って縦断勾配を有する道路等における床版の取外しや架設に用いられる床版架設装置に関する。
続きを表示(約 2,400 文字)
【背景技術】
【0002】
周知のように、例えば高速道路では路面を床版を用いて構成することが広く行われている。
また、高速道路のインターチェンジやランプ橋などは進行方向に沿って縦断勾配が設定されていることが一般的に行われており、縦断勾配に対応することが可能な種々の床版架設装置が提案されている(例えば、特許文献1参照。)。
【先行技術文献】
【特許文献】
【0003】
特開2016-166453号公報
【0004】
しかしながら、特許文献1に記載の床版架設装置は、施工に際して前側脚部と後側脚部を勾配がある設置面に設置したうえで、巻上げ機の走行レベルが水平となるように前側脚部と後側脚部の脚高を調整する必要があり、急勾配である場合には低位置側の脚部を大きく伸長する必要があるため、脚高調整いおける作業効率や架設装置の安定性確保、トラック(運搬手段)との床版の荷受けや積み込みを効率的に行うことが困難であるという問題があった。
さらに、今後、高速道路の老朽化等にともなう床版の取り換え工事の増加や工事従事者の人手不足が予想されており、床版の取り換え工事や架設工事を効率的に行うための技術が要望されている。
【発明の概要】
【発明が解決しようとする課題】
【0005】
本発明は、走行方向に沿って縦断勾配が設定された道路、橋梁において、床版を容易かつ効率的に取り換え、架設することが可能な床版架設装置を提供することを目的とする。
【課題を解決するための手段】
【0006】
本発明は、
走行方向に沿って縦断勾配が設定された道路、橋梁において、床版の取外し又は架設する床版架設装置であって、
走行方向前方側に設置され設置面から上方に延びる前側支持脚部と、
走行方向後方側に設置され設置面から上方に延びる後側支持脚部と、
前記前側支持脚部の上部と前記後側支持脚部の上部を連結し前後方向に延びる上部支持体と、
前記上部支持体に配置された走行軌道に沿って床版を前後方向に移動する床版運搬装置と、
を備え、
前記上部支持体は、前記前側支持脚部及び前記後側支持脚部が鉛直方向に設置された状態で前記縦断勾配と対応して配置されている、
ことを特徴とし、
または、
前記前側支持脚部と前記後側支持脚部の少なくともいずれかと、前記上部支持体とを回動可能に連結する回動連結部材を備えている
ことを特徴とし、
または、
前記前側支持脚部と前記後側支持脚部体の少なくともいずれか一方と上記上部支持体との間に配置され、前記上部支持体を前記縦断勾配と対応する位置に調整する調整部材を備えている、
ことを特徴とし、
または、
前記床版運搬装置は、
前記運搬装置本体を走行軌道に沿って移動させるための動力部を備えている、
ことを特徴とするものである。
【発明の効果】
【0007】
本発明に係る床版架設装置によれば、高速道路のインターチェンジやランプ橋など走行方向に沿って縦断勾配が設定された道路、橋梁において、床版を容易かつ効率的に取り換え、架設することができる。
【図面の簡単な説明】
【0008】
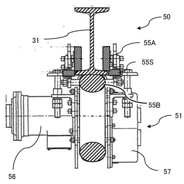
本発明の一実施形態に係る床版架設装置の概略構成を説明する正面図である。
一実施形態に係る床版架設装置の概略構成を説明する平面図である。
一実施形態に係る床版架設装置の概略構成を説明する図2に矢視IIIで示す側面から見た断面を含む概念図である。
一実施形態に係る床版架設装置の前側支持脚部、前側支持脚部の設置構造の概略構成の一例を説明する概念図である。
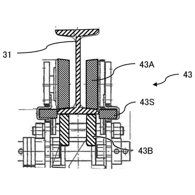
一実施形態に係る床版架設装置の連結ピン(回動連結部材)及びターンバックル(調整部材)の概略構成の一例を説明する概念図である。。
一実施形態に係る床版架設装置の床版運搬装置の一例を説明する正面から見た概念図である。
一実施形態に係る床版架設装置の走行レールと走行トロリーの取付け関係を説明する概念図である。
一実施形態に係る床版架設装置の走行レールと補助トロリー(動力部)の取付け関係を説明する概念図である。
【発明を実施するための形態】
【0009】
以下、図1~図5を参照して、本発明の一実施形態に係る床版架設装置の概略構成について説明する。
図1は、本発明の一実施形態に係る床版架設装置の概略構成を説明する正面図であり、図2は床版架設装置の概略構成を説明する平面図であり、図3は床版架設装置の概略構成を説明する図2に矢視IIIで示す側面から見た断面を含む概念図である。また、図4は一実施形態に係る床版架設装置の前側支持脚部、前側支持脚部の設置構造の概略構成の一例を説明する概念図であり、図5は床版架設装置の連結ピン(回動連結部材)及びターンバックル(調整部材)の概略構成の一例を説明する概念図である。図において、符号100は床版架設装置を、符号10は前側支持脚部を、符号20は後側支持脚部を、符号30は上部支持体を、符号40は床版運搬装置を、符号50は補助トロリー(動力部)を示している。
【0010】
床版架設装置100は、図1~図3に示すように、例えば、二本の前側支持脚部10と、後側支持脚部20と、上部支持体30と、床版運搬装置40と、を備え、走行方向Xに沿って縦断勾配が設定された道路、橋梁において、前側支持脚部10及び後側支持脚部20を鉛直方向に設置した状態で上部支持体30が縦断勾配と対応(縦断勾配に沿って)して設置され、その状態で床版Pの取外し、架設をすることが可能とされている。
(【0011】以降は省略されています)
この特許をJ-PlatPat(特許庁公式サイト)で参照する
関連特許
三信工業株式会社
床版架設装置
今日
株式会社横河ブリッジ
作業用装置、及び施工足場組立解体方法
9か月前
株式会社熊谷組
床版
1日前
株式会社熊谷組
床版
1日前
個人
折り畳み式標識具
8日前
GX株式会社
仮設防護体
1か月前
白出商事株式会社
縁石銘板(名板)
3日前
北越消雪機械工業株式会社
消雪装置
8日前
株式会社熊谷組
床版接合構造
11日前
GX株式会社
昇降式仮設防護体
21日前
株式会社NIPPO
斜面用ローラ
2日前
株式会社ササキコーポレーション
作業機
今日
株式会社NIPPO
斜面用ローラ
2日前
株式会社NIPPO
距離補正装置
1日前
株式会社NIPPO
切削用制御装置
1日前
三信工業株式会社
床版架設装置
今日
前田工繊株式会社
防護柵
23日前
桑名金属工業株式会社
融雪マットおよび融雪方法
今日
株式会社熊谷組
床版継手装置、及び、床版
11日前
東亜グラウト工業株式会社
防護柵の支柱構造
1日前
中井商工株式会社
橋梁の桁端止水工法
11日前
浅香工業株式会社
レーキ
18日前
株式会社幸和道路
自走式道路路面標示文字描画車両
29日前
日鉄神鋼建材株式会社
補強金具、及び支柱取付構造
1日前
株式会社NIPPO
アスファルトスタッカ制御装置
2日前
株式会社NIPPO
バンク用建設機械サポータ装置
2日前
日立建機株式会社
転圧機械
1日前
日鉄建材株式会社
吊り材で支持された足場用床パネル
今日
株式会社三共
足場用移動屋根装置及び橋梁用足場
1か月前
株式会社日本コンポジット工業
壁用構造体
今日
三井住友建設株式会社
床版拡幅工法
2日前
十武建設株式会社
舗装材吹付け装置、および吹付け施工方法
29日前
株式会社NIPPO
法面機械
21日前
株式会社NIPPO
コンクリートスタッカ
7日前
共和ゴム株式会社
床版敷設シール材
1か月前
株式会社栗本鐵工所
検査路及びステップ
1か月前
続きを見る
他の特許を見る