TOP
|
特許
|
意匠
|
商標
特許ウォッチ
Twitter
他の特許を見る
公開番号
2025149616
公報種別
公開特許公報(A)
公開日
2025-10-08
出願番号
2024050367
出願日
2024-03-26
発明の名称
斜面用ローラ
出願人
株式会社NIPPO
代理人
個人
主分類
E01C
19/27 20060101AFI20251001BHJP(道路,鉄道または橋りょうの建設)
要約
【課題】バンクの施工箇所により湾曲面の形状が変化しても、ローラ車輪の角度を湾曲面の形状に容易に合わせて敷き均されたアスファルト混合物を高い精度で転圧することができる斜面用ローラを提供すること。
【解決手段】斜面用ローラ10の前ローラ機構40は、前固定軸43を有する前固定部41と、前揺動車軸44と、前揺動車軸44の他端部を前ジョイント部46によって昇降可能に支持する前シリンダ45と、前ローラ車輪48と、前ジョイント部46に取り付けられ湾曲面までの距離を測定する前外側距離センサ37L、37Rと、前固定部41に取り付けられ湾曲面までの距離を測定する前内側距離センサ36L、36Rと、左右の後シリンダ45の昇降を制御する制御部30と、を備えている。
【選択図】図7
特許請求の範囲
【請求項1】
湾曲したバンクに敷き均されたアスファルト混合物を転圧して締め固める斜面用ローラであって、
車体に前記アスファルト混合物を転圧する前ローラ機構が備えられており、
前記前ローラ機構は、前記車体の前中央部に設けられ車両前後方向に延びる前固定軸を有する左右の前固定部と、左右の前記前固定部の間に設けられた前固定車軸と、前記前固定車軸に回転可能に設けられ前記アスファルト混合物を転圧する中央の前ローラ車輪と、左右の前記前固定部に取り付けられ取り付け位置から前記バンクの湾曲面までの距離を測定する左右の前内側距離センサと、前記前固定部の前記前固定軸に一端部が揺動可能に設けられた左右の前揺動車軸と、前記前揺動車軸の他端部に回動可能に接続された前ジョイント部と、前記車体に設けられ前記前揺動車軸の他端部を前記前ジョイント部によって昇降可能に支持する左右の前シリンダと、前記前揺動車軸に回転可能に設けられ前記アスファルト混合物を転圧する左右の前ローラ車輪と、前記前ジョイント部又は前記前揺動車軸の他端部に取り付けられ取り付け位置から前記バンクの湾曲面までの距離を測定する左右の前外側距離センサと、左右の前記前内側距離センサで測定された距離から前記車体と前記バンクの湾曲面との平行度を検出するとともに左右の前記前外側距離センサで測定された距離を用いて前記前ローラ車輪が前記バンクの湾曲面に沿って当接するように前記前シリンダの昇降を調節する制御部と、を備えていることを特徴とする斜面用ローラ。
続きを表示(約 1,000 文字)
【請求項2】
請求項1記載の斜面用ローラであって、
車体に前記アスファルト混合物を転圧する後ローラ機構が備えられており、
前記後ローラ機構は、前記車体に設けられ車両前後方向に延びる後固定軸を有する後固定部と、前記後固定部の前記後固定軸に一端部が揺動可能に設けられた後揺動車軸と、前記後揺動車軸の他端部に回動可能に接続された後ジョイント部と、前記車体に設けられ前記後揺動車軸の他端部を前記後ジョイント部によって昇降可能に支持する後シリンダと、前記後揺動車軸に回転可能に設けられ前記アスファルト混合物を転圧する後ローラ車輪と、前記後ジョイント部又は前記後揺動車軸の他端部に取り付けられ取り付け位置から前記バンクの湾曲面までの距離を測定する後外側距離センサと、前記後外側距離センサで測定された距離を用いて前記後ローラ車輪が前記バンクの湾曲面に沿って当接するように後シリンダの昇降を調節する前記制御部と、を備えていることを特徴とする斜面用ローラ。
【請求項3】
請求項2記載の斜面用ローラであって、
前記後ローラ機構は、前記車体に取り付けられ取り付け位置から前記バンクの湾曲面までの距離を測定する後内側距離センサを備え、
前記制御部は、前記後内側距離センサで測定された距離を用いて前記後ローラ車輪が前記バンクの湾曲面に沿って当接するように後シリンダの昇降を調節することを特徴とする斜面用ローラ。
【請求項4】
請求項2記載の斜面用ローラであって、
前記バンクは、進行方向に沿った所定の間隔毎に測点が設けられており、
前記制御部は、前記測点毎に前記前シリンダ及び前記後シリンダの少なくとも一方の昇降を調節することを特徴とする斜面用ローラ。
【請求項5】
請求項2記載の斜面用ローラであって、
前記制御部は、所定の時間経過毎に前記前シリンダ及び前記後シリンダの少なくとも一方の昇降を調節することを特徴とする斜面用ローラ。
【請求項6】
請求項2記載の斜面用ローラであって、
前記後ローラ機構は、前記車体の車幅方向中心に前記後固定部を備え、
前記後固定部の下端部から車幅の左右方向にそれぞれ前記後揺動車軸を備え、それぞれの前記後揺動車軸に2つの前記後ローラ車輪が回転可能に設けられていることを特徴とする斜面用ローラ。
発明の詳細な説明
【技術分野】
【0001】
本発明は、湾曲したバンクに敷き均されたアスファルト混合物を転圧して締め固める斜面用ローラに関するものである。
続きを表示(約 2,000 文字)
【背景技術】
【0002】
従来、アスファルト舗装の道路等のなかには、一般の自動車が走行する高速道路や一般道の他に、自動車のレースを行うサーキットや自動車の性能試験を行うテストコースがある。サーキットやテストコースには、水平な走路だけでなく、速いスピードで走行するカーブ部分にカーブの内側へ傾斜したバンク(斜面)が形成されている。
【0003】
バンクを舗装する施工方法として、バンクの天端を走行するバンク用フィニッシャサポータが、ワイヤロープを介してバンクを走行するバンク用アスファルトフィニッシャを吊り下げながら並走してバンクにアスファルト混合物を敷き均す方法がある。このようなバンクを舗装する施工技術として、特許文献1の技術が知られている。
【0004】
特許文献1のバンクを舗装する施工技術は、バンクの天端に設けられたウインチトラクタ(バンク用フィニシャサポータ)によりバンクに水平に吊り下げられたビームに、ビームに沿って移動するホイストを介してバンクを走路が延びる方向に走行するアスファルトフィニッシャと転圧ローラをそれぞれ吊り下げ、アスファルトフィニッシャと転圧ローラをホイストとともに移動させながらアスファルト混合物をアスファルトフィニッシャに供給してバンクに敷き均すものである。
【0005】
ところで、カーブ部分等のバンクは進行方向に沿った所定の間隔毎に測点が設けられており、測点の位置によって湾曲の半径が変化して湾曲形状が徐々に変わるように形成されている。この測点の位置とバンクの高さ位置とによる施工箇所に応じて、走路に沿って進むローラ車輪の幅方向の角度も湾曲面の形状に一致するように調整する必要がある。車幅方向のバンクの湾曲に対応して転圧するために、車幅方向に幅の狭いローラ車輪を複数備えた転圧ローラが使用される。このような車幅方向に幅の狭いローラ車輪を複数備えた転圧ローラとして特許文献2の技術が知られている。
【0006】
特許文献2の転圧ローラは、転圧機械としてのタイヤローラであり、車体と、フレームと、エンジン等を覆うカバーとを備えている。車体の前部側に回転可能に設けられた前転圧ローラを備え、当該前転圧ローラは、左右方向に延びる1本の前車軸に取付けられた3個のゴムタイヤによって構成され、ハンドルを操作することにより左右方向に旋回する。車体の後部側に回転可能に後転圧ローラが設けられ、当該後転圧ローラは、左右方向に延びる2本の後車軸にそれぞれ2個ずつ取付けられた合計4個のゴムタイヤによって構成されている。後転圧ローラの各後車軸は、フレームの後部側に配設された走行用油圧モータにプロペラシャフトを介して接続され、後転圧ローラは、走行用油圧モータによって前進、後進の回転駆動がなされる。
【0007】
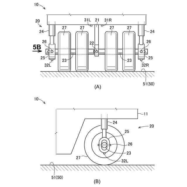
一般的に、バンクの湾曲部を転圧する場合、図6(A)に示されるように、比較例の斜面用ローラ100は、車体101の中央に設けられた後固定部105と車体101の左右端に設けられた後シリンダ106との間に左右方向に延びる2本の後車軸103を設け、2本の後輪軸103にそれぞれ2個ずつ取付けられた合計4個の後ローラ車輪102でバンク51の湾曲面を転圧する。後固定部105にジョイント108を介して後車軸103の一端が揺動可能に設けられ、後シリンダ106のピストンの下端に後支持軸107を介して後車軸103の他端が回転可能に設けられ、後シリンダ106を昇降させることで後ローラ車輪102の角度を湾曲面の形状に一致させる。
【0008】
しかし、後シリンダ106の昇降の調整は手動で行われているため、斜面用ローラ100を前進させながら測点の位置により形状が変化する湾曲面に合わせて、後ローラ車輪102の角度を一致させることは難しい。また、2本の後輪軸103にそれぞれ2個ずつ後ローラ車輪102が設けられているため、角度変更は後ローラ車輪102を2個分単位でしか変更できず、湾曲面の半径が小さい場合は後ローラ車輪102とバンク51との間に隙間109が生じ、そのまま転圧すると路面にいわゆるローラマークができてしまう。
【先行技術文献】
【特許文献】
【0009】
特開昭57-92204号公報
特開2005-256477号公報
【発明の概要】
【発明が解決しようとする課題】
【0010】
本発明は、以上の点に鑑み、バンクの施工箇所により湾曲面の形状が変化しても、ローラ車輪の角度を湾曲面の形状に容易に合わせて敷き均されたアスファルト混合物を高い精度で転圧することができる斜面用ローラを提供することを課題とする。
【課題を解決するための手段】
(【0011】以降は省略されています)
この特許をJ-PlatPat(特許庁公式サイト)で参照する
関連特許
株式会社熊谷組
床版
29日前
株式会社熊谷組
床版
29日前
株式会社セイトク
防雪パネル
21日前
コスモテック株式会社
表示装置
今日
株式会社ササキコーポレーション
作業機
28日前
戸田建設株式会社
コンクリート構造
11日前
三信工業株式会社
床版架設装置
28日前
桑名金属工業株式会社
融雪マットおよび融雪方法
28日前
戸田建設株式会社
鋼製ブラケットの取付装置
11日前
戸田建設株式会社
鋼製ブラケットの取付装置
11日前
西尾レントオール株式会社
コーンベット型電源装置
23日前
鹿島建設株式会社
床版架設方法
14日前
日鉄建材株式会社
吊り材で支持された足場用床パネル
28日前
日立建機株式会社
転圧機械
29日前
株式会社日本コンポジット工業
壁用構造体
28日前
オリエンタル白石株式会社
補強鋼板及び排土方法
21日前
宮地エンジニアリング株式会社
ワイヤブリッジの設置方法
17日前
株式会社プロテックエンジニアリング
衝撃吸収柵
24日前
鹿島建設株式会社
橋、および橋の製造方法
22日前
愛知製鋼株式会社
磁気マーカの施工方法および施工用の補助工具
1日前
株式会社NIPPO
スコップ加熱器
28日前
オリエンタル白石株式会社
馬蹄形ジベルの合成床版撤去工法
15日前
PUMP MAN株式会社
路面成型補助部材、及び、路面成型方法
今日
株式会社NIPPO
土壌改質材及びそれを含む土壌
29日前
日本製鉄株式会社
橋脚構造
28日前
三井住友建設株式会社
床版揚重装置及び床版工事設備
10日前
株式会社安藤・間
橋梁健全度評価システム
14日前
株式会社ミライト・ワン
ボラード
16日前
大成建設株式会社
仮設鋼床版および床版取替工法
3日前
株式会社大林組
シート部材及び、施工方法
3日前
積水化学工業株式会社
鉄道用枕木、及び鉄道用枕木の製造方法
29日前
朝日エンヂニヤリング株式会社
主桁連続化剛結合構造
16日前
ジェコス株式会社
締結式覆工板の損傷防止装置及び当該装置を備えた覆工板
21日前
清水建設株式会社
桁と床版との接合構造、及び桁と床版との接合方法
8日前
河野建設株式会社
汚泥回収方法及び汚泥回収システム
24日前
株式会社ドラミカンパニー
改良地盤及びその施工方法
22日前
続きを見る
他の特許を見る