TOP
|
特許
|
意匠
|
商標
特許ウォッチ
Twitter
他の特許を見る
10個以上の画像は省略されています。
公開番号
2025159795
公報種別
公開特許公報(A)
公開日
2025-10-22
出願番号
2024062557
出願日
2024-04-09
発明の名称
ボラード
出願人
株式会社ミライト・ワン
,
株式会社風憩セコロ
,
積水樹脂株式会社
代理人
個人
主分類
E01F
13/02 20060101AFI20251015BHJP(道路,鉄道または橋りょうの建設)
要約
【課題】芯材の仕様に自由度が高く、既存のボラードの芯材としての利用を容易にするボラードを提供する。
【解決手段】芯材1と1対の枠材2A,2Bとバンド金具3と固定部材4とを有する。芯材1は細長い形状を有して地面に立設されている。1対の枠材2A,2Bは芯材1の側部を挟む。バンド金具3は各枠材2A,2Bとの間で芯材1を挟んで各枠材2A,2Bに固定部材4により着脱可能に取り付けられている。1対の枠材2A,2Bは互いに側方に間隙をあけて配置され、間隙から外側に間接光を拡散させる照明装置が枠材2A,2Bの内側に設けられている。照明装置は光源と反射板とを有する。光源は反射板に取り付けられ、反射板は間隙から外側に光源の間接光を拡散させるよう枠材2A,2Bの内側に取り付けられている。
【選択図】図1
特許請求の範囲
【請求項1】
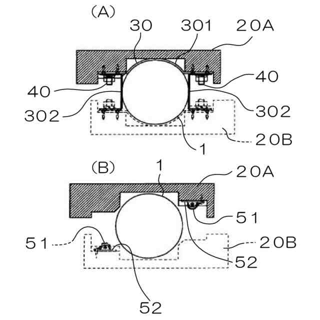
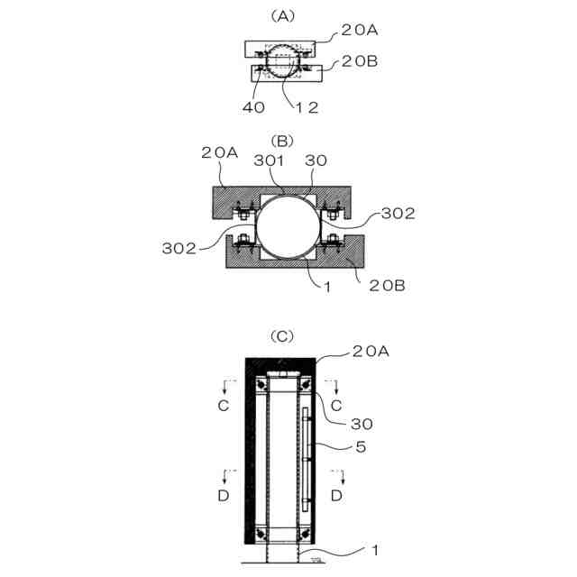
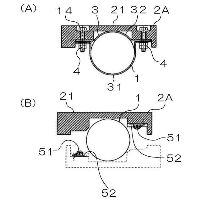
芯材と1対の枠材とバンド金具と固定部材とを有し、
前記芯材は細長い形状を有して地面に立設され、
前記1対の枠材は前記芯材の側部を挟み、
前記バンド金具は各枠材との間で前記芯材を挟んで各枠材に前記固定部材により着脱可能に取り付けられていることを、
特徴とするボラード。
続きを表示(約 600 文字)
【請求項2】
前記1対の枠材は互いに側方に間隙をあけて配置され、前記間隙から外側に間接光を拡散させる照明装置が前記枠材の内側に設けられていることを、特徴とする請求項1記載のボラード。
【請求項3】
前記照明装置は光源と反射板とを有し、前記光源は前記反射板に取り付けられ、前記反射板は前記間隙から外側に前記光源の間接光を拡散させるよう前記枠材の内側に取り付けられていることを、特徴とする請求項2記載のボラード。
【請求項4】
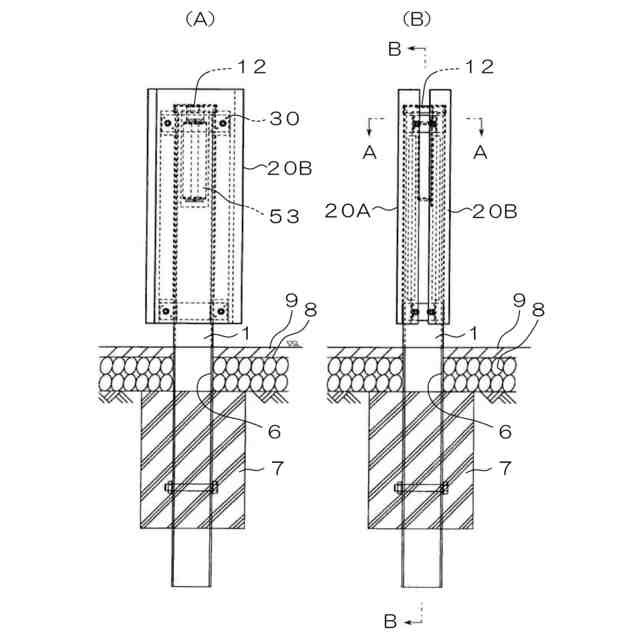
前記芯材は本体と蓋とを有し、前記本体は内部に収容部を有し、前記蓋は前記本体の上部に前記収容部を開閉可能に設けられ、前記枠材は枠側部と枠上部とを有し、前記枠側部は前記本体の側部に沿って設けられ、前記枠上部は前記蓋の上面の一部を覆うよう設けられ、前記枠材および前記バンド金具は前記固定部材を緩めた状態で前記芯材から上方に取外し可能に設けられ、前記光源は電力で駆動され、前記光源を駆動するための光源ドライバが前記蓋の下部に取り付けられて前記収容部に収容されていることを、特徴とする請求項3記載のボラード。
【請求項5】
さや管を有し、前記さや管は管状であって少なくとも下部が地中に設けられ上部に挿入口を有し、前記芯材は下端が前記挿入口に着脱可能に挿入されていることを、特徴とする請求項1,2,3または4記載のボラード。
発明の詳細な説明
【技術分野】
【0001】
本発明は、車両の進入を防ぐために用いられるボラードに関する。
続きを表示(約 1,400 文字)
【背景技術】
【0002】
従来のボラードとして、車等の衝突によって破損しても、支柱全体を交換する必要をなくすため、地中に垂直に取り付けられる柱状車止め本体(芯材)と、前記車止め本体の周囲に個別に着脱可能に取り付けられる複数片のカバーとからなるものが開示されている(例えば、特許文献1参照)。
【先行技術文献】
【特許文献】
【0003】
特開平9-302633号公報
【発明の概要】
【発明が解決しようとする課題】
【0004】
しかしながら、特許文献1に記載のボラードでは、カバーが芯材にボルトで固定され、芯材にボルト孔を形成する必要があるため、芯材の仕様に制限を受け、既存のボラードを芯材として用いにくいという課題があった。
【0005】
本発明は、このような課題に着目してなされたもので、芯材の仕様に自由度が高く、既存のボラードの芯材としての利用を容易にするボラードを提供することを目的とする。
【課題を解決するための手段】
【0006】
上記目的を達成するために、本発明に係るボラードは、芯材と1対の枠材とバンド金具と固定部材とを有し、前記芯材は細長い形状を有して地面に立設され、前記1対の枠材は前記芯材の側部を挟み、前記バンド金具は各枠材との間で前記芯材を挟んで各枠材に前記固定部材により着脱可能に取り付けられていることを、特徴とする。
【0007】
本発明に係るボラードは、1対の枠材が互いに芯材の側部を挟み、バンド金具が各枠材との間で芯材を挟んで各枠材に固定部材により着脱可能に取り付けられており、芯材に枠材を固定するための仕様を必要としないため、芯材の仕様に自由度が高く、既存のボラードを芯材として利用することも容易にできる。
【0008】
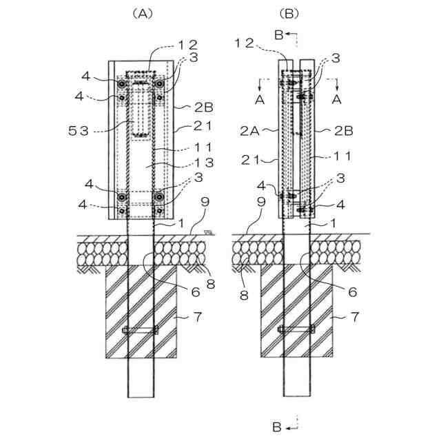
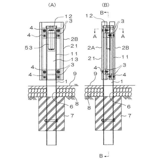
本発明に係るボラードにおいて、前記1対の枠材は互いに側方に間隙をあけて配置され、前記間隙から外側に間接光を拡散させる照明装置が前記枠材の内側に設けられていることが好ましい。
この場合、間接照明装置として利用することができ、街灯またはオブジェとして活用することもできる。また、照明装置により夜間の視認性を向上させることができる。
【0009】
本発明に係るボラードにおいて、前記照明装置は光源と反射板とを有し、前記光源は前記反射板に取り付けられ、前記反射板は前記間隙から外側に前記光源の間接光を拡散させるよう前記枠材の内側に取り付けられていることが好ましい。
この場合、照明装置の光源は反射板に取り付けられ、反射板を介して枠材に取り付けられているので、車両が衝突したとき、光源が飛散しにくく、安全性が高められている。また、反射板により照度を向上させることができる。
【0010】
本発明に係るボラードにおいて、前記芯材は本体と蓋とを有し、前記本体は内部に収容部を有し、前記蓋は前記本体の上部に前記収容部を開閉可能に設けられ、前記枠材は枠側部と枠上部とを有し、前記枠側部は前記本体の側部に沿って設けられ、前記枠上部は前記蓋の上面の一部を覆うよう設けられ、前記枠材および前記バンド金具は前記固定部材を緩めた状態で前記芯材から上方に取外し可能に設けられ、前記光源は電力で駆動され、前記光源を駆動するための光源ドライバが前記蓋の下部に取り付けられて前記収容部に収容されていることが好ましい。
(【0011】以降は省略されています)
この特許をJ-PlatPat(特許庁公式サイト)で参照する
関連特許
株式会社セイトク
防雪パネル
1か月前
コスモテック株式会社
表示装置
9日前
株式会社ササキコーポレーション
作業機
1か月前
戸田建設株式会社
コンクリート構造
20日前
三信工業株式会社
床版架設装置
1か月前
桑名金属工業株式会社
融雪マットおよび融雪方法
1か月前
戸田建設株式会社
鋼製ブラケットの取付装置
20日前
戸田建設株式会社
鋼製ブラケットの取付装置
20日前
株式会社川金コアテック
橋梁用鋼弾塑性ダンパー
4日前
西尾レントオール株式会社
コーンベット型電源装置
1か月前
日立建機株式会社
転圧機械
1か月前
日鉄建材株式会社
吊り材で支持された足場用床パネル
1か月前
鹿島建設株式会社
床版架設方法
23日前
株式会社日本コンポジット工業
壁用構造体
1か月前
オリエンタル白石株式会社
補強鋼板及び排土方法
1か月前
宮地エンジニアリング株式会社
ワイヤブリッジの設置方法
26日前
株式会社プロテックエンジニアリング
衝撃吸収柵
1か月前
鹿島建設株式会社
橋、および橋の製造方法
1か月前
愛知製鋼株式会社
磁気マーカの施工方法および施工用の補助工具
10日前
株式会社NIPPO
スコップ加熱器
1か月前
オリエンタル白石株式会社
馬蹄形ジベルの合成床版撤去工法
24日前
PUMP MAN株式会社
路面成型補助部材、及び、路面成型方法
9日前
株式会社NIPPO
土壌改質材及びそれを含む土壌
1か月前
日本製鉄株式会社
橋脚構造
1か月前
株式会社ミライト・ワン
ボラード
25日前
三井住友建設株式会社
床版揚重装置及び床版工事設備
19日前
株式会社安藤・間
橋梁健全度評価システム
23日前
株式会社大林組
シート部材及び、施工方法
12日前
大成建設株式会社
仮設鋼床版および床版取替工法
12日前
ジェコス株式会社
締結式覆工板の損傷防止装置及び当該装置を備えた覆工板
1か月前
清水建設株式会社
桁と床版との接合構造、及び桁と床版との接合方法
17日前
朝日エンヂニヤリング株式会社
主桁連続化剛結合構造
25日前
河野建設株式会社
汚泥回収方法及び汚泥回収システム
1か月前
ノリタケ株式会社
電動式コンクリートカッター
4日前
株式会社ドラミカンパニー
改良地盤及びその施工方法
1か月前
鹿島道路株式会社
アスファルト混合物の製造方法
18日前
続きを見る
他の特許を見る